Лента технологий за 20/03/2017, Понедельник - Filebox.ru  Программы | Новости | ТОП-100 программ | Статьи

Лента технологий за 20/03/2017, Понедельник - Filebox.ru

Лента технологий | Подборка за 20 марта 2017 г. 00:00:00

/20 мар, 22:50/ автор: Dexter (iXBT.com) сайт: www.ixbt.com

Выпущенный за пять лет тиражом более 12,5 миллионов экземпляров одноплатный компьютер Raspberry Pi, вне всяких сомнений, оказался очень популярным решением на рынке компьютерных платформ общего назначения. И несмотря на то, что в сравнении с другими платформами, Mac и PC, цифры продаж выглядят мизерными, создатель микрокомпьютера Эбен Аптон (Eben Upton) счел Raspberry Pi третьей платформой по популярности в мире. Как так получилось?

Raspberry Pi: за пять лет продано свыше 12,5 миллионов этих одноплатных компьютеров

Все просто, Аптон сравнивает продажи Raspberry Pi с продажами другого популярного в свое время компьютера — Commodore 64. В своих подсчетах создатель Raspberry Pi опирается на исследование Майкла Стейла (Michael Steil), который счел, что за 11,5 лет время было выпущено именно 12,5 млн Commodore 64. Увы, это лишь одна из теорий, согласно другим источникам объем выпуска Commodore 64 был заметно больше — от 17 до 30 миллионов. При желании Аптона, конечно, можно уличить в манипулировании данными, однако в год пятилетия устройства такая вольность создателю Raspberry Pi вполне простительна. К тому же успех Raspberry Pi трудно отрицать, ведь изначально планировалось выпустить всего от 10 (!) до 20 тысяч штук этих микрокомпьютеров.

Одновременно с этим на сайте компании была опубликована интересная статистика по продажам конкретных моделей Raspberry Pi. В ней обращает на себя внимание Raspberry Zero W — новейшая модель, дебютировавшая всего пару недель назад. Как отметил сам Аптон, всего за четыре дня продажи Pi Zero W достигли 100 000 штук, что автоматически делает эту модификацию одной из самых коммерчески успешных.

Разные модели Raspberry Pi в структуре продаж

Но первое место в структуре продаж закрепила за собой модель Raspberry Pi 3B — на нее приходится почти треть спроса. А суммарные продажи Raspberry Pi 3 и Raspberry Pi 2 составляют больше половины от всего объема реализованных микрокомпьютеров.

Источник: Raspberry Pi

/20 мар, 21:20/ автор: Jin (iXBT.com) сайт: www.ixbt.com

После многочисленных утечек и подтверждений факта существования голосового помощника Bixby его анонс был лишь вопросом времени. Сегодня Samsung подтвердила, что новый персональный помощник Bixby дебютирует в смартфоне Samsung Galaxy S8.

По задумке Samsung, Bixby должен составить достойную конкуренцию Apple Siri и Google Assistant. При этом разработчики заявляют, что Bixby — это не просто система, которая может ответить на ряд вопросов и выполнить различные задачи, это полноценный голосовой интерфейс для управления всеми приложениями. Bixby совмещает технологии искусственного интеллекта и систему глубокого обучения. Samsung утверждает, что Bixby предложит новые пользовательские впечатления, которые будут отличаться от всего, что доступно в этом сегменте на рынке.

«Вовсе не пользователи должны подстраиваться под то, как работает голосовой помощник. Это компьютерная система должна обучаться и подстраиваться под наши потребности, — заявляет старший вице-президент Samsung ИнДжонг Ри (InJong Rhee). — Интерфейс должен быть простым и интуитивным, чтобы процесс обучения был максимально быстрым, независимо от количества новых функций».

Мы уже привыкли, что возможности голосовых помощников сильно ограничены, однако Bixby позволит голосом делать все то, что вы можете сделать пальцем при помощи сенсорного дисплея. Новый помощник будет знать, в каком состоянии находится приложение и в каком контексте дается та или иная команда, чтобы среагировать на запрос как можно точнее. Кроме того, вы можете в любой момент совмещать голосовые команды и сенсорное управление, чтобы довести начатый запрос до конца.

Наконец, Samsung утверждает, что Bixby сможет распознавать неполные команды или фразы, включающие необычные слова. Это должно сделать процесс управления смартфоном при помощи Bixby действительно более естественным и интуитивным.

Samsung представила голосовой помощник Bixby, который впервые появится в Samsung Galaxy S8

Samsung не уточнила, на базе какой технологии был создан Bixby. Все подробности будут обнародованы одновременно с анонсом Samsung Galaxy S8, который запланирован на 29 марта.

/20 мар, 19:22/ автор: MPAK (iXBT.com) сайт: www.ixbt.com

Первая информация об умных часах ZTE Quartz появилась в феврале. Тогда сообщалось, что устройство будет работать под управлением Android Wear 2.0.

Появились фотографии часов ZTE Quartz

Опубликованное тогда единственное изображение оказалось настоящим, что подтверждает множество «живых» фото устройства.

Появились фотографии часов ZTE Quartz

Появились фотографии часов ZTE Quartz

Появились фотографии часов ZTE Quartz

О часах известно, что они располагают модемом 3G и лишены модуля NFC. О параметрах данных нет, но это вряд ли имеет особое значение, так как большинство часов с Android Wear очень похожи по характеристикам.

/20 мар, 19:14/ автор: MPAK (iXBT.com) сайт: www.ixbt.com

Несмотря на то, что зарядные устройства для многих смартфонов характеризуются весьма скромными показателями напряжения и силы тока, не стоит использовать подключённый к ЗУ смартфон, находясь в воде.

Англичанин Ричард Булл (Richard Bull), по каким-то причинам, решил, что подключённый к зарядному устройству посредством удлинителя iPhone вполне безопасен, чтобы можно было купаться с ним в ванне. Однако история закончилась трагично: Булл погиб от удара током. Нашедшая его жена сначала подумала, что на её мужа напали, так как ожоги тела были очень велики.

Не стоит заряжать смартфон, принимая с ним ванну

Коронер, расследующий дело, отметил, что Apple (и прочие компании) должна предупреждать пользователей об опасности такого сценария использования смартфонов, так как многие пользователи считают, что смартфон является безопасным. Он отметил, что позже отправит Apple соответствующий отчёт.

/20 мар, 18:40/ автор: MPAK (iXBT.com) сайт: www.ixbt.com

В конце прошлого года компания Hankook Mirae Technology показала своё новое детище — робота Method-2. Мех высотой 4 м и массой порядка 1,5 т должен появиться в продаже в конце нынешнего года по цене более 8 млн долларов.

Amazon может быть заинтересована роботами Method-2

Возможно, первым покупателем роботов станет компания Amazon. По крайней мере, на конференции MARS глава компании Джефф Безос (Jeff Bezos) появился на сцене внутри такого робота. Короткое видео демонстрирует, что Method-2 действительно работает.

Хотя отсутствие движений ног и цепи, страхующие робота, скорее всего, указывают на то, что данный экземпляр был ещё далеко не серийным. Также можно заметить задержку между движениями рук оператора робота и манипуляторов самого стального гиганта. Для каких целей такие роботы могут понадобиться Amazon, пока неясно.

/20 мар, 18:14/ автор: MPAK (iXBT.com) сайт: www.ixbt.com

В своё время история с Apple и её попыткой наделить свои смартфоны сапфировыми стёклами наделала много шума. С тех пор ни один производитель пока так и не решился использовать такой материал для защиты экранов своих смартфонов в массовом порядке.

Но некоторые компании создают ограниченные издания того или иного аппарата, выделяющиеся именно сапфировым стеклом. Одним из таких стал и смартфон HTC U Ultra. Ещё во время анонса было известно, что появится версия с сапфировым стеклом, но подробностей о ней не было.

HTC U Ultra с сапфировым стеклом оценили в 920 долларов

Такую модификацию теперь можно купить. Правда, пока лишь в Тайване. За смартфон придётся отдать 920 долларов, что ненамного дороже обычной модели, учитывая, что «новинка» оснащена 128 ГБ флэш-памяти.

HTC U Ultra с сапфировым стеклом оценили в 920 долларов

Более того, в комплекте с устройством поставляются кожаный чехол, внешний аккумулятор и брелок. Никаких отличий в конфигурации у такого смартфона нет.

/20 мар, 18:01/ автор: MPAK (iXBT.com) сайт: www.ixbt.com

Компанию Uber покинул её президент — Джефф Джонс (Jeff Jones), являющийся специалистом по маркетингу.

Нанятый всего семь месяцев назад, Джонс должен был помочь Uber создать правильный образ компании. По словам самого Джонса, он присоединился к Uber для создания глобальных возможностей, которые помогли бы компании стать зрелой и процветать в долгосрочной перспективе.

Uber покинул Гари Маркус

«Однако убеждения и подход к работе высшего руководства Uber, которое являлось моим прямым начальством, оказались несовместимы с тем, что я увидел и пережил в компании. Из-за этого я больше не могу продолжать работать в Uber в качестве президента», — цитирует Джонса источник.

Кроме того, до конца месяца Uber лишится ещё и вице-президента по картам и бизнес-платформе Брайана МакКлендона (Brian McClendon). Учитывая недавний скандал, связанный с сексуальными домогательствами, а также судебную тяжбу с Alphabet, все эти события могут не лучшим образом сказаться на Uber.

/20 мар, 17:22/ автор: Accent (iXBT.com) сайт: www.ixbt.com

Как мы уже сообщали, в будущем году TSMC решит, строить полупроводниковое производство в США или нет. Ссылаясь на публикацию издания Economic Daily News, источник утверждает, что этому предприятию, где бы оно ни было построено, предстоит выпускать продукцию по нормам 3 нм.

По словам TSMC, приоритетным местом для размещения новой фабрики является Тайвань

По словам TSMC, приоритетным местом для размещения новой фабрики является Тайвань. Производитель даже обратился к государству с просьбой о помощи в приобретении земельного участка. Министерство науки и технологии пообещало выделить участок в технопарке на юге острова. Однако его природоохранная оценка может быть не готова к 2022 году, когда в TSMC планируют начать выпуск 3-нанометровой продукции, так что производитель начал рассматривать другие варианты.

Размещение предприятия на юге Тайваня осложняется загрязненностью воздуха и недостатком электричества в этом регионе.

Напомним, инвестиции в предприятие оцениваются в примерно 16,4 млрд долларов.

Источник: Digitimes

/20 мар, 16:50/ автор: MPAK (iXBT.com) сайт: www.ixbt.com

Смартфоны Nubia Z17 и Z17 Mini, анонс которых ожидается уже завтра, появились на сайте TENAA, что позволяет узнать большую часть их параметров. Нужно уточнить, что такие имена дают устройствам тематические ресурсы, тогда как у TENAA показаны лишь каталожные номера.

Модель Nubia Z17 (NX551J) получит тонкий (7,3 мм) металлический корпус и сдвоенную основную камеру. Уложенные определённым образом пластиковые вставки для антенн в итоге делают устройство похожим на iPhone 7 Plus.

Стали известны параметры смартфонов Nubia Z17

С детищем Apple новинку ZTE, а именно ей принадлежит бренд Nubia, роднит и дисплей Full HD диагональю 5,5 дюйма, разве что тут будет панель OLED. Сердцем выступит некая восьмиядерная SoC. Также смартфон получит 4 ГБ ОЗУ и 64 ГБ флэш-памяти. В основной камере используется два 13-мегапиксельных модуля, тогда как разрешение фронтальной камеры — 16 Мп. Ёмкость аккумулятора якобы составит 3560 мА·ч.

Стали известны параметры смартфонов Nubia Z17

Что касается второй модели, то в название Nubia Z17 Mini верится с трудом, так как у неё такой же дисплей диагональю 5,5 дюйма. Разрешение, правда, составляет всего 1280 х 720 пикселей. Также сообщается об аккумуляторе ёмкостью 2900 мА·ч.

/20 мар, 15:23/ автор: MPAK (iXBT.com) сайт: www.ixbt.com

Рынок умных часов оценили специалисты CCS Insight. Согласно прогнозам аналитиков, по итогам текущего года в мире будет реализовано 43 млн таких устройств. В 2021 году продажи достигнут 86 млн.

Любопытно то, что один из аналитиков компании считает модель Apple Watch первопроходцем данной категории, хотя эти часы уж точно не были первыми в своём классе. Также источник отмечает рост продаж спортивных умных часов компаний Garmin, Polar и прочих. Их пример заставил другие компании активнее добавлять в свои устройства функции и технологии, связанные со спортом.

Кроме того, отчёт содержит очередное доказательство того, что долгосрочные (а порой и не только) прогнозы на рынке IT — дело часто неблагодарное. Не предоставляя никаких цифр, аналитики говорят, что ошиблись с оценкой влияния сегмента гибридных умных часов и продажи таких устройств будут значительно ниже, чем ранее предполагалось.

Аналитики CCS Insight сделали прогноз по рынку носимой электроники на 2021 год

Из иконографики источника можно увидеть, что в текущем году аналитики ожидают 96 млн проданных устройств сегмента носимой электроники на сумму 10,8 млрд долларов. К 2021 году соответствующие показатели составят 185 млн и 16,9 млрд долларов.

Из этих 185 млн устройств будет 54 млн умных браслетов, 86 млн умных часов, 11 млн умных наушников, 21 млн носимых умных камер, 8 млн пар умной обуви, 2 млн умных очков и 2 млн различных умных перстней, клипс и прочих подобных устройств.

/20 мар, 13:57/ автор: Jin (iXBT.com) сайт: www.ixbt.com

Томислав Химбеле (Tomislav Himbele), который возглавляет отдел маркетинга компании HMD Global в Восточной Европе, дал интервью хорватскому изданию Bug.hr.

Томислав отвечает за выпуск продукции HMD Global в 33 странах региона, включая Россию. Он заявил, что анонсированные на Mobile World Congress новые устройства Nokia поступят в продажу в Европе во второй половине второго квартала 2017. То есть появления их в магазинах стоит ожидать не раньше конца мая.

Он также добавил, что цены на новинки Nokia в разных странах будут отличаться из-за разных ставок НДС.

Nokia планирует вернуться в тройку лидеров рынка

Однако наиболее интересное заявление Томислав Химбеле сделал, отвечая на вопрос о том, где видит себя HMD Global через три года. Он заявил, что HMD Global планирует вернуть Nokia в тройку самых успешных производителей на рынке мобильных телефонов и смартфонов: «Мы опередим Apple, Samsung или Huawei...или все три компании».

/20 мар, 13:36/ автор: Jin (iXBT.com) сайт: www.ixbt.com

В конце прошлого года появилась информация о закрытии компании Cyanogen и переименовании проекта CyanogenMod в Lineage OS.

Как стало известно, в данный момент оболочка LineageOS установлена более чем на миллион смартфонов, которые работают под управлением операционной системой Android. Около месяца назад разработчики отчитались о преодолении отметки 500 тыс. установок.

Первое место в рейтинге самых популярных устройств удерживает OnePlus One, следом идут OnePlus 3, OnePlus 3T, Samsung Galaxy S III и Xiaomi Redmi Note 3.

Более миллиона владельцев смартфонов установили LineageOS

Если говорить о популярности LineageOS в различных странах мира, то лидируют Индия, Китай и США.

/20 мар, 13:22/ автор: Jin (iXBT.com) сайт: www.ixbt.com

В прошлом году вокруг Apple развернулся скандал, связанный с крошечной ставкой налога, который компания платила в течение 10 лет на территории Ирландии.

Как выясняется, похожая ситуация сложилась и в Новой Зеландии, где суммарные продажи устройств за последние 10 лет составили около 4,2 млрд долларов. Один из основателей Партии зеленых (Green Party United States) Джеймс Шоу (James Shaw) заявил, что все это время компания не оплачивала налоги в Новой Зеландии.

«Я не могу понять, каким образом Applе все это время не платила налоги в стране, — заявил он. — Мне действительно нравится продукция Apple, она по-настоящему инновационна. Однако, похоже, что юристы Applе являются еще более инновационными, чем дизайнеры компании».

Apple обвиняют в неуплате налогов в Новой Зеландии за 10 лет при обороте $4,2 млрд

В ходе расследования всплыла единоразовая выплата подоходного налога в размере 37 млн долларов, которая на самом деле была перенаправлена в налоговое управление Австралии. Если бы Apple платила в Новой Зеландии налог по той же схеме, по которой она работает в других странах мира, то компания должна была заплатить 356 млн долларов за последние 10 лет.

/20 мар, 12:46/ автор: Jin (iXBT.com) сайт: www.ixbt.com

Компания Fallible, которая специализируется на сетевой безопасности, обнародовала сведения об утечке персональных данных, произошедшей через приложение McDelivery.

Речь идет о фирменном приложении компании McDonald's, которое работает в Индии. Через данное приложение в Сеть утекли сведения о 2,2 млн жителей страны, которые воспользовались McDelivery для заказа еды. Как отмечает Fallible, приложение слило в сеть имена, адреса электронной почты, домашние адреса, номера мобильных телефонов и прочую информацию, которую могут использовать хакеры для взлома электронных кошельков и кражи средств с кредитных карт.

Представители McDonald's India уже прокомментировали эту информацию, заявив, что компания очень тщательно относится к защите данных пользователей и не собирает информацию о паролях кошельков, номерах кредитных карт и прочие банковские данные. Тем не менее, всем пользователям McDelivery порекомендовали обновить приложение.

Приложение McDonald’s слило в Сеть информацию о 2,2 млн пользователей

После чего представители Fallible заявили, что они известили McDonald’s о бреши в McDelivery еще 7 февраля, получив подтверждение от отдела сетевой безопасности. Однако опубликованное обновление не полностью устраняет проблему, поэтому приложение McDelivery продолжает сливать пользовательские данные в Сеть.

/20 мар, 12:40/ автор: Accent (iXBT.com) сайт: www.ixbt.com

Сегодня компания Sony Mobile представила смартфон Xperia L1, показанный на иллюстрациях. Аппарат, поддерживающий две карты SIM, оснащен жидкокристаллическим дисплеем размером 5,5 дюйма. Разрешение дисплея — 1280 х 720 пикселей.

Смартфон Sony Xperia L1 оснащен дисплеем размером 5,5 дюйма

В смартфоне используется SoC MediaTek MT6737T с четырехъядерным процессором Cortex-A53, работающим на частоте 1,45 ГГц под управлением Android 7.0 Nougat, и GPU Mali-T720 MP2. Объем оперативной памяти равен 2 ГБ, флэш-памяти — 16 ГБ. В слот microSD может быть установлена карточка объемом до 256 ГБ.

Смартфон Sony Xperia L1 оснащен дисплеем размером 5,5 дюйма

В оснащении устройства можно выделить основную камеру разрешением 13 Мп, оснащенную объективом с диафрагмой F/2,2. Фронтальная камера разрешением 5 Мп имеет широкоугольный (ЭФР 24 мм) объектив с такой же диафрагмой. Смартфон поддерживает 4G LTE, Wi-Fi 802.11n, Bluetooth 4.2 с aptX, NFC, A-GPS и GLONASS. Он оснащен портом USB-C. Питание обеспечивает аккумулятор емкостью 2620 мА∙ч.

Продажи Sony Xperia L1 должны начаться в конце апреля. Цену источник не называет.

Источник: Sony Mobile

/20 мар, 12:38/ автор: MPAK (iXBT.com) сайт: www.ixbt.com

Вчера мы узнали о том, что в начале апреля AMD должна анонсировать несколько видеокарт линейки Radeon RX 500. В частности, там была модель RX 550, основанная на некоем GPU Polaris 12. Мы предположили, что это тот же Polaris 11 с 896 активными потоковыми процессорами.

Но новые данные указывают на то, что всё обстоит несколько иначе. В частности, в тесте CompuBench появился результат тестирования какой-то 3D-карты линейки RX 500, основанной на GPU поколения Polaris. На это указывает код GFX8, обозначающий именно это поколение. Согласно же другим данным ПО, в конфигурацию графического процессора видеокарты входит 10 исполнительных блоков, что в случае Polaris соответствует 640 потоковым процессорам.

AMD готовит бюджетную видеокарту с новым GPU?

То есть это совершенно новая бюджетная карта AMD. Напомним, у Radeon RX 460 активны 896 потоковых процессоров, так что производительность новинки, а это наверняка Radeon RX 550, будет ощутимо ниже.

AMD готовит бюджетную видеокарту с новым GPU?

Вполне возможно, что Polaris 12 действительно является новым GPU, несущим те самые 640 потоковых процессоров, но есть вероятность того, что это всё-таки сильно урезанный Polaris 11. Ответ на этот вопрос мы сможем получить только после первых тестов. Также стоит добавить, что у видеокарты, несмотря на её уровень, имеется 4 ГБ памяти.

/20 мар, 12:34/ автор: Jin (iXBT.com) сайт: www.ixbt.com

На данный момент мы видели огромное количество сгенерированных на компьютере изображений, реальных фотографий, а также видеороликов с участием смартфона Samsung Galaxy S8.

Теперь же предлагаем вашему вниманию первые фотографии проводной гарнитуры, которая будет представлена в стандартном комплекте поставки Samsung Galaxy S8.

Опубликованы фотографии гарнитуры AKG для Samsung Galaxy S8

Еще в ходе выставки Mobile World Congress 2017 появилась информация о том, что Samsung Galaxy S8 получит наушники AKG. Права на бренд AKG южнокорейская компания получила после приобретения Harman.

Опубликованы фотографии гарнитуры AKG для Samsung Galaxy S8

Кабель гарнитуры помещен в оплетку, которая должна препятствовать ее спутыванию. Наушники оснащены блоком для регулировки громкости и привычным разъемом 3,5 мм.

Опубликованы фотографии гарнитуры AKG для Samsung Galaxy S8

Анонс Samsung Galaxy S8 ожидается 29 марта.

/20 мар, 12:26/ автор: MPAK (iXBT.com) сайт: www.ixbt.com

Когда компания Tesla в прошлом году анонсировала электромобиль Model 3, вряд ли кто-то представлял, какой интерес это авто вызовет у потребителей. В итоге в кратчайшие сроки было собрано почти 400 000 предзаказов на машину.

Проблема заключалась в том, что у Tesla не было и пока нет производственных мощностей, способных в разумные сроки удовлетворить такой спрос. Это заставило компанию начать продавать свои акции, чтобы на вырученные средства увеличивать производство машин.

Tesla продаёт акции, готовясь к старту Model 3

Как сообщается, очередной этап продажи акций принёс Tesla около 1,2 млрд долларов, что на 20% превысило ожидания самой компании. Tesla продала 1,3 млн простых акций на 350 млн долларов и привлекла ещё 850 млн долларов за счёт продажи конвертируемых облигаций. Илон Маск приобрёл простых акций на 25 млн долларов и сейчас в его распоряжении 21% акций Tesla.

Что касается Model 3, то небольшая партия автомобилей найдёт своих покупателей уже в конце года.

/20 мар, 12:26/ автор: Jin (iXBT.com) сайт: www.ixbt.com

Китайский предприниматель Дуан Йонгпинг (Duan Yongping) является основателем компаний Subor Electronics Industry Corporation и BBK Electronics Group, пост главы совета директоров которой он занимает в данный момент.

Еще несколько лет назад о подразделениях BBK, которые получили названия Oppo и Vivo, слышали, в основном, только жители Китая. Однако сегодня они входят в пятерку самых успешных поставщиков смартфонов. А в Китае они смогли заставить Apple покинуть тройку лидеров, впервые за долгие годы ослабив свои позиции.

По словам главы BBK, причина, по которой ситуация настолько изменилась за последние годы, заключается в том, что Oppo и Vivo применяют стратегию, чуждую для Apple. Речь идет о выпуске доступных смартфонов с очень привлекательными характеристиками. Дуан Йонгпинг абсолютно уверен, что Applе не поменяет свою ценовую политику, поскольку это может негативным образом отразиться на продажах ее устройств в других странах.

Глава ВВК прокомментировал ослабление позиций Apple в Китае

Руководитель BBK называет Applе очень упрямой компанией, которая продолжает продавать на китайском рынке, заполоненном недорогими привлекательными моделями, смартфоны iPhone по ценам, сравнимым с американскими.

При этом Дуан Йонгпинг является поклонником Apple, а также владельцем акций американской компании.

/20 мар, 12:17/ автор: Accent (iXBT.com) сайт: www.ixbt.com

Компания Gigabyte планирует выпуск собственного варианта 3D-карты GeForce GTX 1080 Ti. Эту неделю источник начал с публикации соответствующих изображений.

Появление 3D-карты Gigabyte GTX 1080 Ti Aorus Extreme Edition 11G в продаже ожидается в середине апреля

Карта оснащена системой фирменной системой охлаждения Windforce с тремя вентиляторами и светодиодной подсветкой. Из-а больших габаритов охладителя, карта будет занимать в компьютерном корпусе три слота расширения.

Появление 3D-карты Gigabyte GTX 1080 Ti Aorus Extreme Edition 11G в продаже ожидается в середине апреля

К интересным особенностям изделия можно отнести наличие видеовыхода HDMI, разъем которого находится не на монтажной планке, а на противоположном конце печатной платы. Этот разъем может пригодиться для систем, собираемых в корпусах с разъемом HDMI на панели ввода-вывода.

Появление 3D-карты Gigabyte GTX 1080 Ti Aorus Extreme Edition 11G в продаже ожидается в середине апреля

Всего 3D-карта Gigabyte GTX 1080 Ti Aorus Extreme Edition 11G имеет шесть видеовыходов. Помимо упомянутого порта еще два HDMI есть на монтажной планке. Там же расположены разъемы двух выходов DisplayPort и одного DVI.

Появление 3D-карты Gigabyte GTX 1080 Ti Aorus Extreme Edition 11G в продаже ожидается в середине апреля

Появление новинки в продаже ожидается в середине апреля. Данных о цене и частотах пока нет.

Источник: Videocardz

/20 мар, 11:53/ автор: Accent (iXBT.com) сайт: www.ixbt.com

Компания Qualcomm представила изделие, которое, в соответствии с новыми правилами наименования, называется «мобильная платформа» 205. Платформа относится к начальному уровню, что ясно по отсутствию в ее названии слова Snapdragon.

Мобильная платформа Qualcomm 205 поддерживает 4G, VoLTE и VoWi-Fi

В состав платформы для аппаратов, поддерживающих сети 2G, 3G и 4G, входит 28-нанометровая однокристальная система Qualcomm 205, на уровне выводов совместимая с SoC Qualcomm Snapdragon 210 и 212. Она оснащена встроенным модемом LTE Cat 4, поддерживающим скорость приема до 150 Мбит/с и скорость передачи до 50 Мбит/с. Кроме того, поддерживаются технологии Wi-Fi 802.11 b/g/n, Bluetooth 4.1 и ANT+, прием FM-радио и сигналов GPS. Основой SoС служит двухъядерный процессор, работающий на частоте 1,1 ГГц и дополненный GPU Qualcomm Adreno 304. Предусмотрено подключение двух камер разрешением 3 Мп каждая, дисплея VGA с частотой обновления 60 к/с. Устройства на основе Qualcomm 205 смогут иметь две карточки SIM и будут, по словам производителя, «работать под управлением ОС на основе Linux».

Платформа уже доступна для заказа. Появление на рынке первых устройств на ее основе ожидается в следующем квартале.

Источник: Qualcomm

/20 мар, 11:29/ автор: Accent (iXBT.com) сайт: www.ixbt.com

Компания TSMC, являющаяся крупнейшим в мире контрактным производителем микросхем, в следующем году примет решение, строить ли завод в США. Об этом сообщил источник, ссылаясь на тайваньское новостное агентство CNA, утверждающее, что решение будет принято в первом полугодии.

В настоящее время продажи в США приносят TSMC около 65% всего дохода

О том, что TSMC рассматривает возможность строительства производства в США, руководитель компании сообщил в январе.

Если верить CNA, сумма, которую планируется выделить на реализацию проекта в случае положительного решения, составляет примерно 16,4 млрд долларов.

В настоящее время продажи в США приносят TSMC около 65% всего дохода.

Источник: Reuters

/20 мар, 11:20/ автор: Jin (iXBT.com) сайт: www.ixbt.com

Подразделение Building 8, работающее в компании Facebook, занимается разработкой каких-то аппаратных решений. Известно, что сотрудники Building 8 экспериментируют с направлениями дополненной и виртуальной реальности, искусственным интеллектом и прочими современными технологиями.

Как сообщает Business Insider, ссылаясь на собственных информаторов, в данный момент команда занимается четырьмя перспективными проектами, о которых может быть рассказано на конференции для разработчиков Facebook F8 в апреле этого года.

Facebook может показать свои аппаратные разработки в апреле

Источник предполагает, что речь можно идти о технологии сканирования мозга, каких-то новых дронах, а также проекте, реализованном с использованием технологии дополненной реальности. Последний должен помочь решить проблему, которая не позволяет действительно сблизить людей, находящихся на большом расстоянии друг от друга.

/20 мар, 11:08/ автор: Accent (iXBT.com) сайт: www.ixbt.com

В каталоге компании Analog Devices с пометкой «предварительная информация» появился модуль камеры ADIS1700x. Он предназначен для систем умного здания и умного города, включая, например, видеонаблюдение за парковками. Отличительной особенностью ADIS1700x является логарифмическая характеристика, позволяющая хорошо различать детали изображения в затененных и, наоборот, очень ярких участках изображения. Кроме того, производитель отмечает наличие встроенных средств обработки изображения, позволяющих на месте решать такие задачи, как выделение объектов в кадре.

Модуль камеры Analog Devices ADIS1700x наделен встроенными средствами обработки изображения

Судя по описанию, ADIS1700x — результат прошлогоднего приобретения компании SNAP Sensor.

Модуль камеры Analog Devices ADIS1700x наделен встроенными средствами обработки изображения

В камере используется датчик изображения ADVIS200x разрешением QVGA с динамическим диапазоном 130 дБ и функцией выделения контуров для определения движения и подсчета объектов в кадре. Обработка возложена на цифровой процессор сигналов Blackfin ADSP-BF707WCCPZ-4, работающий на частоте 400 МГц. Процессор располагает 512 Мбит памяти LPDDR, что позволяет реализовывать довольно сложные алгоритмы. Потребляемая мощность — 110 мВт. В модуле реализована стабилизация изображения с использованием показаний акселерометра и гироскопа. Объектив модели ADIS17001 имеет угол поля зрения 110°, модели ADIS17002 — 67°. Компоненты модуля собраны на плате размерами 45 х 45 мм. Для питания и обмена данными используется интерфейс USB 2.0. Модуль рассчитан на работу в диапазоне температур от −40°C до +85°C.

Источник: Analog Devices

/20 мар, 11:05/ автор: Jin (iXBT.com) сайт: www.ixbt.com

Пару недель назад появилась информация о том, что компания LeEco уволила 85% сотрудников, которые работали в Индии, включая двух руководителей крупных направлений. Также стало известно, что LeEco может покинуть рынок Индии.

Операционный директор LeEco Алекси Ли (Alexi Li) заявил, что компания не собирается покидать важный для нее рынок, однако теперь они будут более осторожно распоряжаться деньгами. Напомним, в прошлом году LeEco тратила по 12 млн долларов в месяц только на рекламу своих устройств в Индии.

LeEco не уходит из Индии, но смещает акцент со смартфонов, на умные телевизоры

Компания провела анализ результатов работы за прошлый год, поняв, что на рынке Индии она может преуспеть не при помощи смартфонов, а благодаря своим телевизорам. Алекси Ли подтвердил, что с этого момента индийское подразделение LeEco будет сосредоточено на умных телевизорах, чтобы постараться укрепить свои позиции в стране.

/20 мар, 10:50/ автор: Jin (iXBT.com) сайт: www.ixbt.com

На Kickstarter идет сбор средств на необычную линейку Lindlund, которая предназначена для дизайнеров приложений iOS.

Линейка получила свое название в честь ее создателей Дженса Марклунда (Jens Marklund) и Акселя Линдмаркера (Axel Lindmarker), которые в своей работе часто использовали одновременно несколько линеек.

Дизайнерская линейка Lindlund содержит четыре шкалы

Дизайнеры решили, что если они не могут найти удобную для своих задач линейку в продаже, то стоит создать ее своими силами.

На линейке присутствуют четыре шкалы, включая хорошо известные всем сантиметры и дюймы. По третьей шкале можно отмерить до 1800 пикселей, причем в определенных точках указаны ширина и длина популярных мобильных устройств Apple. В четвертую шкалу уместили 72 пайки. Компьютерная пайка — это единица измерения типографского кегля, равная приблизительно 4,2333 мм.

Дизайнерская линейка Lindlund содержит четыре шкалы

Создатели Lindlund утверждают, что она отлично подходит для того, чтобы в любой момент нарисовать точный размер дисплея iPhone и выполнить какой-то набросок нового приложения.

Аксессуар привлек довольно большое внимание, а создатели уже собрали в три раза больше средств. Линейка предлагается за 25 долларов, поставки должны начаться в сентябре.

/20 мар, 10:31/ автор: Jin (iXBT.com) сайт: www.ixbt.com

В китайской социальной сети Weibo опубликовали фотографию дисплея нового смартфона Xiaomi Mi6, на которой нам демонстрируют раздел «О телефоне».

Мы видит, что устройство оснащено 6 ГБ оперативной и 256 ГБ энергонезависимой памяти. Вероятно, это старшая версия Xiaomi Mi6. Также на изображении упоминается восьмиядерная однокристальная система с частотой работы 2,7 ГГц. Устройство работает под управлением операционной системы Android 7.0 с оболочкой MIUI 8.3.14.

Изображение экрана Xiaomi Mi6 подтверждает наличие 6 ГБ ОЗУ и 256 ГБ флэш-памяти

Xiaomi Mi6 должны представить в апреле этого года.

/20 мар, 10:18/ автор: Jin (iXBT.com) сайт: www.ixbt.com

В ноябре прошлого года был анонсирован смартфон Vivo XPlay 6, который получил флагманские характеристики, но изначально был представлен только в двух цветовых вариантах: Gold и Rose Gold.

На этой неделе в продажу поступит полностью черная версия Vivo XPlay 6, которая будет продаваться по той же цене (655 долларов) и сохранит характеристики оригинального устройства.

Смартфон Vivo XPlay 6 в черном цвете станет доступен на этой неделе

Устройство оснащено изогнутым по бокам дисплеем диагональю 5,46 дюйма разрешением 2K, однокристальной системой Snapdragon 820, 6 ГБ ОЗУ и 128 ГБ флэш-памяти. Смартфон получил аккумулятор емкостью 4080 мА•ч, сдвоенную основную камеру с 12-мегапиксельным датчиком изображения Sony IMX362 и 16-мегапиксельную фронтальную, а также ЦАП ESS ES9038 и три операционных усилителя OPA1622.

/20 мар, 10:17/ автор: Accent (iXBT.com) сайт: www.ixbt.com

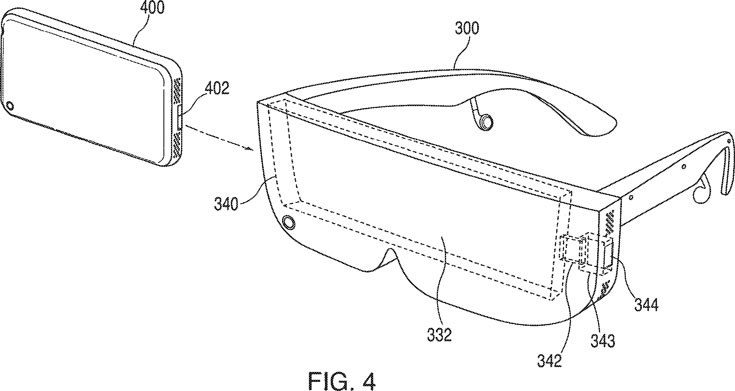
На минувшей неделе американское патентное бюро выдало компании Apple патент №9595237. В нем описана носимая на голове гарнитура, в которой используется дисплей мобильного устройства.

Патент №9595237 выдан на прошлой неделе

По замыслу изобретателей, пользователь может «временно интегрировать» мобильное устройств в гарнитуру, позволяющую носить его на голове. При этом электронная часть гарнитуры может подключаться к мобильному устройству, чтобы оба компонента работали совместно. Гарнитура и мобильное устройство дополняют и расширяют возможности друг друга, а также могут отключать некоторые функции во избежание дублирования.

Заявка на патент была подана в июле прошлого года.

Источник: USPTO

/20 мар, 09:41/ автор: Accent (iXBT.com) сайт: www.ixbt.com

Специалисты аналитической компании IDC попытались спрогнозировать развитие рынка гарнитур дополненной реальности (AR) и виртуальной реальности (VR) в ближайшие годы. Согласно их оценке, в прошлом году было отгружено 10,1 млн этих устройств, а в 2021 году поставки гарнитур AR и VR достигнут 99,4 млн штук, увеличившись почти десятикратно. Эти показатели соответствуют среднегодовому росту на 58% в течение пяти лет.

Доля потребительских гарнитур будет уменьшаться

По прогнозу аналитиков, в указанный период доля гарнитур для коммерческого использования увеличится с 20,1% до 38,5%. Это означает, что среднегодовой рост в этом сегменте составит 80%.

Доля потребительских гарнитур соответственно сократится с нынешних 79,9% до 61,5%. Эти показатели соответствуют среднегодовому росту на 49,9%.

Источник: IDC

/20 мар, 09:27/ автор: Accent (iXBT.com) сайт: www.ixbt.com

Славящийся достоверными утечками источник опубликовал новое изображение в цветовыми вариантами смартфонов Samsung Galaxy S8 и S8 Plus.

В верхнему ряду показаны варианты Samsung Galaxy S8, в нижнем — Samsung Galaxy S8 Plus. Черный, серый и серебристый цвета показаны в порядке слева направо.

Также названы цены на док Samsung DeX, гарнитуру Samsung Gear VR и камеру Samsung Gear 360

Кроме того, названы европейские цены новых смартфонов и других новинок, которые будут представлены одновременно с ними.

Как утверждается, смартфон Samsung Galaxy S8 будет стоить 799 евро, Samsung Galaxy S8 Plus — 899 евро. Стыковочная станция Samsung DeX будет стоить 150 евро, новая гарнитура виртуальной реальности Samsung Gear VR — 129 евро, новая панорамная камера Samsung Gear 360 — 229 евро.

Источники: Evan Blass, Evan Blass

/20 мар, 09:12/ автор: Accent (iXBT.com) сайт: www.ixbt.com

Комиссия по международной торговле США (ITC) отреагировала на жалобу AMD, поданную в начале февраля. Напомним, в жалобе AMD обвинила LG, Vizio, MediaTek и Sigma Designs в нарушении патентов на технологии GPU.

Два из трех патентов, фигурирующих в обращении, были приобретены AMD с покупкой ATI

По мнению AMD, перечисленные компании нарушают принадлежащие ей патенты, которые описывают некоторые особенности архитектуры графических процессоров, включая унифицированные шейдеры и параллельное выполнение.

В конце прошлой недели на сайте ITC было опубликовано сообщение, из которого следует, что комиссия рассмотрит обращение AMD. В отношении компаний LG Electronics, Vizi, MediaTek и Sigma Designs будет проведено расследование, призванное выяснить, не нарушают ли они патенты AMD, упомянутые в жалобе. Регулятор уточняет, что окончательное решение о расследовании будет принято в ближайшее время, после чего в течение 45 дней должна быть назначена дата его окончания.

Источник: ITC

/20 мар, 09:00/ автор: Accent (iXBT.com) сайт: www.ixbt.com

Осенью 2015 года начались продажи компьютерного корпуса Hdplex H5, предназначенного для сборки систем с пассивным охлаждением. По сути, корпус Hdplex H5 служит радиатором, тепло к которому переносится по тепловым трубкам. Штатно в комплект входит восемь тепловых трубок, прикрепляемых к крышке CPU, небольшой радиатор и крепление. Недавно эта пассивная процессорная система охлаждения Hdplex появилась в продаже как самостоятельное изделие.

Пассивная процессорная система охлаждения Hdplex с восемью тепловыми трубками

Она стоит $65.

Пассивная процессорная система охлаждения Hdplex с восемью тепловыми трубками

За эту сумму покупатель получает восемь тепловых трубок диаметром 6 мм, медное основание, алюминиевый радиатор, элементы для установки на процессоры Intel в исполнении LGA115x и порцию термопасты.

Пассивная процессорная система охлаждения Hdplex с восемью тепловыми трубками

Радиатор, к которому отводится тепло (его роль может играть корпус, как в случае H5), пользователю предстоит добавить самостоятельно.

Источник: Amazon

/20 мар, 09:00/ автор: MPAK (iXBT.com) сайт: www.ixbt.com

Недавно мы узнали, что Intel готовится показать журналистам первый серийный SSD семейства Optane, основанный на совершенно новой памяти 3D XPoint. Правда, некоторые тематические ресурсы выразили сомнения касательно потенциала и будущего таких продуктов.

Как бы там ни было, Intel наконец-то представила новинку. Первым твердотельным накопителем семейства стала модель Optane SSD DC P4800X, ориентированная на корпоративный сегмент. Это накопитель формата PCI Express HHHL, поддержкой NVMe и объёмом всего 375 ГБ. При этом стоимость устройства — 1520 долларов!

Представлен SSD Intel Optane SSD DC P4800X

В ближайшем будущем нам также обещают модели объёмом 750 ГБ и 1,5 ТБ, а также накопители формата U.2 тех же объёмов.

Накопитель использует 20-нанометровые 128-гигабитные микросхемы 3D XPoint, созданные по технологии CMOS Under the Array. Также используется семиканальная Intel NVMe ASIC, способная управлять сразу четырьмя кристаллами на одном канале.

Производительность на операциях чтения (блоками 4 КБ) достигает 550 000 IOPS! На операциях записи производительность практически такая же: 500 000 IOPS. Типичные задержки не должны превышать 10 мкс, что на порядок меньше, чем у накопителей с памятью NAND. Выносливость тоже впечатляет: 30 DWPD (перезаписей в день), хотя мы уже видели SSD с близкими значениями.

Представлен SSD Intel Optane SSD DC P4800X

Optane SSD DC P4800X уже доступен для приобретения. Во втором квартале будет выпущена модель объёмом 750 ГБ, а также SSD формата U.2 объёмом 375 ГБ. Во второй половине года появятся остальные модели. Первое время Intel будет обеспечивать накопители трёхлетней гарантией, но затем перейдёт на пятилетнюю.

/20 мар, 08:00/ автор: MPAK (iXBT.com) сайт: www.ixbt.com

О том, что Intel готовится выпустить монструозный серверный процессор Xeon E5-2699 v5 с 32 ядрами, мы узнали ещё в конце прошлого года. Он будет являться частью семейства Skylake-EP. Рабочая частота, согласно ранним данным, составит 2,1 ГГц.

Intel Xeon E5 2699 v5 протестировали в Geekbench

И вот данный CPU снова появился в новостях тематических изданий. На сей раз причиной стало прохождение процессором теста Geekbench. Результат без лишних комментариев можно оценить благодаря скриншоту.

Intel Xeon E5 2699 v5 протестировали в Geekbench

Как видим, ПО указывает на частоту 2,3 ГГц. Возможно, это частота в режиме Boost. Xeon E5-2699 v5 будет самым многоядерным процессором Intel за всю историю, если не считать специализированных решений, вроде ускорителей Xeon Phi.

/20 мар, 07:30/ автор: MPAK (iXBT.com) сайт: www.ixbt.com

Недавно мы сообщали, что видеокарты линейки Radeon RX 500 будут представлены в апреле, но изначально это будут сугубо переименованные решения текущего поколения. Новые данные подтверждают эту информацию, дополняя её подробностями.

Итак, первыми должны появиться модели Radeon RX 580, RX 570, RX 560 и RX 550. Они будут основаны на GPU Polaris, которые просто получат новые имена. В частности, Radeon RX 580 и RX 570 получат графический процессор Polaris 20, являющийся переименованной версией Polaris 10. Количество потоковых процессоров останется неизменным, но немного повысятся частоты. Для старшей карты это 1340 МГц для ядра и 8000 МГц для памяти, а для RX 570 — 1244 МГц и 7000 МГц соответственно. Ожидается, что RX 580 с 8 ГБ памяти будет стоить 200 долларов, a RX 570 — 150 долларов.

Видеокарты Radeon RX 580, RX 570 и RX 560 будут работать не чуть больших частотах, чем предшественники

Radeon RX 560 получит GPU Polaris 21, являющийся переименованной версией Polaris 11. Как мы и предполагали, эта карта получит полноценный GPU со всеми 1024 активными потоковыми процессорами. Частоты составят 1287 МГц для ядра и 7000 МГц для памяти.

Для Radeon RX 550 приготовлен некий GPU Polaris 12. Но, вероятнее всего, речь о том же Polaris 11 с теми же 896 активными потоковыми процессорами.

Справедливости ради стоит отметить, что «новые» GPU будут производиться по обновлённому техпроцессу 14 LPP вместо 14 LPE, что должно положительно сказаться на энергопотреблении и частотном потенциале.

/20 мар, 07:00/ автор: MPAK (iXBT.com) сайт: www.ixbt.com

Несколько дней назад появилось изображение, из которого стало ясно, что смартфон Samsung Galaxy S8 будет доступен в большем количестве цветовых вариантов, чем предшественники. Среди них будет даже фиолетовый.

И теперь мы можем взглянуть на эти самые варианты «живьём».

Появились фотографии различных цветовых вариантов Samsung Galaxy S8

Появились фотографии различных цветовых вариантов Samsung Galaxy S8

Появились фотографии различных цветовых вариантов Samsung Galaxy S8

Появились фотографии различных цветовых вариантов Samsung Galaxy S8

Появились фотографии различных цветовых вариантов Samsung Galaxy S8

Появились фотографии различных цветовых вариантов Samsung Galaxy S8

К сожалению, качество фото не позволяют в полной мере оценить цвета. Стоит отметить, что фиолетовый вариант несколько отличается от других. В частности, у него не окрашены в цвет корпуса рамки сверху и снизу дисплея, что несколько странно. Возможно, на некоторых фото запечатлён не Galaxy S8, а Galaxy S8+.

/20 мар, 00:35/ автор: Юрий Гитин (iXBT.com) сайт: www.ixbt.com

Компания MSI представила системную плату Z270 Mpower Gaming Titanium, одной из особенностей которой стал тщательно разработанный аудиотракт. Он включает в себя два кодека Realtek ALC1220, работающие раздельно для фронтальных и окружающих (в формате 7.1) каналов, но и работе в режиме стерео тоже уделено внимание. Разводка левого и правого каналов выполнена на разных слоях печатной платы, используются специализированные конденсаторы Nippon Chemi-con, раздельные усилительные цепи для выходов на наушники и стерео АС и позолоченные аудиовыходы.

Также на плате MSI Z270 Mpower Gaming Titanium расположен слот U.2 для скоростных SSD

Плата MSI Z270 Mpower Gaming Titanium основана на чипсете Intel Z270 и поддерживает ЦП для разъема LGA1151, вплоть до Core i7. Четыре слота DDR4 благодаря оптимизированной в целях снижения шумов и помех разводке поддерживают частоты до 4000 МГц. Для накопителей есть слот U.2, поддерживающий SSD с шиной PCI-e 3.0 x4 и протоколом NVMe, также распаяны шесть портов SATA 6 Гбит/с и три слота M.2 с поддержкой Intel Optane Отметим тыльную металлическую пластину, дополнительно придающую плате жесткость, слоты ОЗУ и PCI-e также армированы. В их число входят три PCI-e 3.0 x16 и один PCI-e 3.0 x1.

Также на плате MSI Z270 Mpower Gaming Titanium расположен слот U.2 для скоростных SSD

На монтажную планку вынесены видеовыходы HDMI и DisplayPort, стоит отметить дуэт порта Gigabit Ethernet и контроллера Killer E2500 и два порта USB, оптимизированные для подключения шлемов виртуальной реальности посредством микросхемы VR-Boost, якобы оптимизирующей качество сигнала к этим портам.

Поиск по сайту
Обратная связь
Разработчикам
Реклама на сайте

Политика конфиденциальности
Пользовательское соглашение

 

Filebox.ru каталог архив программного обеспечения для Windows, работает с 2003 года.
Copyright © 2003-2026 Filebox.ru All Rights Reserved.

Яндекс.Метрика