Лента технологий за 22/03/2017, Среда - Filebox.ru  Программы | Новости | ТОП-100 программ | Статьи

Лента технологий за 22/03/2017, Среда - Filebox.ru

Лента технологий | Подборка за 22 марта 2017 г. 00:00:00

/22 мар, 20:52/ автор: Jin (iXBT.com) сайт: www.ixbt.com

Несмотря на то, что до выхода смартфона Samsung Galaxy S8 остается еще около месяца, мы уже видели реальные фотографии и видеоролики устройства, а также узнали подробности о док-станции Samsung DeX Station и фирменном внешнем аккумуляторе.

Теперь же источники опубликовали изображения упаковки Samsung Galaxy S8+, которая была сфотографирована с двух сторон. В такой коробке получат устройство покупатели в сети магазинов оператора Verizon.

Фотография упаковки Samsung Galaxy S8+ подтверждает содержимое комплекта поставки

На обратной стороне перечисляется содержимое комплекта поставки: смартфон, SIM-карта оператора, сетевой адаптер, переходники с разъемами USB-C и Micro USB, а также USB-C и USB (такие же присутствовали в комплекте поставки Galaxy Note7), стереогарнитура (фото наушников AKG мы публиковали на днях) и краткое руководство пользователя.

Фотография упаковки Samsung Galaxy S8+ подтверждает содержимое комплекта поставки

Анонс Samsung Galaxy S8 ожидается 29 марта.

/22 мар, 20:46/ автор: Юрий Гитин (iXBT.com) сайт: www.ixbt.com

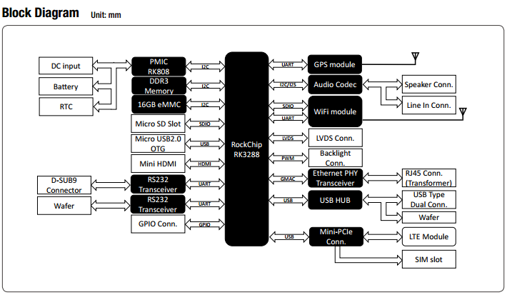
Семейство одноплатных ПК Aaeon в прошлом году отметилось моделью Aaeon UP Squared, выделившейся сочетанием ПЛИС Altera Max 10 и процессоров Intel Apollo Lake. Теперь Aaeon, входящая в группу компаний Asus, представила новинку под названием Rico-3288, уже на платформе Rockchip.

ОС Android 6.0 штатно поддерживает плату Aaeon Rico-3288

Кроме базовой версии плата будет доступна в модификациях Rico-3288V и F: в первой добавлен адаптер Wi-Fi 802.11ac, Bluetooth 4.0 и слот SD с поддержкой LTE, во второй также есть шина CAN и два порта RS-232. По поводу слота Mini-PCIe сильно обольщаться не стоит, он поддерживает только модемы 3G и 4G, фактически на него выведены только линии USB. Производитель готовит дочерние платы с поддержкой NFC, GPS, аккумуляторного питания, PoE и другие.

ОС Android 6.0 штатно поддерживает плату Aaeon Rico-3288

Одноплатный ПК основан на SoC Rockchip RK3288, ее четыре ядра Cortex A17 объединены с GPU Mali-T760. Оперативная память DDR3L объемом 2 ГБ соседствует с флэш-памятью eMMC емкостью 16 ГБ. Дисплеи подключаются посредством выходов HDMI 2.0, eDP (разрешение до 2560 х 1400 пикселей, 60 Гц) и LVDS (1400 x 900 пикселей, 60 Гц). Слот MicroSD поддерживает карты объемом до 64 ГБ, распаян порт Gigabit Ethernet, RS-232, два USB 2.0, один microUSB с поддержкой OTG, один DIO (8 бит). Питание подводится от внешнего адаптера напряжением 12 В или аккумулятора (7,4 В). Плата Aaeon Rico-3288 поддерживается в ОС Android 6.0.

/22 мар, 20:23/ автор: MPAK (iXBT.com) сайт: www.ixbt.com

Компания Huawei с довольно большим отрывом занимает третьем место на рынке смартфонов. В 2016 году производителю удалось значительно нарастить продажи, реализовав в итоге 140 млн аппаратов.

Несмотря на это, компания практически не представлена в США, хотя в Европе Huawei знают хорошо. Причина кроется в том, что смартфоны Huawei не предлагает ни один американский оператор, а львиная доля устройств в США продаётся именно операторами.

Huawei ведёт переговоры с AT&T

Но это вскоре может измениться. Как сообщают источники, Huawei находится в процессе получения аккредитации AT&T для одной из своих однокристальных систем Kirin, что является первым шагом на пути к появлению в ассортименте этого оператора смартфонов китайского гиганта.

О какой именно SoC идёт речь, неизвестно. Можно предположить, что это Kirin 960, так как на ней основаны флагманские Mate 9 и P10 вместе с P10 Plus. Если это так, можно ожидать появления этих аппаратов в продаже у AT&T ещё в нынешнем году. Однако аккредитация может касаться и какой-то новой SoC (Kirin 970?), то есть продавать оператор начнёт уже следующие флагманы Huawei.

Так или иначе, рынок США для Huawei — отличный способ ещё больше нарастить продажи.

/22 мар, 20:07/ автор: MPAK (iXBT.com) сайт: www.ixbt.com

Компания Oppo, входящая в пятёрку крупнейших производителей смартфонов, анонсировала очередную новинку. Модель называется F3 Plus. Нужно отметить, что анонс был намечен на завтрашний день и в итоге страничка с официального сайта была удалена. Но все, кому было интересно, уже всё узнали.

Смартфон Oppo F3 Plus получил двойную фронтальную камеру

Итак, Oppo F3 Plus — ничем не выдающийся внешне смартфон, похожий на остальные аппараты компании и заодно на iPhone. Его основная изюминка — двойная фронтальная камера. Да, такое мы уже видели, но распространённым такое решение не стало. У Oppo F3 Plus есть 16-мегапиксельная фронтальная камера с обычным углом зрения и восьмимегапиксельная сверхширокоугольная (120 градусов), благодаря которой можно делать групповые селфи. Основная камера у смартфона базируется на 16-мегапиксельном датчике Sony IMX398 и может похвастаться максимальной диафрагмой F/1.7.

Смартфон получил огромный шестидюймовый дисплей Full HD, прикрытый стеклом Gorilla Glass 5. Сердцем служит SoC Snapdragon 653, в помощь которой имеется 4 ГБ ОЗУ и 64 ГБ флэш-памяти. Последнюю можно расширить картами microSD.

Смартфон Oppo F3 Plus получил двойную фронтальную камеру

Ёмкость аккумулятора составляет 4000 мА·ч. Поддерживается фирменная технология быстрой зарядки VOOC. В качестве ОС выступает Android 6.0 с фирменной оболочкой Color OS 3.0. Цена пока неизвестна. Завтра Oppo представит ещё и модель F3, заодно будет известна и стоимость обеих новинок.

/22 мар, 19:51/ автор: MPAK (iXBT.com) сайт: www.ixbt.com

Несмотря на то, что чёрный, белый, серый и золотой цвета на рынке смартфонов уже приелись, если не дать покупателям какой-то из них, последующее его появление можно обыграть, как нечто особенное.

Недавно мы узнали, что OnePlus выпустит смартфон OnePlus 3T colette edition, выделяющийся чёрным цветом, но лишь в количестве 250 экземпляров. Эта идея понравилась поклонникам компании, на что указало последующее голосование на странице производителя в Twitter.

OnePlus всё-таки выпустит чёрную версию флагмана

В итоге OnePlus решила выпустить чёрный вариант, обозвав его OnePlus 3T Midnight Black. Он должен появиться в продаже в ближайшее время. Правда, снова ограниченным тиражом. Видимо, уже не настолько ограниченным, как в случае colette edition, но всё-таки.

OnePlus всё-таки выпустит чёрную версию флагмана

Ограниченность компания объясняет сложным процессом покраски. Якобы лишь после 30 попыток OnePlus получила нужный цвет, а для нанесения краски толщиной 14 микрон задействован «специфический процесс».

/22 мар, 18:59/ автор: MPAK (iXBT.com) сайт: www.ixbt.com

Согласно источнику, хакер или группа хакеров, именующих себя Turkish Crime Family, заявила о том, что располагает доступом к более чем 300 млн учётных записей экосистемы Apple! Это и учётные записи iCloud, и электронная почта доменов @icloud и @me.

Якобы располагая столь невероятным «козырем», хакеры требуют всего 75 000 долларов за то, чтобы удалить предполагаемый кэш данных. Выкуп они хотят видеть в криптовалюте Bitcoin либо Ethereum.

Хакеры требуют у Apple 75 000 долларов

Сообщается, что хакеры уже связались с Apple и предоставили компании доказательства наличия у них доступа к чужим аккаунтам. Среди них было и видео, которое злоумышленники загрузили на YouTube. Представитель Apple попросил удалить видео и отметил, что компания в любом случае не вознаграждает кибер-преступников за нарушение законов.

В ответ на это хакеры угрожают удалить несколько учётных записей и удалённо сбросить несколько смартфонов iPhone, если их требования не будут выполнены до 7 апреля.

Кроме прочего источник отмечает, что хакеры непоследовательны в своих заявлениях, так как однажды обмолвились о 559 млн взломанных учётных записях.

/22 мар, 18:19/ автор: MPAK (iXBT.com) сайт: www.ixbt.com

Голосовые помощники Apple Siri и Amazon Alexa схлестнулись на новом поле. Как сообщает источник, сейчас эти два искусственных интеллекта ведут бой за возможность прописаться в отелях огромной международной компании Marriott International.

Сейчас Marriott проводит тестирование обеих систем в одном из отелей, расположенном в Бостоне. Системы должны помогать постояльцам не только с ответами на различные вопросы, но и с управлением гостиничным номером. К примеру, посредством помощников можно управлять шторами, включать и выключать свет, изменять температуру, переключать каналы телевизора и так далее.

Отели Marriott International оснастят либо устройствами с Alexa, либо аппаратами с Siti

Заочно можно предположить, что должна выиграть Amazon, так как акустическая система Echo или Echo Dot не требует никаких манипуляций для активации. Достаточно лишь произнести кодовую фразу и далее команду. В случае с Siri, видимо, необходимо будет подойти к устройству (скорее всего, установленному планшету iPad), разблокировать его и нажать на соответствующую иконку. Лишь после этого можно будет произнести команду. К тому же, устройства Amazon в разы дешевле смартфонов и планшетов Apple.

К слову, мы уже сообщали, что отель Wynn Las Vegas до лета должен оснастить почти 5000 номеров умными АС Amazon Echo.

/22 мар, 17:57/ автор: MPAK (iXBT.com) сайт: www.ixbt.com

Согласно данным аналитиков IHS Markit самым популярным смартфоном по итогам прошлого года стал Apple iPhone 6s. Точное количество источник не называет, но на диаграмме видно, что речь примерно о 60 млн аппаратов.

На втором месте расположился iPhone 7, несмотря на то, что появился в продаже лишь осенью. Этот смартфон разошёлся тиражом около 52 млн. Далее с небольшой разницей разместились остальные представители первой десятки.

iPhone 6s — самый продаваемый смартфон прошлого года

Это iPhone 7 Plus, iPhone 6s Plus, Samsung Galaxy S7 Edge, Galaxy J3 (2016), Oppo A53, Galaxy J5, Galaxy S7 и Galaxy J7. Аналитики отмечают, что суммарные продажи Galaxy S7 и Galaxy S7 Edge в итоге на 10 млн превысили продажи Galaxy S6 и Galaxy S6 Edge. Также стоит отметить высокий результат бюджетной модели Galaxy J3 актуального поколения. А вот отсутствие указания на модельный год у Galaxy J5 и J7 наводит на мысль, что речь о смартфонах 2015 года, хотя вряд ли.

/22 мар, 17:39/ автор: MPAK (iXBT.com) сайт: www.ixbt.com

С собственной платёжной системой у компании LG пока не сложилось. Изначально она разрабатывала концепцию отдельных карт White Card, затем появились слухи, что в G6 дебютирует технология, аналогичная MST у Samsung, но в итоге флагманский смартфон появился без какой-либо версии LG Pay, так как её отложили на неопределённый срок.

LG G6 всё-таки получит свою платёжную систему

Источник сообщает, что платёжная система LG Pay появится в смартфоне G6 уже в июне и причём в США, а не на родном рынке. В основе будет лежать некая технология MCT (Magnetic Communication Technology) компании Dynamics.

Самое главное то, что эта технология работает по тому же принципу, что и MST: создаёт электромагнитное поле вокруг смартфона, которое обычными банковским терминалом распознаётся как обычная карта с магнитной лентой. То есть LG G6 будет работать с самыми распространёнными терминалами. Правда, как и в случае всех других платёжных систем, для начала банки той или иной страны должны начать поддерживать новый сервис.

/22 мар, 17:04/ автор: MPAK (iXBT.com) сайт: www.ixbt.com

Смартфон Huawei Mate 9 не является новинкой, хотя это актуальный флагман компании. Устройство выделяется немалыми габаритами, новой платформой и впечатляющей автономностью.

А ещё Mate 9 — один из первых смартфонов с голосовым помощником Amazon Alexa. Изначально его не было в аппарате, но Huawei обещала добавить ИИ позже.

ИИ Amazon Alexa появился на смартфоне Huawei Mate 9

Сегодня Huawei начала распространение обновления ПО, которое приносит смартфону поддержку Alexa. Пока это справедливо лишь для США, но в итоге коснётся и других рынков. После этого пользователю необходимо будет установить приложение Alexa. Чтобы активировать помощник, нужно будет запустить это самое приложение. То есть смартфон не будет постоянно слушать пользователя, как это делает умная АС Echo. Собственно, на рынке только аппараты Motorola/Moto и Google Pixel умеют откликаться на голосовые команды без активации самого телефона.

/22 мар, 16:55/ автор: MPAK (iXBT.com) сайт: www.ixbt.com

Аналитики Strategy Analytics опубликовали прогнозы, касающиеся 360-градусных камер. К сожалению, документ доступен только по подписке, но кое-какую информацию всё же можно узнать.

Основываясь на росте рынка VR в целом и контента в частности, аналитики делают прогноз, согласно которому в период с 2016 по 2022 год продажи камер со сферическим обзором увеличатся на 1500%, то есть в 16 раз.

Strategy Analytics прогнозируют внушительный рост продаж сферических камер

Рост продаж ожидается в трёх основных направлениях: профессиональные, полупрофессиональные и потребительские камеры. В частности, продажи профессиональных моделей вырастут за тот же период в 15 раз.

Наибольший рост будет в сегменте полупрофессиональных решений. Тут аналитики прогнозируют рост на 5000%, то есть в 51 раз. В количественном выражении, к сожалению, данные не приводятся.

Продажи потребительских камер вырастут так же, как и рынок в целом. Это обусловлено тем фактом, что именно такие устройства будут составлять львиную долю продаж.

/22 мар, 14:28/ автор: MPAK (iXBT.com) сайт: www.ixbt.com

Согласно ресурсу DigiTimes, производители ПК намерены наконец-то отразить постоянно повышающиеся цены на память DRAM, твердотельные накопители и прочие компоненты, также их дефицит в стоимости своей продукции.

В итоге стоит ожидать роста цен на ПК в третьем квартале текущего года, хотя ноутбуки могут подорожать на 5-15% уже в следующей четверти года. Повышение цен уже подтвердили Lenovo и Asus, но это явно коснётся всех крупных игроков данного рынка.

ПК вскоре подорожают во всём мире

Кроме того, продолжающееся удорожание компонентов и их дефицит плохо скажутся на менее крупных производителях, так как они будут получать продукцию в последнюю очередь.

/22 мар, 14:15/ автор: MPAK (iXBT.com) сайт: www.ixbt.com

Как известно, у AMD должны выйти видеокарты на двух новых GPU Vega: Vega 10 и Vega 11. Согласно последним данным, это будут сугубо карты верхнего ценового сегмента, тогда как в остальных сегментах будут представлены исключительно адаптеры на основе GPU Polaris.

Как сообщает источник, упоминание видеокарт на основе Vega 10 появились в драйверах AMD для ОС Linux. Всего было выпущено 100 патчей, содержащих более 400 000 строк кода. Среди них можно обнаружить семь устройств с GPU Vega 10, содержащих разные идентификаторы.

Семь идентификаторов с GPU Vega появились в Linux

Это вовсе не означает, что нас ждёт семь видеокарт с этим графическим процессором, как сообщают некоторые тематические ресурсы. Различные идентификаторы могут принадлежать разным модификациям, включая мобильные карты, профессиональные и так далее. В реальности вряд ли стоит ожидать больше одной-двух потребительских моделей.

К слову, там же нашлись семь идентификаторов для карт с GPU Polaris 12. Напомним, на днях стало известно о видеокарте линейки Radeon RX 500 с 640 потоковыми процессорами. Видимо, именно она будет основана на Polaris 12.

/22 мар, 13:56/ автор: MPAK (iXBT.com) сайт: www.ixbt.com

Согласно источнику, компания Samsung намерена активнее использовать панели AMOLED в своих планшетах. На данный момент такие экраны можно встретить только в флагманских устройствах, хотя в сегменте смартфонов Samsung уже давно оснащает панелями с органическими светодиодами даже бюджетные аппараты.

В нынешнем году стоит ожидать увеличения количества планшетов Samsung с панелями AMOLED, а также ноутбуков с такими экранами. В дальнейшем компания может перевести все свои планшеты на подобные дисплеи.

Samsung в десятки раз уменьшила объёмы поставок ЖК-панелей компании Apple

Из-за постепенного уменьшения производства ЖК-экранов соответствующих размеров, Samsung начнёт уменьшать поставки такой продукции компании Apple, которая использует её для планшетов iPad.

В частности, в первом квартале прошлого года Samsung поставила Apple 20 млн панелей для планшетов, тогда как в нынешнем квартале предоставит лишь 600 000 единиц, то есть 3% от прошлогоднего объёма.

Кроме того, говорится и о намерении Apple использовать экраны OLED для планшетов iPad. Сейчас купертинский гигант якобы проводит соответствующие тесты.

/22 мар, 13:43/ автор: MPAK (iXBT.com) сайт: www.ixbt.com

Китайская компания BOE Technology объявила о создании пятидюймового экрана AMQLED.

Аббревиатура AMQLED расшифровывается как Active Quantum-dot Light Emitting Diode (активные квантовые точки на светодиодах). Из названия ясно, что это аналог технологии QLED, продвигаемой Samsung. В данном случае светодиоды на основе квантовых точек используются в качестве подсветки вместо классических светодиодов в обычных ЖК-панелях.

BOE первой создала экран AMQLED

Экраны AMQLED, как сообщает источник, обеспечивают более широкий цветовой диапазон, чем панели AMOLED, а также они дешевле в производстве и имеют более длительный срок службы.

/22 мар, 13:21/ автор: MPAK (iXBT.com) сайт: www.ixbt.com

Разгонный потенциал GPU поколения Pascal всем хорошо знаком. В частности, в прошлом году впервые за всю историю графический процессор удалось разогнать до частоты более 3 ГГц. Если точнее, GPU адаптера Galax GTX 1060 HOF удалось заставить работать на частоте 3010 МГц, причём карта оставалась стабильной и проходила тесты.

Судя по всему, у нас теперь есть новый рекорд. На страничке компании EVGA в Facebook было опубликовано изображение, согласно которому известному оверклокеру Kingpin удалось разогнать ядро видеокарты GeForce GTX 1080 Ti до частоты 3024 МГц!

Ядро видеокарты удалось разогнать до 3024 МГц

К сожалению, подробностей нет, так что неясно, проходила ли карта тесты. Известно, что использовался референсный адаптер, хотя он, конечно, был сильно доработан. Ну и команда EVGA утверждает, что это только начало. Учитывая, что нас ещё ждут оригинальные варианты, более подходящие для разгона, можно ожидать, что рубеж в 3 ГГц будет преодолён ещё не раз.

/22 мар, 13:08/ автор: MPAK (iXBT.com) сайт: www.ixbt.com

Согласно сообщению источника, рыночная капитализация Samsung Electronics превысила 268 млрд долларов, что является рекордом для компании. Также это позволяет разместиться компании на 11 месте в мире по рыночной капитализации.

Сразу после этого индекс KOSPI (корейский фондовый индекс) повысился с 2170 до 2180, хотя затем немного просел до 2178. Всё равно это самый высокий показатель для Samsung Electronics с 8 июня 2011 года, когда индекс поднялся до 2180,35 пункта.

Рыночная капитализация Samsung Electronics бьёт рекорды

Акции Samsung Electronics выросли в цене до 1906 долларов. Аналитики считают, что росту стоимости акций способствовали ожидания флагмана Galaxy S8, рост полупроводниковой промышленности и ожидания, касающиеся изменений в структуре управления компанией.

/22 мар, 12:58/ автор: Jin (iXBT.com) сайт: www.ixbt.com

Вместе со смартфонами Samsung Galaxy S8 и Galaxy S8+ южнокорейский производитель представит целую линейку аксессуаров, в которую войдет док-станция Samsung DeX Station, новая гарнитура GearVR, а также внешний аккумулятор.

В линейку аксессуаров для Samsung Galaxy S8 также войдет внешний аккумулятор

Внешний аккумулятор носит модельный номер Samsung EB-PG950, он будет доступен в двух цветах (синем и сером). Аккумулятор будет иметь емкость 5100 мА•ч, он будет поддерживать технологию быстрой зарядки. Мощность ограничена значением 15 Вт. Цена аксессуара составит 60 евро.

В линейку аксессуаров для Samsung Galaxy S8 также войдет внешний аккумулятор

Понятно, что за такие деньги можно найти куда более привлекательное решение, однако завышенная цена — это неотъемлемый аксессуар официальных (простите за тавтологию) аксессуаров именитых производителей.

/22 мар, 12:45/ автор: Jin (iXBT.com) сайт: www.ixbt.com

Мы неоднократно слышали о док-станции Samsung DeX Station или Samsung Desktop Experience Station, которая будет выпущена для смартфонов Samsung Galaxy S8 и Samsung Galaxy S8+.

Недавно сообщалось, что этот аксессуар будет предлагаться по цене 150 евро, а теперь появились новые подробности и первые изображения Samsung DeX Station.

Док-станция Samsung DeX Station для Samsung Galaxy S8 оснащена системой активного охлаждения

Samsung DeX Station позволит подключить монитор или телевизор, а также клавиатуру и мышь. Картинка на внешний дисплей будет выводиться в разрешении 4К при 30 к/с. Аксессуар будет оснащен разъемами USB-C и HDMI, двумя портами USB 2.0, а также 100-мегабитным портом Ethernet.

Док-станция Samsung DeX Station для Samsung Galaxy S8 оснащена системой активного охлаждения

Также известно, что док-станция Samsung DeX Station будет оснащена системой активного охлаждения. История с Galaxy Note7 многому научила производителя, который теперь подходит к вопросу охлаждения своих устройств даже с перестраховкой.

Смартфон и аксессуар будут представлены 29 марта.

/22 мар, 12:26/ автор: Jin (iXBT.com) сайт: www.ixbt.com

В конце февраля компания Lenovo анонсировала смартфоны Moto G и Moto G Plus пятого поколения, которые получили названия Moto G5 и Moto G5 Plus.

Изначально покупателям были предложены две цветовые версии, Lunar Grey и Fine Gold. В ближайшее время в продаже появится смартфон в новом цвете, который называется Blue Sapphire.

Смартфон Moto G5 в цвете Blue Sapphire предстал на первых фотографиях

Данные фотографии опубликовал известный инсайдер Роланд Куандт (Roland Quandt) на своей страничке в Twitter.

Смартфон Moto G5 в цвете Blue Sapphire предстал на первых фотографиях

Никаких отличий в аппаратном плане от ранее представленных смартфонов синий Moto G5 иметь не будет.

/22 мар, 12:26/ автор: MPAK (iXBT.com) сайт: www.ixbt.com

Компания Google вчера ночью представила ОС Android O и сделала доступной первую версию для разработчиков. Пока неизвестно, как будет в итоге называться система. Есть мнение, что выбрано имя Oreo, но в итоге может оказаться, что это тестовое имя, а окончательное будет другим.

Android O доступна для установки на несколько устройств

В новой системе уже сейчас можно обнаружить множество нововведений и доработок, а к моменту релиза их число явно увеличится. Среди новшеств можно выделить следующие:

  • Улучшенное энергопотребление — Android O выделяет меньше ресурсов для приложений в фоне. Кроме того, приложения в фоне будут ограничено потреблять трафик и данные GPS;
  • Темы оформления — в Android O впервые появятся темы оформления, привычные всем пользователям сторонних лаунчеров. Пока заявлены только тёмная и светлая темы, но их количество должно увеличиться;
  • Автозаполнение — в новой ОС появится функция автозаполнения различных форм, привычная по браузеру Chrome;
  • Иконки — во-первых, у разработчиков появилась возможность создавать адаптивные иконки, подстраивающиеся под цветовую тему или обои рабочего стола. Во-вторых, на некоторых иконках теперь будет отображаться число непросмотренных уведомлений. Такое тоже можно встретить на некоторых сторонних лаунчерах;
  • Режим «Не беспокоить» — в этом режиме у пользователя появится возможность отключать на 15, 30 или 60 минут оповещения для любого конкретного приложения;
  • Режим «Картинка в картинке» — такой теперь появится на всех устройствах. Есть возможность изменять размеры каждого окна;
  • Оповещения — появилась группировка оповещений по категориям. У пользователя есть больше возможностей настройки параметров выдачи уведомлений.

Из остального можно отметить поддержку Sony LDAC, цветовых профилей DCI-P3, AdobeRGB и Pro Photo RGB, поддержку WebView, Java 8 API, java.time API, улучшенную поддержку физических клавиатур и дополнительные возможности настройки внешнего вида статус бара и панели навигации.

Установить версию для разработчиков уже можно, будучи владельцем Nexus 5X, Nexus 6P, Nexus Player, Google Pixel, Pixel XL и Pixel C. Релиз окончательной версии намечен на третий квартал. Вероятно, вместе с новыми смартфонами.

/22 мар, 12:06/ автор: Jin (iXBT.com) сайт: www.ixbt.com

Напомним, смартфоны Samsung Galaxy S7 и S7 Edge оснащены аккумуляторами емкостью 3000 и 3600 мА•ч соответственно. В начале февраля источники сообщили, что емкость аккумуляторов Samsung Galaxy S8 и Galaxy S8+ составит 3250 и 3750 мА•ч соответственно.

Однако затем стало известно, что после завершения ряда тестов компания Samsung приняла решение оснастить младшую модель аккумулятором емкостью 3000 мА•ч, а старшую — 3500 мА•ч.

Фотографии аккумуляторов Samsung Galaxy S8 и Galaxy S8+ подтверждают их емкость
Аккумулятор Samsung Galaxy S8+ произведен 7 марта 2017

Теперь же в Сети появились фотографии аккумуляторов, которые полностью подтверждают информацию, изложенную во втором абзаце данной заметки. Аккумуляторы Samsung Galaxy S8 и Galaxy S8+ характеризуются напряжением 3,85 В, которое увеличивается до 4,4 В при зарядке.

Фотографии аккумуляторов Samsung Galaxy S8 и Galaxy S8+ подтверждают их емкость

Анонс смартфонов состоится 29 марта.

/22 мар, 11:25/ автор: Jin (iXBT.com) сайт: www.ixbt.com

Пользователи устройств Apple прекрасно знают о возможности брать фильмы напрокат в iTunes Store и воспроизводить их на Mac, iPod, iPhone, iPad, а также на Apple TV.

С момента появления данной возможности прошло около девяти лет, все это время пользователи могли просматривать взятый в прокат фильм только на устройстве, с которого была произведена оплата услуги.

То есть начать смотреть фильм на смартфоне или планшете, а завершить просмотр на большом экране домашнего кинотеатра было невозможно. Свежее обновление iTunes за версией 12.6 вносит долгожданное нововведение, основная идея которого сводится к фразе «заплати один раз, смотри на чем угодно».

Прокат фильмов в iTunes, наконец, заработал на нескольких устройствах

Для того, чтобы воспользоваться новой возможностью, вам понадобится прошивка iOS 10 для iPhone и iPad, а также tvOS 10.2 для Apple TV. Эти прошивки пока что находятся в стадии открытого бета-тестирования, однако в самое ближайшее время нововведение станет доступно всем владельцам устройств Apple.

/22 мар, 11:11/ автор: Jin (iXBT.com) сайт: www.ixbt.com

Компания Apple вчера обновила ассортимент своего онлайнового магазина, представив красный iPhone 7, новые версии iPhone SE с 32 и 128 ГБ флэш-памяти, относительно новый iPad, ремешки для часов Apple Watch.

Apple выпустила силиконовые и кожаные чехлы для iPhone 7

Также были выпущены новые силиконовые чехлы для iPhone 7, которые доступны в цветах Azure, Camellia и Pebble. Чехол для iPhone 7 стоит 35 долларов, для iPhone 7 Plus — 39 долларов.

Apple выпустила силиконовые и кожаные чехлы для iPhone 7

Кожаные чехлы для iPhone 7 и iPhone 7 Plus предлагаются за 45 и 49 долларов соответственно. Они доступны в цветах Sapphire, Taupe и Berry.

Кроме того, владельцы iPhone SE могут приобрести кожаный чехол в различных цветах за 39 долларов.

/22 мар, 11:02/ автор: Jin (iXBT.com) сайт: www.ixbt.com

Вчера компания Apple представила новый планшет iPad, который при ближайшем рассмотрении оказался практически полной копией iPad Air 2, выпущенного в 2014 году.

Одновременно с этим было объявлено о прекращении продаж модели iPad mini 2, которая поступила в продажу в ноябре 2013 и в последнее время продавалась в США по цене 269 долларов.

Apple прекратила продажи планшета iPad mini 2

Наиболее доступной моделью линейки iPad сегодня является устройство с дисплеем диагональю 9,7 дюйма стоимостью 329 долларов. Если вы предпочитаете более компактную модель, то для вас предусмотрен планшет iPad mini 4 с дисплеем диагональю 7,9 дюйма и 128 ГБ флэш-памяти за 399 долларов.

Также в линейке представлены модели iPad Pro с дисплеями диагональю 9,7 и 12,9 дюйма. В ближайшие месяцы ожидается анонс нового iPad Pro с безрамочным дисплеем диагональю 10,5 дюйма.

/22 мар, 10:54/ автор: MPAK (iXBT.com) сайт: www.ixbt.com

Компания Chieftec привезла на выставку CeBIT 2017 несколько новых и не очень устройств.

К примеру, модульные блоки питания GMP-1250C и APS-850CB уже давно продаются.

Chieftec на CeBIT 2017 показала несколько новинок


Chieftec на CeBIT 2017 показала несколько новинок

Это же касается и модели SFX-500GD-C.

Chieftec на CeBIT 2017 показала несколько новинок

А вот модель CSN-650C нам ранее не встречалась. Данный блок полностью модульный, оснащается 80-миллиметровым вентилятором и имеет сертификат 80 Plus Gold.

Chieftec на CeBIT 2017 показала несколько новинок

Показали и недорогие блоки TSP-500S, GPB-350S и GPF-350P, относящиеся к различным сериям.

Chieftec на CeBIT 2017 показала несколько новинок

Корпус Cube CI-01B-OP — новинка для компании. Это компактный корпус для системных плат формата mATX. Он характеризуется габаритами 390 х 265 х 325 мм. Есть возможность установки четырёх плат расширения, трёх накопителей формата 2,5 дюйма, двух формата 3,5 дюйма, одного накопителя формата 5,25 дюйма и одного внешнего типоразмера 3,5 дюйма. Высота процессорного охладителя не должна превышать 150 мм, зато длина видеокарты может достигать 320 мм.

Корпус с подсветкой, который можно видеть на фото ниже, представляет собой прототип. Это продолжатель идей модели SJ-06B, которую показали на CeBIT два года назад. На фото видно, что это компактная модель.

Chieftec на CeBIT 2017 показала несколько новинок

Корпус AL-01B-OP — классический. Он достаточно крупный, чтобы вместить платы ATX. Габариты позволяют установить внутрь до семи плат расширения. Корзина для двух накопителей формата 3,5 дюйма изолирована от общего пространства и находится под нижним кожухом. Также есть возможность установки трёх моделей типоразмера 2,5 дюйма и одного внешнего формата 5,25 дюйма. Корпус позволяет использовать процессорные кулеры высотой до 150 мм и видеокарты длиной до 350 мм.

Chieftec на CeBIT 2017 показала несколько новинок

В дополнение Chieftec показала различные аксессуары и устройства вроде внутренних кардридеров.

Chieftec на CeBIT 2017 показала несколько новинок
/22 мар, 10:22/ автор: Jin (iXBT.com) сайт: www.ixbt.com

Компания Xiaomi открыла вторую фабрику по производству смартфонов в Индии, заявив, что она уже вышла на запланированную скорость производства, которая составляет один смартфон в секунду.

Вице-президент компании и глава Xiaomi India Ману Кумар Джейн (Manu Kumar Jain) заявил, что несмотря на наличие двух заводов, которые работают на полной мощности, спрос по-прежнему превышает предложение.

На заводах Xiaomi в Индии работает около 5000 человек, 90% из которых — женщины. В Индии Xiaomi выпускает две версии Xiaomi Redmi 3S и три модели Xiaomi Redmi Note 4.

Вторая фабрика Xiaomi в Индии производит по одному смартфону в секунду

Xiaomi планирует активно развивать в стране розничную торговлю, так же, как и у себя на родине в Китае.

/22 мар, 10:19/ автор: Юрий Гитин (iXBT.com) сайт: www.ixbt.com

Представлены модули памяти Corsair Vengeance RGB DDR4, в которых производитель уделил большое внимание тонкой настройке освещения. Под перфорированными радиаторами из анодированного алюминия скрывается рассеиватель со светодиодами, способными менять свой цвет, причем для их питания или управления не потребуются дополнительные кабели. Цвет может меняться в зависимости от заданных для каждого модуля ОЗУ эффектов или температуры определенных компонентов системы и комплектующих, поддерживающих шину Corsair Link. Можно настроить одномоментную смену цвета при достижении пороговой температуры.

Планки Corsair Vengeance RGB DDR4 достигли частоты 3 ГГц
Планки Corsair Vengeance RGB DDR4 достигли частоты 3 ГГц

Оригинальная печатная плата вкупе с поддержкой профилей Intel XMP 2.0, чипсетов Intel Z170, Z270, X99 и платформы AMD Ryzen обещает высокий разгонный потенциал. В данный момент серия Corsair Vengeance RGB DDR4 состоит только из комплектов частотой 2666 и 3000 МГц, объем которых составляет 16, 32 и 64 ГБ, он набран планками по 8 ГБ каждая. Напряжение составляет 1,2 В, формула задержек 16-18-18-35, у комплекта частотой 3000 МГц уже 1,35 В и 15-17-17-35 соответственно. Цена зависит от объема комплекта и составляет от 170 до 680 евро.

/22 мар, 10:14/ автор: Jin (iXBT.com) сайт: www.ixbt.com

Хорошо осведомленные источники сообщают, что компания Samsung Electronics показала на выставке Mobile World Congress 2017 за закрытыми дверьми несколько новых технологий, которые будут применяться в дисплеях грядущих устройств.

Речь идет о панелях OLED без поляризатора, технологиях Force Touch, специальных дисплеях, предназначенных для людей, страдающих дальтонизмом (менее 6% населения мира) и гарнитурах виртуальной реальности с дисплеями высокого разрешения. Все они найдут применение в устройствах, которые выйдут в ближайшие год-два.

В частности, технология Force Touch позволит распознавать различные степени нажатия и управлять смартфоном, например, под водой. Источник пишет, что пока технология не выглядит полностью работоспособной. Дисплеи OLED без поляризатора будут отличаться высокой яркостью при значительно меньшем энергопотреблении, что является очень важным для смартфонов и планшетов.

На MWC 2017 Samsung показала дисплей OLED без поляризатора, а также гарнитуру VR с плотностью пикселей 1200 ppi

Что касается гарнитуры виртуальной реальности, то плотность пикселей представленного образца составляла 1200 ppi. Потребительская версия может получить дисплей с плотностью пикселей 1500 ppi. Напомним, шлемы виртуальной реальности Oculus Rift и HTC Vive получили дисплеи, которые характеризуются плотностью 456 и 447 ppi соответственно.

/22 мар, 09:57/ автор: Jin (iXBT.com) сайт: www.ixbt.com

Вчера компания Xiaomi провела пресс-конференцию в Пекине, на которой была представлена новая линейка умных телевизоров Xiaomi Mi TV 4A.

Все телевизоры оснащены однокристальной системой Amlogic T962, в конфигурацию которой входят четыре процессорных ядра с частотой 1,5 ГГц и GPU Mali 450, который работает на частоте 750 МГц. Объем оперативной памяти DDR4 составляет 2 ГБ.

Цены на новые умные телевизоры Xiaomi Mi TV 4A начинаются с отметки $300

В линейке представлены семь моделей диагональю от 43 до 65 дюймов, которые также отличаются разрешением и наличием функции голосового управления. Три старшие модели также будут доступны в конфигурации с 32 ГБ флэш-памяти eMMC5.1.

Самая младшая модель диагональю 43 дюйма разрешением 1920 х 1080 пикселей предлагается по цене около 300 долларов. Старшая оснащена 4К-панелью диагональю 65 дюймов и функцией голосового управления, она стоит около 900 долларов. Микрофон располагается на фирменном пульте дистанционного управления.

Цены на новые умные телевизоры Xiaomi Mi TV 4A начинаются с отметки $300

Телевизоры поддерживают технологии HDR10 и Dolby/DTS, они оснащены адаптерами Wi-Fi 802.11ac и Bluetooth 4.2, а также портами HDMI, USB 2.0, Ethernet и прочими разъемами.

Начало продаж запланировано на 23 марта.

/22 мар, 09:43/ автор: Jin (iXBT.com) сайт: www.ixbt.com

Компания Ulefone сообщила, что продажи оригинальной модели Ulefone Power составили почти 900 тыс. смартфонов, добавив, что в тройке самых популярных стран присутствует Россия.

Опубликованы все характеристики смартфона Ulefone Power 2

Также были опубликованы окончательные характеристики преемника в лице Ulefone Power 2, который получил такой же аккумулятор 6050 мА•ч. Поддержка технологии быстрой зарядки PumpExpress 2.0 позволит зарядить его полностью за два часа. Автономность устройства должна вырасти благодаря новым литий-полимерным элементам Sony с более пологой кривой разряда.

На момент анонса не сообщалось, какая именно однокристальная система применена в Ulefone Power 2. Теперь мы знаем, что речь идет о восьмиядерной MT6750T. Объем ОЗУ составляет 4 ГБ, емкость флэш-памяти будет равна 64 ГБ. Предусмотрен слот для карт памяти microSD (до 256 ГБ). Диагональ и разрешение экрана составят 5,5 дюйма и 1920 х 1080 пикселей соответственно, он покрыт защитным стеклом Corning Gorilla Glass 3. Смартфон Ulefone Power 2 будет работать под управлением ОС Android 7.0.

Опубликованы все характеристики смартфона Ulefone Power 2

Разрешение основной камеры равно 13 Мп, объектив имеет диафрагму F/2,2, фронтальная получила восьмимегапиксельный датчик изображения.

В продажу смартфон поступит 29 марта.

/22 мар, 08:30/ автор: MPAK (iXBT.com) сайт: www.ixbt.com

Как известно, семейство смартфонов Galaxy J для Samsung является очень важным, так как в количественном выражении таких моделей производитель продаёт больше всего.

Смартфон Galaxy J5 нового поколения появился в базе ПО Geekbench. Благодаря этому мы теперь знаем, что в основе этого смартфона будет лежать SoC Exynos 7870. Это восьмиядерная однокристальная система, производящаяся по 14-нанометровому техпроцессу.

Смартфон Samsung Galaxy J5 нового поколения оснастят 14-нанометровой SoC

Для сравнения, текущее поколения Galaxy J5 основано на достаточно старой Snapdragon 410. То есть можно ожидать существенный прирост производительности, да и автономности, видимо, тоже. Также в конфигурацию новинки войдёт 2 ГБ оперативной памяти. В качестве ОС уже сейчас выступает Android 7.0.

Учитывая, что текущее поколение было анонсировано в конце марта прошлого года, ожидать появления новинок можно в самое ближайшее время.

/22 мар, 08:00/ автор: MPAK (iXBT.com) сайт: www.ixbt.com

Смартфон Alcatel Idol 5S появился в базе данных GFXBench, что позволяет нам узнать его параметры.

В основе новинки будет лежать SoC MediaTek Helio P20, что подтверждает ранние данные. Оперативной памяти в устройстве будет 3 ГБ, а флэш-памяти — 32 ГБ. По крайней мере именно такая версия прошла тесты. Разрешение камер будет равным 12 и 8 Мп.

Смартфон Alcatel Idol 5S получит 3 ГБ ОЗУ

Разрешение экрана останется равным Full HD. Что касается диагонали, ПО указывает на 5,2 дюйма, но оно часто ошибается при тестировании несерийных образцов. Радует то, что уже сейчас в качестве ОС выступает Android 7.0.

/22 мар, 07:30/ автор: MPAK (iXBT.com) сайт: www.ixbt.com

Компания Hyperloop Transportation Technologies (HTT), занимающаяся разработкой концепции вакуумного поезда Hyperloop, как сообщает источник, заявила о том, что вскоре начнёт строительство своей первой пассажирской капсулы.

Создание пассажирского модуля происходит в партнёрстве с испанской компанией Carbures. Ожидается, что готовое решение представят в начале следующего года. Это будет именно такая версия капсулы, которая в дальнейшем будет использоваться в работе.

Hyperloop Transportation Technologies приступает к созданию пассажирской капсулы

Уже сейчас известно, что капсула имеет длину 30 метров и ширину 2,7 м при массе 20 тонн. Она будет рассчитана на 28-40 пассажиров. Также HTT сообщает, что скорость движения составит более 1200 км/ч, но это ориентировочное значение, которое с минимальными изменениями фигурирует во всех новостях, связанных с Hyperloop.

На самом деле ещё не существует ни одного полноценного испытательного трека. Соответственно, не было проведено ни единого полноценного испытания с достаточно крупными моделями, так что говорить о достижении каких-то конкретных скоростей вряд ли корректно.

Пока единственные испытания, которые можно назвать хотя бы отдалённо соответствующими концепции Hyperloop, были проведены в начале года в рамках конкурса Hyperloop Pod Competition.

/22 мар, 07:00/ автор: MPAK (iXBT.com) сайт: www.ixbt.com

Последнее время рынок электромобилей привлекает всё больше молодых компаний, которые сразу анонсируют свои разработки, хотя до запуска в производство может пройти ещё много лет.

Судя по всему, космическая отрасль может вскоре тоже стать мейнстримом. По крайней мере количество стартапов, заявляющих о своих амбициях на этом рынке, тоже стало активно расти.

Один из них — компания Rocket Lab, которая вчера во время очередного раунда финансирования привлекла 75 млн долларов. Правда, компания не такая уж и молодая. Основная идея компании заключается в том, чтобы запускать ракеты с полезным грузом как можно чаще. Естественно, огромные ракеты-носители для этих целей не годятся. Поэтому Rocket Lab занимается разработкой ракеты-носителя Electron.

Rocket Lab пополнит ряды частных космических компаний

Electron использует кислородно-керосиновые двигатели Rutherford, все компоненты которых созданы методом трёхмерной печати. Первая ступень Electron оснащена девятью такими двигателями, что обеспечивает тягу 162 кН (пиковая — 192 кН). Вторая ступень оснащена специальной версией двигателя Rutherford, обеспечивающего тягу 22 кН. В целом ракета-носитель высотой 17 м может вывести на орбиту до 225 кг груза. Так как это весьма скромное значение, основные клиенты Rocket Lab — компании, которым нужно в большом количестве запускать небольшие спутники.

Один запуск Electron обойдётся в 4,9 млн долларов, что во много раз дешевле, чем запуски больших ракет. На данный момент в распоряжении Rocket Lab имеются три незаконченные ракеты. Одна из них проходит заключительные испытания, а две других находятся в процессе сборки. Первый запуск намечен на ближайшие пару месяцев.

Общая сумма инвестиций, которые привлекла Rocket Lab с момента основания в 2006 году, составляет 148 млн долларов. При этом рыночная стоимость компании превышает 1 млрд долларов.

/22 мар, 00:09/ автор: Юрий Гитин (iXBT.com) сайт: www.ixbt.com

Аналитики Forward Insights подвели итоги по поставкам на рынке твердотельных накопителей за весь 2016 год. Несмотря на затишье перед внедрением новых типов флэш-памяти (даже 3D NAND еще далека от повсеместного использования), процентное соотношение в поставках даже крупнейших игроков менялось в течение года достаточно сильно. Так, Samsung Electronics по итогам года получила 21% от общего пирога, хотя в первом квартале достигала 34%. При этом южнокорейская компания осталась на лидирующей позиции.

Лидирующие поставщики твердотельных накопителей: Samsung, Kingston и SanDisk

Второе место удержала Kingston Digital: со своими 16% компания отгрузила в течение года 10,1 млн SSD от общего количества в 63 млн единиц. В первом квартале производитель достиг 19% от общего объема поставок. На третьем месте с большим отставанием находится SanDisk (7%), замыкают первую пятерку A-Data и Micron.

Поиск по сайту
Обратная связь
Разработчикам
Реклама на сайте

Политика конфиденциальности
Пользовательское соглашение

 

Filebox.ru каталог архив программного обеспечения для Windows, работает с 2003 года.
Copyright © 2003-2026 Filebox.ru All Rights Reserved.

Яндекс.Метрика