Лента технологий за 21/03/2017, Вторник - Filebox.ru  Программы | Новости | ТОП-100 программ | Статьи

Лента технологий за 21/03/2017, Вторник - Filebox.ru

Лента технологий | Подборка за 21 марта 2017 г. 00:00:00

/21 мар, 20:00/ автор: MPAK (iXBT.com) сайт: www.ixbt.com

Reuters сообщает о том, что японский оператор SoftBank вложил 300 млн долларов в неизвестную большинству молодую компанию WeWork, которая занимается весьма оригинальным бизнесом.

WeWork создаёт рабочие пространства для стартапов и небольших компаний. Делается это следующим образом. WeWork по сниженной цене арендует офисные помещения, затем разделяет их на небольшие зоны и сдаёт в аренду стартапам или небольшим компаниям, которым не нужны большие площади. В итоге WeWork зарабатывает на разнице в стоимости аренды, а молодые компании получают небольшой офис там, где сами бы его арендовать не смогли.

SoftBank вложит в WeWork 3 млрд долларов

Причём преимуществом в данном случае является соседство молодых компаний. Ведь, несмотря на то, что они могут заниматься совершенно разными направлениями, их объединяет этап развития, на котором находятся эти компании. Кроме того, WeWork создаёт для своих арендаторов зоны отдыха, коворкинги и прочие удобства, а также берёт на себя вопросы обслуживания, то есть арендаторам не нужно беспокоиться об оплате автоматов с кофе, интернета и прочих мелочах.

SoftBank сообщает, что данный этап финансирования WeWork — первый. В целом в эту компанию японский гигант намерен вложить до 3 млрд долларов.

/21 мар, 19:34/ автор: MPAK (iXBT.com) сайт: www.ixbt.com

Кроме «нового» планшета iPad и обновлённых смартфонов компания Apple представила и действительно новый продукт. Только это не устройство, а программа под названием Clips.

Она создана для тех, кто активно пользуется социальными сетями, онлайн-трансляциями, любит выкладывать множество фото и видео и так далее. То есть на современную молодёжь.

Apple представила приложение Clips

Если конкретнее, Clips — это ПО для простой и быстрой обработки видео. Программа позволяет создавать видео длиной до 1 часа из видеороликов, длина которых не должна превышать 30 минут, а также фотографий. Также есть возможность накладывать на видео музыкальное сопровождение, применять фильтры, добавлять постеры, смайлы и так далее.

Интересна функция Live Titles. Она позволяет создать анимированные субтитры, причём просто посредством диктовки соответствующего текста. ПО понимает 36 языков. Есть ли среди них русский, пока неизвестно, так как Clips пока недоступно для скачивания. Для iOS ПО должно появиться в следующем месяце, а судьба версии для Android пока остаётся тайной.

Само собой, приложение позволит делиться получившимся видео в самых различных социальных сетях. Также стоит отметить, что ПО будет бесплатным.

/21 мар, 19:15/ автор: MPAK (iXBT.com) сайт: www.ixbt.com

Как известно, в мобильном сегменте во второй половине года должны появиться гибридные процессоры AMD Raven Ridge, основанные на архитектуре Zen. Пока какой-либо внятной информации о них нет, но в Сети уже появились тесты инженерного образца такого процессора.

Для начала отметим, что тесты появились (хотя затем были удалены) на сайте компании Zhaoxin, которая является разработчиком процессоров. К примеру, недавно мы узнали, что в ПК Lenovo появятся процессоры Zhaoxin ZX-D. Так что источник в данном случае весьма достоверный.

Некий APU AMD Raven Ridge выступает в тесте Fritz Chess на уровне Core i5-6600

К сожалению, изображение с диаграммой весьма посредственного качества, так что немного его расшифруем. Некий экземпляр APU Raven Ridge с четырьмя ядрами и поддержкой SMT, работающий на неизвестной частоте, набрал в тесте Fritz Chess 11 000 баллов. Для сравнения, настольный CPU Core i5-6600 там же набирает 11 333 балла, то есть результаты практически сопоставимы. К сожалению, источник предоставил лишь этот тест, так что полноценно судить о производительности новых APU AMD пока нельзя.

Также интерес вызывает результат восьмиядерного CPU Zhaoxin ZX-E, который набирает в этом тесте 10 500 баллов. Будет не менее интересно взглянуть на его полноценные тесты.

/21 мар, 19:04/ автор: Accent (iXBT.com) сайт: www.ixbt.com

Специалистами швейцарской высшей технической школы Цюриха (ETH) и отделения IBM Research в Цюрихе создан миниатюрный окислительно-восстановительный проточный источник питания. По словам исследователей, подобные изделия в перспективе можно будет интегрировать в микросхемы, чтобы не только обеспечивать их питанием, но и охлаждать.

Окислительно-восстановительный проточный источник питания имеет рекордно высокую эффективность

В окислительно-восстановительном проточном источнике питания электричество вырабатывается в результате электрохимической реакции с участием двух жидких электролитов, прокачиваемых через источник внешним насосом. Жидкость одновременно может отводить тепло.

Прототип, созданный учеными, имеет толщину всего 1,5 мм. Предполагается, что подобные элементы будут располагаться между кристаллами микросхем с объемной компоновкой. От своих предшественников новое изделие отличается рекордно высокой плотностью энергии, достигающей 1,4 Вт на каждый сантиметр поверхности. Даже за вычетом расходов на прокачку жидкости получается значение, превышающее 1 Вт/см². Результаты измерений показывают, что электролиты действительно эффективно отводят тепло. Они способны отвести больше тепловой энергии, чем источник вырабатывает электрической энергии (которая, собственно, и преобразуется в тепловую энергию в процессе работы микросхемы).

Источник: ETH

/21 мар, 18:49/ автор: MPAK (iXBT.com) сайт: www.ixbt.com

Порой утечки о тех или иных новинках несут лишь часть правды. Так на днях в Сети появилось несколько новостей о смартфоне Nubia Z17 и его уменьшенной версии. Некоторые источники даже создали поддельные изображения, на которых на самом деле был изображён смартфон Nubia N1. Параллельно многие недоумевали, почему после Z11 вдруг появляется модель Z17.

Смартфон Nubia M2 получил сдвоенную камеру

Всё оказалось проще. Смартфон анонсирован и называется он Nubia M2, так что никакой путаницы не произошло. Первое, чем выделяется новинка — схожесть со смартфоном iPhone 7 Plus за счёт похожей укладки антенн и оформления сдвоенной камеры. Новинка компании ZTE, которой и принадлежит бренд Nubia, оснащается экраном Full HD диагональю 5,5 дюйма, выполненным по технологии AMOLED. В основе смартфона — SoC Snapdragon 625.

Смартфон Nubia M2 получил сдвоенную камеру

Также в конфигурацию входят 4 ГБ оперативной и 64 либо 128 ГБ флэш-памяти. Двойная камера основана на двух 13-мегапиксельных датчиках Sony, один из которых монохромный. То есть тут система копирует уже не iPhone, а аппараты Huawei. Фронтальная камера при этом имеет разрешение 16 Мп.

Ёмкость аккумулятора равна 3630 мА·ч. Есть поддержка технологии быстрой зарядки NeoCharge и порт USB-C. За смартфон просят 390 либо 435 долларов.

Смартфон Nubia M2 получил сдвоенную камеру

Также Nubia представила смартфон M2 Lite. Данный смартфон располагает экраном IPS диагональю 5,5 дюйма разрешением 1280 х 720 пикселей, SoC MediaTek Helio P10, 3 либо 4 ГБ ОЗУ, 32 либо 64 ГБ флэш-памяти, 13-мегапиксельной основной и 16-мегапиксельной фронтальной камерами. Что интересно, данный аппарат работает под управлением Android 7.0, тогда как для Nubia M2 заявлена Android 6.0.

Смартфон Nubia M2 получил сдвоенную камеру

Ну и последней из новинок является модель Nubia N2. Смартфон располагает таким же экраном, как Nubia M2, таким же набором памяти, камерами, как у M2 Lite, какой-то восьмиядерной SoC MediaTek и аккумулятором ёмкостью 5000 мА·ч. За него просят 290 долларов.

/21 мар, 18:23/ автор: MPAK (iXBT.com) сайт: www.ixbt.com

Компания ARM сегодня представила технологию DynamIQ. По словам самой ARM, DynamIQ — монументальный сдвиг в многоядерной архитектуре для отрасли. Также это основа будущих процессоров Cortex-A. Проще говоря, в ближайшем будущем эта технология станет столь же распространённой, сколь распространены однокристальные системы архитектуры ARM.

Если точнее и проще, DynamIQ — это развитие технологии big.LITTLE. Напомним, технология big.LITTLE, появившаяся в 2011 году, позволила разработчикам однокристальных систем создавать процессоры из нескольких кластеров. Часть из них могла состоять из энергоэффективных ядер (к примеру, Cortex-A53), а часть включать высокопроизводительные (к примеру, Cortex-A73).

Технология ARM DynamIQ позволит создавать кластеры из восьми различных ядер

Технология DynamIQ позволяет создавать кластеры, включающие совершенно разные процессорные ядра. То есть процессор может включать один, два или более кластеров, которые будут содержать определённое количество различных процессорных ядер. К примеру, один кластер будет включать два ядра Cortex-A73, пять ядер Cortex-A53 и ещё какое-нибудь дополнительное ядро Cortex-M0. Гибкость технологии позволит разработчикам создавать кластеры, которые будут наилучшим образом оптимизированы для тех или иных задач. Всего в один кластер могут входить восемь различных ядер. ARM называет этот подход «правильный процессор для правильных задач».

ARM отмечает преимущества такой технологии при создании решений для автомобильного сегмента, для работы с системами искусственного интеллекта и так далее. К примеру, ARM утверждает, что новая технология поспособствует повышению производительности вычислительных возможностей ИИ до 50 раз в ближайшие три-пять лет. Но на самом деле гибкость, которую обеспечивает DynamIQ, пригодится при практически любых задачах.

К сожалению, пока неизвестно, когда DynamIQ будет реализована в серийных однокристальных системах.

/21 мар, 18:20/ автор: Accent (iXBT.com) сайт: www.ixbt.com

Учитывая повышенную нагрузку, которую испытывают электронные устройства, используемые школьниками и студентами, компания Logitech сегодня представила защитный чехол для нового планшета Apple iPad. Чехол призван беречь планшет от потертостей и царапин, повреждения в результате падений и ударов.

Защитный чехол Logitech для нового планшета Apple iPad адресован школьникам и студентам

Говоря точнее, производитель предлагает комплект Logitech Rugged Combo, включающий как сам чехол Logitech Rugged Case, так и клавиатуру Logitech Add-on Keyboard for Rugged Case. Часть с клавиатурой является отсоединяемой.

Конструкция чехла включает складную опору, позволяющую поддерживать экран планшета под определенным углом к поверхности стола. Полимерный чехол обеспечивает защиту от повреждения устройства при падении на твердые поверхности с высоты до 1,8 м. Для связи клавиатуры с планшетом используется проводное подключение. Оно же служит для подачи питания. Собственного источника питания у клавиатуры нет, так что его не нужно подзаряжать или менять.

Продажи Logitech Rugged Combo, Rugged Case и Add-on Keyboard for Rugged Case уже начались.

Источник: Logitech

/21 мар, 17:43/ автор: Accent (iXBT.com) сайт: www.ixbt.com

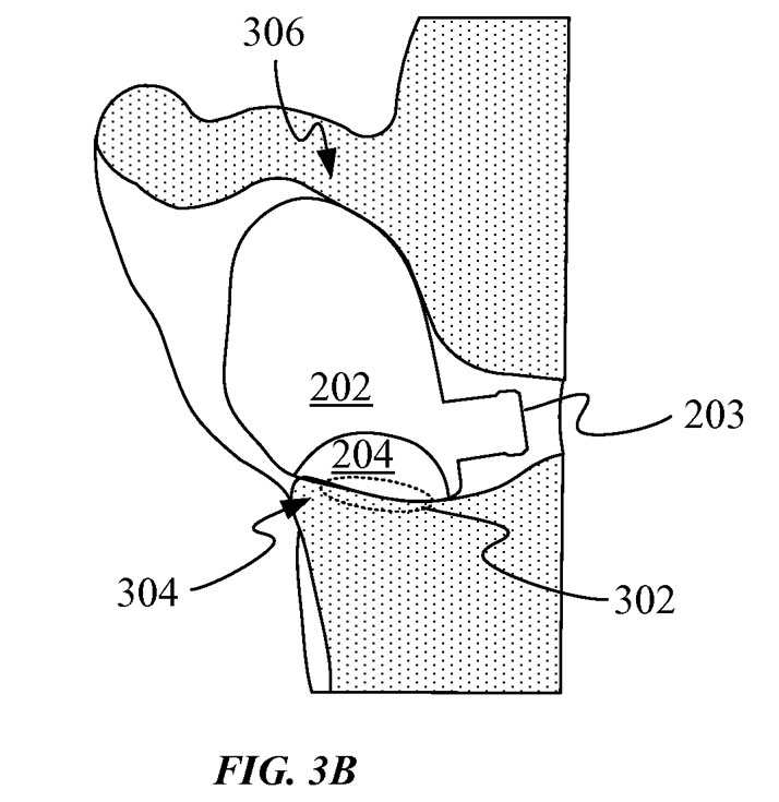
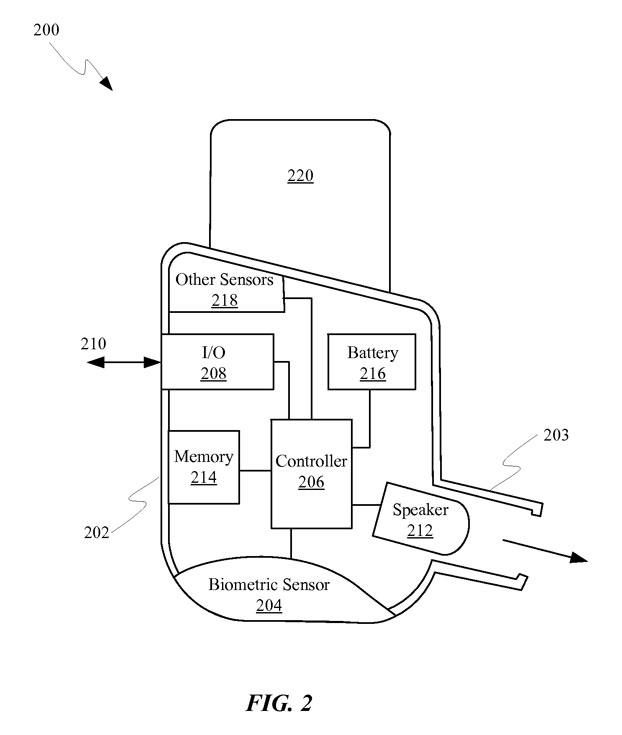
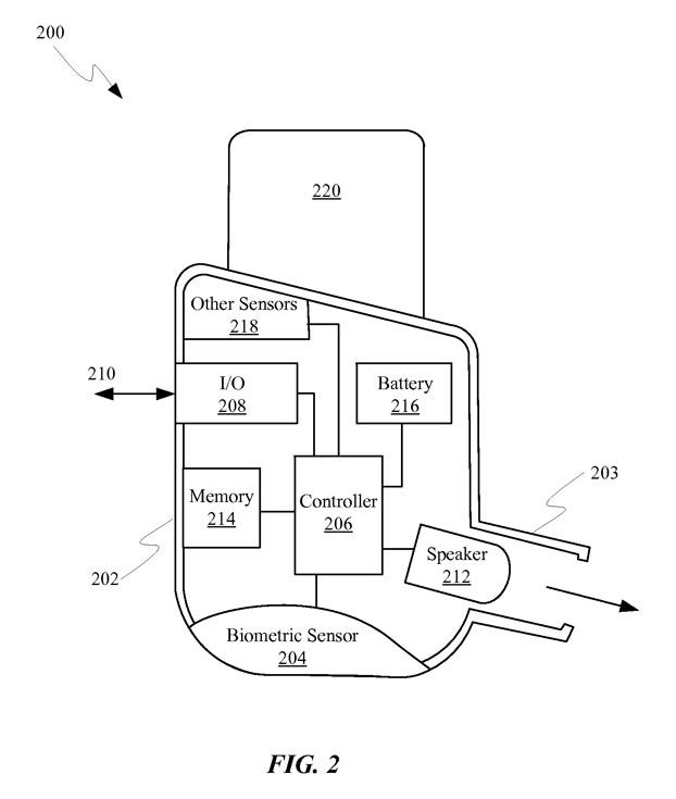
В базе данных патентного ведомства США появилась запись о патенте №9602911, выданном сегодня компании Apple. Патент, заявка на получение которого была подана в сентябре 2015 года, называется «Вставные наушники с биометрическим датчиком».

Биометрический датчик в наушнике будет касаться козелка

Описанное в патенте устройство может иметь несколько биометрических датчиков, но, по крайней мере, один из них должен быть рассчитан на контакт с козелком.

Биометрический датчик в наушнике будет касаться козелка

По замыслу изобретателей, будучи прижат к коже на этом участке, датчик сможет выполнять биометрические измерения.

Биометрический датчик в наушнике будет касаться козелка

Наушник может быть симметричным и подходить как для правого, так и для левого уха. В этом случае он должен быть оснащен датчиком, определяющим текущее положение и соответственным образом корректировать работу наушника.

Источник: USPTO

/21 мар, 17:43/ автор: Accent (iXBT.com) сайт: www.ixbt.com

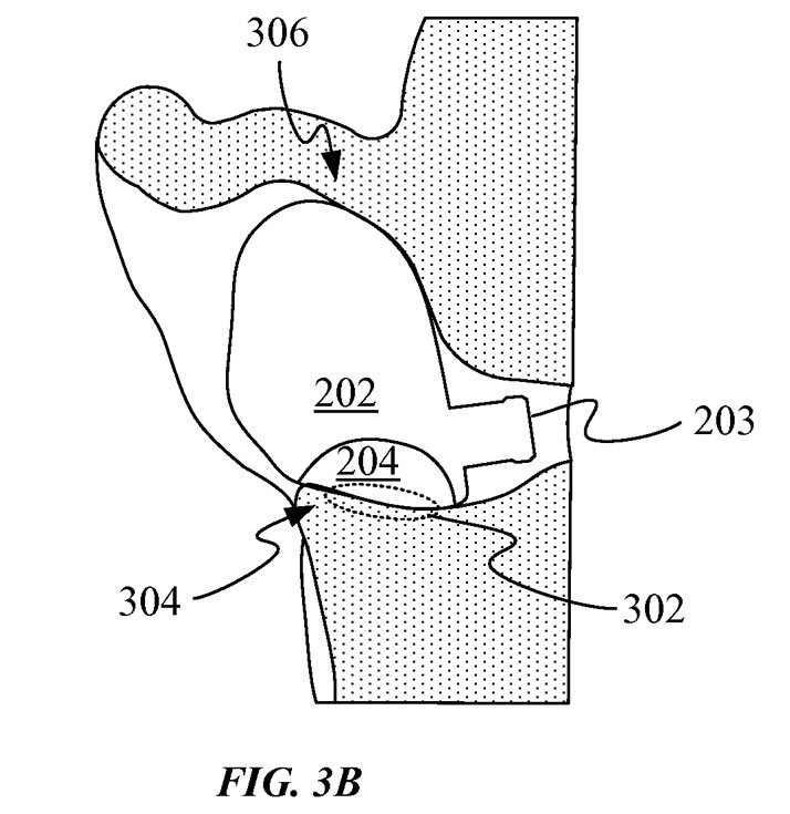
В базе данных патентного ведомства США появилась запись о патенте №9602911, выданном сегодня компании Apple. Патент, заявка на получение которого была подана в сентябре 2015 года, называется «Вставные наушники с биометрическим датчиком».

Биометрический датчик в наушнике будет касаться козелка

Описанное в патенте устройство может иметь несколько биометрических датчиков, но, по крайней мере, один из них должен быть рассчитан на контакт с козелком.

Биометрический датчик в наушнике будет касаться козелка

По замыслу изобретателей, будучи прижат к коже на этом участке, датчик сможет выполнять биометрические измерения.

Биометрический датчик в наушнике будет касаться козелка

Наушник может быть симметричным и подходить как для правого, так и для левого уха. В этом случае он должен быть оснащен датчиком, определяющим текущее положение и соответственным образом корректировать работу наушника.

Источник: USPTO

/21 мар, 17:17/ автор: Accent (iXBT.com) сайт: www.ixbt.com

Наряду с прототипом объектива Irix 45mm f/1.4, компания Irix показала переходник для установки объективов с креплением Canon EF на камеры с креплением Sony E.

Irix готовит к выпуску переходник для установки объективов с креплением Canon EF на камеры с креплением Sony E

Изделие называется Irix ILA-FE2EF Sony E-Mount Adapter. По словам производителя, оно будет выпущено в ближайшее время. О цене пока данных нет.

Кроме того, были показаны фильтры для объективов Irix.

Кроме того, производитель показал фильтры для объективов Irix

Установка фильтров перед передним элементом широкоугольных объективов Irix не предусмотрена. Вместо этого можно установить фильтр за задним элементом. Для этого там есть специальное крепление.

Объективы выпускаются в вариантах с креплениями Canon EF, Nikon F и Pentax K

Сколько будут стоить фирменные светофильтры и когда они появятся в продаже, источник не сообщает.

Источник: Ephotozine

/21 мар, 17:09/ автор: MPAK (iXBT.com) сайт: www.ixbt.com

Как и ожидалось, компания Apple пополнила свой ассортимент несколькими продуктами. Про новые версии iPhone SE и красные iPhone 7 и 7 Plus мы уже сообщили. Основной же новинкой можно считать новый планшет iPad.

Однако, как и в случае со смартфонами, полноценно новым это устройство назвать нельзя. Итак, планшет называется просто iPad. Он пришёл на смену iPad Air 2, который хоть и был представлен ещё в 2014 году, вполне актуален и сейчас.

Но для тех, у кого имеются более старые планшеты Apple или не имеется вовсе, теперь есть более современная модель. Новый iPad оснащается экраном диагональю 9,7 дюйма разрешением 2048 х 1536 пикселей, то есть тут нет никаких изменений, разве что новый экран стал немного ярче.

Apple представила новый планшет

Сердцем новинки служит SoC Apple A9, тогда как у iPad Air 2 — Apple A8X. Объём оперативной памяти неизвестен, а флэш-памяти в планшете 32 либо 128 ГБ. Камеры не изменились: фронтальная имеет разрешение 1,2 Мп, а основная — 8 Мп, хотя в 2017 году видеть такую фронтальную камеру в не самом дешёвом планшете весьма странно. Аккумулятора должно хватать на 10 часов работы. Конечно, имеется сканер отпечатков пальцев. Устройство доступно в версии только с Wi-Fi либо в модификации ещё и с модемом сотовой связи.

Габариты равны 240 х 169,5 х 7,5 мм при массе 469 г. То есть планшет толще и тяжелее модели Air 2! Работает новинка под управлением iOS 10.

В итоге перед нами практически полная копия планшета iPad Air 2 2014 года. Apple установила более новую платформу, но зачем-то увеличила толщину и массу. Но зато новинка дешевле. Если предшественник на старте продаж стоил не менее 500 долларов, то новый iPad оценивается всего в 330 долларов. За модель со 128 ГБ просят 430 долларов. За аналогичные версии с модемом сотовой связи придётся отдать 460 и 560 долларов соответственно. И это основное преимущество «новинки» Apple перед конкурентами, за которое многие просят отсутствие новшеств. С другой стороны, учитывая продолжающийся спад на рынке планшетов, Apple, вероятно, поступила правильнее всего.

Также можно отметить, что отныне iPad mini 4 можно купить только в версии со 128 ГБ флэш-памяти. За такую модель просят 400 либо 530 долларов, в зависимости от наличия модема.

/21 мар, 16:57/ автор: Accent (iXBT.com) сайт: www.ixbt.com

Компания Apple представила новые ремешки для умных часов Apple Watch. Весенняя коллекция 2017 года включает ремешки в полоску из плетеного нейлона, спортивные ремешки Nike и ремешки для Apple Watch Hermès.

Коллекция включает ремешки в полоску из плетеного нейлона, спортивные ремешки Nike и ремешки для Apple Watch Hermès

Среди новых ремешков есть спортивные ремешки цветов «морская галька», «розовая камелия» и лазурного цвета; ремешки из плетёного нейлона цветов «лесная ягода», «голубое озеро», «жёлтая пыльца», оранжевого, красного и тёмно-синего цвета; ремешки цветов «синий сапфир», «лесная ягода» и платиново-серого цвета с обновлённой классической пряжкой.

Коллекция включает ремешки в полоску из плетеного нейлона, спортивные ремешки Nike и ремешки для Apple Watch Hermès

Что касается спортивных ремешков Nike, они выпускаются в вариантах «антрацитовый/чёрный», «чистая платина/белый» и «чёрный/салатовый». Также предложены новые модели часов Apple Watch Nike+: с алюминиевым корпусом цвета «серый космос» и ремешком цвета «антрацитовый/чёрный», с алюминиевым корпусом серебристого цвета и ремешком цвета «чистая платина/белый».

Коллекция включает ремешки в полоску из плетеного нейлона, спортивные ремешки Nike и ремешки для Apple Watch Hermès

Наконец, коллекция ремешков для Apple Watch Hermès пополнилась моделями Double Tour из кожи Epsom цвета Bleu Zéphyr для корпуса 38 мм, Manchette из кожи Barenia цвета Fauve с двойной пряжкой для корпуса 38 мм, Simple Tour из кожи Epsom цвета Lime для корпуса 42 мм и Simple Tour из кожи Swift цвета Colvert для корпуса 42 мм. Помимо ремешков, предложена новая модель Apple Watch с корпусом 38 мм и ремешком Manchette из телячьей кожи Barenia цвета Fauve с двойной пряжкой, а также эксклюзивный спортивный ремешок Hermès фирменного оранжевого цвета.

Новые ремешки для часов Apple Watch: представлена весенняя коллекция 2017 года

Все новые ремешки уже доступны для заказа на сайте производителя, а в конце марта должны появиться в некоторых магазинах Apple Store, у авторизованных представителей Apple и операторов сотовой связи. Цены на них начинаются с отметки 3 990 рублей.

Источник: Apple

/21 мар, 16:25/ автор: Accent (iXBT.com) сайт: www.ixbt.com

Компания Adata Technology представила внешний твердотельный накопитель XPG SD700X. В этом SSD, выпускаемом объемом 256, 512 и 1024 ГБ, используется флэш-память TLC NAND с объемной компоновкой.

Компактный накопитель Adata XPG SD700X защищен от воды и пыли

Накопитель оснащен интерфейсом USB 3.1. Скорость передачи данных достигает 440 МБ/с как при чтении, так и при записи.

Производитель отмечает степень защиты IP68, позволяющую накопителю без последствий перенести погружение на час на полутораметровую глубину. Кроме того, устройство выдерживает удары и падения, как оговорено в условиях теста MIL-STD-810G 516.6.

Источник: Adata

/21 мар, 16:20/ автор: Jin (iXBT.com) сайт: www.ixbt.com

Как и ожидалось, компания Apple представила новые варианты смартфонов iPhone 7 и iPhone 7 Plus в красном цвете, которые стали доступны в официальном магазине после возобновления работы.

Приобрести красные iPhone 7 и iPhone 7 Plus в России можно по цене от 60 990 и 70 990 руб. соответственно (речь идет о версиях со 128 ГБ флэш-памяти). Если же вас интересует 256 ГБ энергонезависимой памяти, то стоит приготовить 68 990 и 78 990 руб. соответственно. Никаких других отличий от ранее выпущенных моделей нет. Заказы начнут принимать 24 марта в 18:00 по московскому времени.

Apple представила красный iPhone 7 и iPhone SE с 32 и 128 ГБ флэш-памяти

Эти смартфоны пополнили линейку устройств (Product) Red, часть средств от продажи которых перечисляется в Глобальный фонд для борьбы со СПИДом в Африке.

Кроме того, слухи подтвердились и в отношении версии смартфона iPhone SE со 128 ГБ флэш-памяти, которая будет предлагаться по цене 40 990 руб. Еще одна новая версия iPhone SE с 32 ГБ флэш-памяти будет стоить 32 990 руб.

/21 мар, 16:06/ автор: Accent (iXBT.com) сайт: www.ixbt.com

Сегодня в Лос-Анжелесе открылось мероприятие OFC 2017. К нему компания Ixia приурочила демонстрацию технологии, обеспечивающей передачу данных по проводному подключению Ethernet со скоростью 400 Гбит/с (400 GbE).

Трафик, соответствующий спецификации IEEE802.3bs, был организован по линиям PAM4 (четырехуровневой импульсной амплитудной модуляции) с пропускной способностью 50 Гбит/с на базе пассивных медных кабелей, объединенных в подключаемом модуле типоразмера QSFP-DD.

Ixia показала передачу данных по проводному подключению Ethernet со скоростью 400 Гбит/с

Ixia участвует в двух рабочих группах, занятых разработкой решений для 400 GbE в виде стандартных оптических модулей. Одной предстоит реализовать новый интерфейс в форм-факторе QSFP-DD (Double-Density Quad Small-Form-Factor Pluggable), второй — в форм-факторе OSFP (Octal Small Form Factor Pluggable).

В конце прошлого года компания Ixia начала поставки тестового оборудования 400 GbE.

Источник: Ixia

/21 мар, 15:37/ автор: Accent (iXBT.com) сайт: www.ixbt.com

По данным источника, компания Samsung начнет продажи смартфонов Galaxy S8 в Китае 10 мая. Прием предварительных заказов начнется 28 апреля.

Прием предварительных заказов начнется 28 апреля

Согласно другим сведениям, в США на этот день, то есть на 28 апреля, намечено начало продаж Samsung Galaxy S8.

Даты начала приема предварительных заказов и начала продаж Samsung Galaxy S8 в странах Европы источник не приводит.

Первыми же новинку получат южнокорейские покупатели, В этой стране предварительный заказ можно будет сделать уже 7 апреля, а продажи начнутся 21 апреля.

Источник: GSM Arena

/21 мар, 15:10/ автор: Accent (iXBT.com) сайт: www.ixbt.com

Портативные звукозаписывающие устройства обычно ассоциируются с записью речи, поскольку в небольшом аппарате сложно обеспечить высокое качество звука, необходимое, скажем, для записи живой музыки. Тем не менее, показанное на иллюстрации устройство Philips VoiceTracer DVT7500 позиционируется именно как музыкальный рекордер. Его разработали инженеры Speech Processing Solutions — созданного в 1954 году дочернего предприятия Philips, специализирующегося на выпуске диктофонов.

Новинка разработана специалистами Speech Processing Solutions — дочернего предприятия Philips, созданного в 1954 году

Рекордер оснащен тремя микрофонами, входом XLR и линейным входом, что позволяет подключать инструменты и другие источники. Предусмотрена регулировка уровня входных сигналов и запись в форматах PCM (WAV) и MP3 с частотой дискретизации до 96 кГц и разрядностью 24 бит. Для хранения записей можно использовать 16 ГБ встроенной флэш-памяти и карточки microSD. Аппарат оснащен цветным дисплеем. Работает DVT7500 от литий-ионного аккумулятора емкостью 1300 мА∙ч, которого без подзарядки хватает на 30 часов работы в режиме записи в формате MP3 с битрейтом 128 Кбит/с. При габаритах 125 × 64,5 × 22 мм рекордер весит 166 г.

Новинка разработана специалистами Speech Processing Solutions — дочернего предприятия Philips, созданного в 1954 году

По мнению производителя, устройство пригодится музыкантам-любителям, композиторам, сочинителям песен и студентам, изучающим музыку.

Источник: Philips

/21 мар, 15:03/ автор: Jin (iXBT.com) сайт: www.ixbt.com

Как мы уже сообщали, онлайновый магазин Apple Store возобновит свою работу сегодня в 17:00 по московскому времени, предложив пользователям нечто особенное.

Вероятно, речь идет о новых планшетах iPad Pro, однако, возможно, это еще не все. Китайский магазин Taobao опубликовал на своей страничке в социальной сети Weibo следующую картинку, которая явно указывает на то, что нас ждет анонс iPhone 7 в красном цвете.

Красный iPhone 7 может поступить в продажу уже сегодня

Слухи об этих устройствах появились в конце февраля, однако сейчас понятно, что пресс-конференции по данному поводу не будет.

Мы узнаем всю правду через пару часов.

/21 мар, 14:16/ автор: Jin (iXBT.com) сайт: www.ixbt.com

Издание The Investor утверждает, что южнокорейская компания Samsung Electronics рассчитывает на большую активность пользователей в ходе кампании по приему предварительных заказов на смартфон Samsung Galaxy S8.

Сегодня источники сообщили, что Samsung решила начать прием предварительных заказов 7 апреля. Кампания продлится до 17 апреля, а оформившие предварительный заказ начнут получать свои смартфоны уже 18 числа того же месяца. Напомним, официальное начало продаж Samsung Galaxy S8 в Южной Корее запланировано на 21 апреля.

Более того, Samsung планирует представить программу субсидирования для покупателей Samsung Galaxy S8 гораздо раньше, чем это происходит обычно — уже на стадии приема предварительных заказов.

Ожидается, что Samsung Galaxy S8 опередит Galaxy Note7 по объему предзаказов

Ожидается, что Samsung Galaxy S8 опередит Note7 по объему предзаказов. За 13 дней в прошлом году заказы на планшетофон Samsung Galaxy Note7 разместили около 400 тыс. человек.

Анонс Samsung Galaxy S8 ожидается 29 марта.

/21 мар, 14:08/ автор: Accent (iXBT.com) сайт: www.ixbt.com

Рынок носимых электронных устройств вернется к уверенному росту после небольшого замедления, зафиксированного в 2016 году. Такого мнения придерживаются специалисты аналитической компании IDC, объясняющие замедление задержкой выхода основных платформ.

По прогнозу IDC, продажи носимых электронных устройств, в 2016 году составившие 102,4 млн штук, к 2021 году вырастут до 237,5 млн штук. Эти показатели соответствуют среднегодовому росту на 18,3%.

Аналитики отмечают, что в структуре продаж в ближайшие годы будут доминировать устройства, носимые на руке. Проще говоря, часы и браслеты. В прошлом году их было отгружено 49,2 и 48,7 млн штук соответственно, что соответствует 48,1% и 47,6% рынка. К 2021 году поставки часов увеличатся до 152,0 млн штук, что будет соответствовать 64,0% рынка. Доля браслетов уменьшится до 24,2%, поскольку их поставки вырастут только до 57,5 млн штук.

По прогнозу IDC, продажи носимых электронных устройств к 2021 году вырастут до 237,5 млн штук

Обращает на себя внимание рост сегмента умных предметов одежды с 1,2% до 9,4%, обусловленный увеличением продаж с 1,3 до 22,3 млн штук или на 76,6% в год. Это наибольший показатель среднегодового роста среди сегментов. Кстати, помимо трех перечисленных аналитики выделяют дополнительно всего один сегмент — наушники. Их доля с 2016 по 2021 год увеличится с 0,7% до 1,8%, а доля всех остальных носимых электронных устройств — даже уменьшится, с 2,4% до 0,6%.

Источник: IDC

/21 мар, 13:48/ автор: Jin (iXBT.com) сайт: www.ixbt.com

В прошлом году на Kickstarter был профинансирован аксессуар Superbook, который можно будет использовать со смартфонами, работающими под управлением операционной системы Android.

Начало поставок устройства ожидалось в январе, однако планам суждено было поменяться, теперь Superbook должны начать отгружать не раньше июня этого года.

Устройство Superscreen превращает ваш смартфон в 10-дюймовый планшет

На днях на Kickstarter появился похожий проект, который профинансировали за 7 часов. У Superscreen есть и ряд важных отличий от Superbook. Начать стоит с того, что Superscreen выполнен в форм-факторе планшета. Кроме того, аксессуар предназначен для использования практически со всеми современными мобильными устройствами, которые работают под управлением iOS и Android. Разработчики заявляют о совместимости с 97% смартфонов на рынке.

Связь между Superscreen и смартфоном осуществляется по запатентованному беспроводному каналу, который обеспечивает стабильное соединение и низкую задержку на расстоянии до 30 м. При этом Superscreen предлагает полную поддержку сенсорного управления, в частности, поддержку Apple Pencil.

Устройство Superscreen превращает ваш смартфон в 10-дюймовый планшет

Диагональ дисплея Superscreen составляет 10,1 дюйма, его разрешение равно 2560 x 1600 пикселей. Также в оснащение входит четырехъядерный процессор с частотой 2 ГГЦ и 4 ГБ оперативной памяти. Кроме того, аксессуар получил камеры разрешением 5 и 2 Мп, два громкоговорителя, разъем USB-C, а также аккумулятор емкостью 6000 мА•ч.

Устройство Superscreen превращает ваш смартфон в 10-дюймовый планшет

Разработчики уже собрали $350 тыс. вместо запланированных $50 тыс. Первые покупатели могут забронировать Superscreen по цене $99, в продажу устройство поступит в декабре по цене $299.

/21 мар, 13:30/ автор: Accent (iXBT.com) сайт: www.ixbt.com

Компания Guess представила новую модель умных часов Connect, которая появится в продаже в осенне-зимний сезон этого года. Новинка является преемницей одноименной модели, выпущенной в 2015 году.

Основой новых часов Guess Connect служит SoC Qualcomm Snapdragon Wear 2100

Основой новых часов служит SoC Qualcomm Snapdragon Wear 2100, работающая под управлением ОС Android Wear 2.0. Напомним, Snapdragon Wear 2100 — первая однокристальная система Qualcomm, предназначенная специально для носимой электроники.

Основой новых часов Guess Connect служит SoC Qualcomm Snapdragon Wear 2100

Часы рассчитаны на использование совместно со смартфонами с iOS и Android. Производитель планирует предложить разновидности с корпусами размером 44 и 41 мм, ориентированные на мужчин и женщин соответственно. Каждая разновидность будет доступна в нескольких вариантах внешнего оформления.

Производитель упоминает поддержку сенсорного ввода, но технические характеристики Guess Connect второго поколения пока неизвестны. Это относится и к ценам.

Источник: Guess Watches

/21 мар, 13:26/ автор: Jin (iXBT.com) сайт: www.ixbt.com

Как стало известно, компания Microsoft выпустила приложение Mac to Surface Assistant, которое упрощает процесс переноса всей информации с компьютеров Mac на ноутбуки Surface.

Приложение работает по тому же принципу, что и другие подобные программы. Вначале вы увидите окно приветствия, в котором вам расскажут, что все ваши фотографии, видеоролики и документы без труда будут перенесены в новое место.

Затем вы вручную должны будете выбрать все категории и папки, которые желаете сохранить. Одновременно с этим приложение укажет объем занимаемого пространства.

Выпущено приложение, которое упрощает переход с Mac на Surface

После чего вы должны указать место сохранения, которым может выступать внешний диск или флэшка.

Затем данный накопитель позволит восстановить всю информацию на ноутбуке Surface

/21 мар, 13:17/ автор: Jin (iXBT.com) сайт: www.ixbt.com

В прошлом году, по оценке аналитиков IDC, на рынке появилось суммарно около 10,1 млн устройств дополненной и виртуальной реальности.

К 2021 году объем поставок должен увеличиться до 99,4 млн устройств. Таким образом, среднегодовой рост поставок за пять лет должен составить 58%.

Если говорить в денежном выражении, то объем продаж устройств дополненной реальности увеличится с $209 млн в 2016 году до $48,7 млрд в 2021 году (в 233 раза). А гарнитуры виртуальной реальности продемонстрируют куда менее интенсивный рост: с $2,1 млрд до $18,6 млрд за пять лет (менее чем в 9 раз).

Объем поставок устройств AR/VR вырастет в 10 раз за пять лет, считают аналитики IDC

Из-за сложности аппаратной части большинство устройств дополненной реальности будет стоить значительно больше $1000, что сделает технологию недоступной широким массам на начальной стадии.

/21 мар, 13:02/ автор: Jin (iXBT.com) сайт: www.ixbt.com

Свежее обновление мобильного приложения Instagram за версией 10.12 добавило очередное нововведение, о котором давно просили различные пользователи этой социальной сети.

Речь идет о возможности сохранять ролики после завершения живых трансляций. Чтобы воспользоваться этим нововведением, необходимо нажать на иконку в правом верхнем уголке экрана.

В Instagram появилась возможность сохранять ролики после завершения трансляций

Сохраненный видеоролик появится в соответствующем разделе галереи мобильного устройства. Стоит добавить, что вы можете сохранить только видеоролик, но не комментарии или информацию о количестве зрителей или лайков.

Нововведение доступно пользователям iOS и Android.

/21 мар, 12:09/ автор: Accent (iXBT.com) сайт: www.ixbt.com

Источник опубликовал снимок, на котором запечатлен прототип объектива, разрабатываемого швейцарской компанией Irix, которая недавно начала продажи полнокадровых объективов Irix 11mm f/4. Новая модель тоже является полнокадровой и рассчитанной на ручную фокусировку. Она характеризуется фокусным расстоянием 45 мм и максимальной диафрагмой F/1,4.

По предварительным данным, объектив Irix 45mm f/1,4 будет выпускаться в вариантах для камер Canon и Nikon

По предварительным данным, объектив Irix 45mm f/1,4 будет выпускаться в вариантах для камер Canon и Nikon. Сведений о цене и дате начала продаж пока нет.

Источник: Ephotozine

/21 мар, 11:53/ автор: MPAK (iXBT.com) сайт: www.ixbt.com

Онлайн-магазин Apple Store на данный момент недоступен для использования. Сообщение на сайте гласит, что у Apple есть для нас что-то особенное.

В работу магазин должен вернуться в 17:00 по московскому времени. Судя по всему, в это время на сайте можно будет обнаружить некий новый продукт или продукты. Учитывая все последние слухи, стоит ожидать новых планшетов iPad Pro.

Через несколько часов Apple представит новые продукты

Также становится ясно, что никакого мероприятия не будет, и Apple просто добавит новинки в ассортимент на сайте. Сколько их будет, пока неизвестно. Слухи говорили о трёх или даже четырёх новых планшетах.

/21 мар, 11:51/ автор: Jin (iXBT.com) сайт: www.ixbt.com

В китайской социальной сети Weibo опубликовали свежую порцию слухов о смартфоне Xiaomi Mi6, который должен быть представлен в апреле этого года.

В этот раз источники утверждают, что китайский производитель отказался от использования разъема 3,5 мм для наушников, поддержав начатую в прошлом году инициативу.

В частности, данное решение было принято для того, чтобы обеспечить новый флагманский смартфон защитой от пыли и влаги. Класс защиты не уточняется, однако вряд ли производитель использует класс ниже IP68, которым характеризуются многие современные флагманы.

Xiaomi Mi6 может оказаться первым водонепроницаемым смартфоном компании

В прошлом году глава Xiaomi объяснил, по какой причине они не делают свои смартфоны водонепроницаемыми. Во-первых, когда телефон нуждается в ремонте со вскрытием корпуса, его влагозащита значительно ухудшается. А во-вторых, водонепроницаемость повышает цену устройства.

Однако если Xiaomi планирует конкурировать с лидерами рынка, то компания попросту не имеет права не поддерживать тренды.

/21 мар, 11:25/ автор: Jin (iXBT.com) сайт: www.ixbt.com

Инсайдер Эван Блэсс (Evan Blass), который вчера предоставил официальные изображения смартфона Samsung Galaxy S8 в нескольких цветах, сегодня выложил новые картинки.

Свежая подборка примечательна тем, что на ней также изображена задняя панель смартфонов, позволяющая лучше оценить цвета Orchid Gray и Black Sky. Источник подтвердил, что обои на рабочем столе смартфонов являются официальными.

Опубликованы новые изображения и рекламный ролик смартфона Samsung Galaxy S8
Нажмите для увеличения

Тем временем, корейское подразделение Samsung опубликовало новый рекламный ролик Samsung Galaxy S8, в котором молодой человек открывает дверь, по форме напоминающую экран смартфона со скругленными углами. Сопроводительный текст можно перевести как «Завершение и новое начало».

Напомним, вчера был анонсирован голосовой помощник Bixby, а презентация смартфона состоится 29 марта.

/21 мар, 11:00/ автор: MPAK (iXBT.com) сайт: www.ixbt.com

О смартфоне iPhone 8 ходит уже достаточно много слухов. Основная масса говорит об экране AMOLED и отсутствии кнопки Home. Новый доклад уточняет нюансы касательно дизайна.

Как это ни странно, источник говорит, что новинка Apple будет похожа на первую модель iPhone. Конечно, это не означает толстый корпус и крохотный дисплей. Говорится о дизайне «капель воды», что будет являться данью уважения смартфону, перевернувшему рынок, да и мир тоже. Тем более, в этом году первому iPhone исполнилось 10 лет.

Смартфон iPhone 8 будет похож на первенца Apple

Тыльную сторону будет прикрывать «трёхмерный стеклянный материал», который позволит создать иллюзию определённого искривления поверхности. Это будет сделано по той причине, что из-за малой толщины корпуса современных смартфонов создать изгибы, как у первого iPhone, невозможно. В итоге iPhone 8 не будет похож на существующие аппараты Apple.

Также источник соглашается с мнением, что дисплей смартфона будет плоским.

/21 мар, 11:00/ автор: Юрий Гитин (iXBT.com) сайт: www.ixbt.com

Разношерстное семейство одноплатных ПК Orange Pi обновилось новинкой под названием Orange Pi Zero Plus 2. При цене $19 он отличается от предложений за $10 и менее наличием флэш-памяти и беспроводных модулей, хотя все еще относится к начальному сегменту.

На плате Orange Pi Zero Plus 2 нашлось место для выводов, совместимых с Raspberry Pi B+

Габариты платы (48 х 46 мм) наложили отпечаток на возможности расширения: отсутствует порт Ethernet, как и распаянные USB, если не считать предназначенного для питания порта microUSB. Ситуация выправляется наличием выводов на два порта USB 2.0, ИК-приемник и аналоговые разъемы для наушников и микрофона, да и не распаянной площадкой на 26 выводов, совместимых с Raspberry Pi B+.

На плате Orange Pi Zero Plus 2 нашлось место для выводов, совместимых с Raspberry Pi B+

Одноплатный ПК Orange Pi Zero Plus 2 основан на SoC Allwinner H3 с четырьмя ядрами Cortex A7 и GPU Mali-400MP2, распаяна оперативная память DDR3 объемом 512 МБ и флэш-модуль eMMC емкостью 8 ГБ. Беспроводной адаптер Ampak AP6212 поддерживает стандарты Wi-Fi 802.11n и Bluetooth 4.0, он оснащен выносной антенной с гнездом U.FL. Видеовыход HDMI дополнен разъемом для шлейфа камеры MIPI CSI, также на плате есть отладочная колодка UART. Кроме ОС Android плата Orange Pi Zero Plus 2 совместима с дистрибутивами Debian и образом Rasberry Pi.

/21 мар, 10:54/ автор: Jin (iXBT.com) сайт: www.ixbt.com

Британская компания WPP, которая является одним из крупнейших рекламно-коммуникационных холдингов в мире, опубликовала список самых ценных китайских брендов уходящего финансового года.

Места с первого по шестое в этом рейтинге заняли соответственно компании Tencent, Alibaba, China Mobile, ICBC и Baidu.

Единственным китайским производителем смартфонов, которому удалось попасть в первую десятку, оказалась компания Huawei, укрепившая свои позиции на 10% за последний год. Компания поднялась с 13 позиции, которую она занимала в прошлом году, на шестую. Сегодня торговая марка Huawei оценивается в сумму более 20 млрд долларов.

Huawei стал самым ценным китайским брендом смартфонов

Кроме того, Huawei получила награду как компания, наиболее активно развивающаяся за пределами Китая. В прошлом календарном году 58% дохода Huawei получила от экспортированной продукции.

Lenovo оказалась на 27 месте, торговая марка оценена в 3,3 млрд долларов. 49 место досталось ZTE (1,4 млрд долларов). Oppo отметили как компанию, которая получила наибольшую поддержку миллениалов.

/21 мар, 10:38/ автор: Jin (iXBT.com) сайт: www.ixbt.com

Компания Apple неоднократно публично говорила о своей заинтересованности в технологиях дополненной реальности, однако мы также слышали разные слухи о том, в каком порядке разработки будут появляться на рынке.

По данным Bloomberg, в составе Apple сформирована большая команда из сотен специалистов, которые работают с технологией дополненной реальности. Источник утверждает, что первые наработки дебютируют в новом смартфоне iPhone.

В частности, речь идет о камере смартфона, которая позволит менять точку фокусировки уже после снимка (подобное было реализовано еще в Huawei P9, который вышел год назад). Кроме того, камера позволит выделять человека или предмет на снимке, а затем изменять его, например, поворачивать на определенный угол. Также технология дополненной реальности позволит добавлять на снимки виртуальные предметы и эффекты.

Apple представит технологии дополненной реальности в iPhone 8, а позже выпустит соответствующие очки

Позже Apple планирует выпустить очки с технологией дополненной реальности, о которых мы писали еще в ноябре прошлого года, а затем вспоминали их уже в этом году.

/21 мар, 10:25/ автор: Accent (iXBT.com) сайт: www.ixbt.com

Что касается блоков питания, на выставку CeBIT 2017 компания CoolerMaster привезла новую линейку Masterwatt Lite.

Masterwatt Lite

В нее входят модели мощностью от 400 до 700 Вт, имеющие сертификат 80 Plus White (по заверениям представителя компании, они демонстрируют показатели на уровне 80 Plus Silver). Цена этих моделей равна 10 евро за каждые 100 Вт мощности.

Masterwatt Lite

Отдельного места удостоился «полностью аналоговый» БП Cooler Master MasterWatt Maker 1200 MIJ мощностью 1200 Вт, о котором мы недавно рассказывали.

Блок питания Masterwatt Maker 1200 MIJ

На него производитель предоставляет 10 лет гарантии, которая наследуется, даже БП поменял владельца, и чек не сохранился.

Блок питания Masterwatt Maker 1200 MIJ

По словам представителя CoolerMaster, в блоке используются только японские конденсаторы.

Блок питания Masterwatt Maker 1200 MIJ

Блок питания Masterwatt Maker 1200 MIJ отличается очень высокой стабильностью и КПД. Он поддерживает выходные напряжения при падении входного напряжения до 73 В и даже при краткосрочных пропаданиях входного напряжения. Кабельная система — полностью модельная.

Блок питания Masterwatt Maker 1200 MIJ

Вентиляторы MasterFan Pro типоразмера 120 и 140 мм оснащены многоцветной подсветкой.

Вентиляторы MasterFan Pro типоразмера 120 и 140 мм оснащены многоцветной подсветкой

Для управления работой подсветки вращения используется отдельный разъем, подключаемый к системной плате или контроллеру.

Вентиляторы MasterFan Pro типоразмера 120 и 140 мм оснащены многоцветной подсветкой

Если подключить вентилятор не к чему, можно выбрать режим работы подсветки переключателем на самом вентиляторе.

Вентиляторы MasterFan Pro типоразмера 120 и 140 мм оснащены многоцветной подсветкой

Завершают рассказ о павильоне CoolerMaster снимки клавиатуры Mastrekeys S, адресованной компьютерным энтузиастам.

Завершают рассказ о павильоне CoolerMaster снимки клавиатуры Mastrekeys S, адресованной компьютерным энтузиастам

В ней используются переключатели Cherry MX Green. Хотя клавиатура не позиционируется как игровая, клавиши WASD выделены цветом. Видимо, на всякий случай.

В ней используются переключатели Cherry MX Green

Цена этой клавиатуры пока не определена, но в качестве ориентира производитель назвал интервал 100-140 евро.

Источник: Собственный корреспондент iXBT в Ганновере

/21 мар, 10:19/ автор: Jin (iXBT.com) сайт: www.ixbt.com

Компания Meizu решила последовать примеру Xiaomi, открыв подразделение, которое специализируется на устройствах для умного дома и прочих аксессуарах. Одним из первых продуктов стал аксессуар для любителей мобильной фотографии, который совмещает функциональность монопода для селфи и штатива.

Meizu выпустила монопод для селфи вслед за Xiaomi

В конце февраля Xiaomi выпустила аналогичный аксессуар за 13 долларов, решение Meizu обойдется в 14 долларов. Принцип работы устройства остался прежним. Оно подключается по каналу Bluetooth к смартфонам, которые работают под управлением операционных систем Android и iOS. В комплект входит пульт дистанционного управления, а также встроенный таймер.

Meizu выпустила монопод для селфи вслед за Xiaomi

Корпус монопода изготовлен из алюминиевого сплава, который непросто погнуть или сломать. Ручка покрыта текстурированным пластиком, который препятствует выскальзыванию устройства из руки.

Емкости встроенного аккумулятора хватает примерно на 10 тыс. снимков.

/21 мар, 10:09/ автор: Jin (iXBT.com) сайт: www.ixbt.com

Вчера мы писали о смартфоне Oppo F3 Plus, характеристики которого были подтверждены в базе данных тестового пакета GFXBench.

Однако производитель приберег пару сюрпризов, рассказав о них на своей официальной страничке при помощи следующих рекламных изображений.

Oppo F3 Plus получит поддержку технологии VOOC и камеру с диафрагмой F/1,7

Теперь мы знаем, что Oppo F3 Plus получит поддержку технологии быстрой зарядки VOOC, улучшенный дактилоскопический датчик, а его камера будет иметь диафрагму F/1,7. Речь, вероятно, идет о фронтальной камере, включающей модули разрешением 16 и 8 Мп.

Устройство для поклонников селфи должны представить 23 марта.

/21 мар, 09:57/ автор: Accent (iXBT.com) сайт: www.ixbt.com

Наш корреспондент побывал в павильоне CoolerMaster на выставке CeBIT 2017 и рассказал о своем походе серией фотографий.

В экспозицию CoolerMaster вошли компьютерные корпуса, включая модель Mastercase Pro 6 со быстросъемными панелями, удерживаемыми с помощью магнитов. Корпус показан, что называется, в деле: на снимке изображен ПК, собранный в Mastercase Pro 6 немецкой компанией Kiebel.

ПК в корпусе CoolerMaster Mastercase Pro 6

В передней части верхней панели находятся разъемы ввода-вывода, заботливо прикрытые крышкой.

ПК в корпусе CoolerMaster Mastercase Pro 6

Помимо корпуса, в этом ПК используются и другие компоненты производства CoolerMaster. В частности, процессорная СВО MasterLiquid 240. Ее радиатор закреплен сверху.

ПК в корпусе CoolerMaster Mastercase Pro 6

Съемная верхняя панель.

ПК в корпусе CoolerMaster Mastercase Pro 6

За передней панелью виден оптический привод.

ПК в корпусе CoolerMaster Mastercase Pro 6

Пространство корпуса разделено на две части. В нижней находится блок питания CoolerMaster V650.

ПК в корпусе CoolerMaster Mastercase Pro 6

Так выглядит система в корпусе Masterbox 5 MSI Edition, передняя панель которого украшена символикой MSI.

Так выглядит система в корпусе Masterbox 5 MSI Edition

В этом ПК используется воздушная система охлаждения процессора CoolerMaster Hyper 212 LED, а также блок питания CoolerMaster G550M.

Так выглядит система в корпусе Masterbox 5 MSI Edition

Бюджетная модель Masterbox 5 Lite стоит менее 50 евро. Ее внешний вид можно изменить, используя декоративные панели.

Бюджетная модель Masterbox 5 Lite

Небольшие панели предложены в двух цветовых вариантах.

Бюджетная модель Masterbox 5 Lite

Боковая панель из тонированного стекла позволяет видеть компоненты внутри корпуса, особенно, если они снабжены подсветкой.

Бюджетная модель Masterbox 5 Lite

Корпус Maker 5T используется в ПК, собранном к 25-летию CoolerMaster.

Корпус Maker 5T

Об этом свидетельствует изображение на верхней декоративной панели.

CoolerMaster на CeBIT 2017

Блок питания — тоже производства CoolerMaster. Это модель Masterwatt Maker 1200.

Masterwatt Maker 1200

Основой системы служит плата ASRock X99 Gaming i7 с процессором Intel Core i7-6850K, что отражено на боковой панели.

CoolerMaster на CeBIT 2017

Источник: Собственный корреспондент iXBT в Ганновере

/21 мар, 09:30/ автор: MPAK (iXBT.com) сайт: www.ixbt.com

Ежегодные хакерские соревнования Pwn2Own в очередной раз показали, какой браузер является самым защищённым, а какой — самым уязвимым.

Во время конкурса Pwn2Own 2017, который, к слову, был юбилейным (десятым), в течение трёх дней конкурсанты пытались обойти защиту популярных браузеров. Источник приводит расширенную информацию об эксплойтах, мы же сконцентрируемся лишь на результатах.

Аутсайдером оказался Microsoft Edge. Причём, если в прошлом году это ПО удалось взломать лишь двумя различными способами, то в нынешнем нашлось целых пять.

Google Chrome — самый защищённый браузер

У Safari, который традиционно показывает себя не лучшим образом, нашлось три с половиной уязвимости. Половинка пришлась на уязвимость, которая присутствует в полноценной версии браузера, но уже устранена в новой бета-версии.

Браузер Firefox хакерам удалось взломать лишь единожды. Победителем же стал Chrome, который в этом году взломать не удалось никому.

Отметим, что в рамках конкурса хакеры должны использовать лишь «уязвимости нулевого дня», то есть до этого момента не закрытые разработчиками.

/21 мар, 08:30/ автор: MPAK (iXBT.com) сайт: www.ixbt.com

Изображения, которые можно увидеть ниже, судя по всему, представляют собой первые официальные рекламные изображения смартфонов Samsung Galaxy S8 и S8+.

Учитывая обилие утечек о новых флагманах корейского гиганта, вряд оставались сомнения касательно внешнего вида новинок.

Появились рекламные изображения флагманов Samsung

На рекламных изображениях видно, что в верхней части аппарата действительно будет очень много отверстий, предназначенных для различных камер и датчиков. Их размер, количество и расположение полностью соответствуют тем, что можно видеть на недавних «живых» фото.

Появились рекламные изображения флагманов Samsung

Также на экране можно увидеть дату — 29 марта. По принятому обычаю, она указывает на дату анонса, что также сходится с предыдущими данными.

/21 мар, 08:00/ автор: MPAK (iXBT.com) сайт: www.ixbt.com

Первое и единственное упоминание твердотельных накопителей Z-SSD на основе новой флэш-памяти Z-NAND датируется ещё летом прошлого года. И вот компания Samsung наконец-то показала такие устройства, заодно раскрыв кое-какие параметры.

Демонстрационный образец MZ-PJB8000 с интерфейсом PCIe характеризовался объёмом 800 ГБ, скоростями чтения и записи на уровне 3,2 ГБ/с и производительностью чтения и записи 750 000 и 160 000 IOPS соответственно!

Накопители Samsung Z-SSD выделяются огромной производительностью

Задержка, предположительно, будет на 70% ниже, чем у актуальных SSD с поддержкой NVMe. Что касается выносливости, этих данных Samsung пока не приводит.

Для начала на рынке должны появиться модели объёмом 1, 2 и 4 ТБ. Они будут выпущены под брендом Z-SSD. Сроки появления устройств в продаже пока не объявлены.

/21 мар, 07:30/ автор: MPAK (iXBT.com) сайт: www.ixbt.com

Несколько дней назад появились слухи о том, что AMD готовит платформу высокопроизводительных процессоров HEDT с моделью, у которой будет 16 ядер. Источник называл платформу X399.

История обрела продолжение. Новый источник сообщает, что процессор получит исполнение LGA SP3r2, то есть, как и у CPU Intel, ножки переедут в разъём на системной плате. TDP процессора составит 150 Вт, что соотносится с энергопотреблением процессоров Intel LGA 2011.

16-ядерный процессор AMD получит исполнение LGA SP3r2

Что интересно, на подложке расположатся два отдельных кристалла. Вероятно, каждый из них будет аналогичен тем, которые используются для Ryzen 7. Частоты монструозного CPU будут лежать в пределах 2,4-2,8 ГГц. Также подтверждается информация о четырёхканальном контроллере памяти DDR4. Ожидать анонса стоит в течение четырёх-шести месяцев, то есть во втором полугодии.

/21 мар, 07:00/ автор: MPAK (iXBT.com) сайт: www.ixbt.com

В начале нынешнего года стало известно, что создатель ОС Android Энди Рубин (Andy Rubin) основал компанию Essential Products, которая начала работу над своим собственным смартфоном. Причём это устройство должно быть модульным, хотя в каком виде эта модульность будет реализована, пока неизвестно.

Сейчас стало известно, что основную поддержку стартап должен был получить от японского оператора SoftBank. Причём поддержку более чем внушительную для столь молодой компании: 100 млн долларов! Благодаря этому Essential Products сразу бы повысила свою рыночную стоимость до 1 млрд долларов.

Компания Essential Products лишилась инвестиций в 100 млн долларов

Однако новые данные указывают на то, что SoftBank передумала поддерживать проект Рубина. Официально причина не называется. Есть мнение, что виновата, как ни странно, Apple. Дело в том, что средства должен был выделить фонд SoftBank Vision, принадлежащий в целом японскому оператору. Но недавно Apple согласилась вложить в фонд 1 млрд долларов. Вполне возможно, зная способности Рубина, купертинцы поставили SoftBank условие, согласно которому они вложат средства в фонд только если проект Essential Products не будет поддержан финансово.

/21 мар, 03:08/ автор: Accent (iXBT.com) сайт: www.ixbt.com

Поскольку компания Toshiba специализируется на выпуске накопителей для компьютеров и мобильных устройств, неудивительно, что основу экспозиции японского производителя на выставке CeBIT 2017 составили HDD, SSD и флэш-накопители.

В частности, показаны SSD OCZ. Компания Toshiba завершила поглощение OCZ в январе 2014 года, но продолжает использовать известную марку.

Основу экспозиции Toshiba на выставке CeBIT 2017 составили HDD, SSD и флэш-накопители

Модель OCZ TL100 с интерфейсом SATA 6 Гбит/с была представлена в сентябре прошлого года. Она демонстрирует скорость чтения до 550 МБ/с и скорость записи до 530 МБ/с. Производительность на операциях с произвольным доступом достигает 85000 и 80000 IOPS в режиме чтения и записи соответственно. Накопители OCZ TL100 выпускаются объемом 120 и 240 ГБ.

Основу экспозиции Toshiba на выставке CeBIT 2017 составили HDD, SSD и флэш-накопители

Накопители OCZ VX500 тоже были представлены в сентябре. Они выпускаются объемом 128, 256, 512 и 1024 ГБ. Они развивают скорость чтения до 550 МБ/с и скорость записи до 515 МБ/с. Производительность на операциях с произвольным доступом достигает 92000 и 65000 IOPS в режиме чтения и записи соответственно. В этих SSD используется 15-нанометровая флэш-память MLC NAND и контроллеры Toshiba TC358790.

Основу экспозиции Toshiba на выставке CeBIT 2017 составили HDD, SSD и флэш-накопители

Модель TR150 выпускается объемом 120, 240, 480 и 960 ГБ. Она тоже оснащена интерфейсом SATA 6 Гбит/с. Эти SSD демонстрируют скорость чтения до 550 МБ/с и скорость записи до 530 МБ/с. Производительность на операциях с произвольным доступом достигает 87000 и 83000 IOPS в режиме чтения и записи соответственно.

Предлагает Toshiba твердотельные накопители и под собственной маркой, такие как Toshiba A100, Toshiba Q300 и Toshiba Q300 Pro. Последние больше ориентированы на корпоративный сегмент.

Предлагает Toshiba твердотельные накопители и под собственной маркой, такие как Toshiba A100, Toshiba Q300 и Toshiba Q300 Pro

Наряду с твердотельными накопителями, Toshiba не забывает о HDD. В частности, на стенде компании была показана модель N300 повышенной надежности. Этот жесткий диск типоразмера 3,5 дюйма выпускается объемом 4, 6 и 8 ТБ. Производитель отмечает наличие сертификата QNAP, говорящего о том, что известный поставщик NAS рекомендует эти жесткие для использования в хранилищах.

Toshiba продолжает использовать марку OCZ

«Добро» QNAP получили и другие модели.

Toshiba продолжает использовать марку OCZ

Кроме того, показаны разнообразные карты памяти и флэш-накопители.

Toshiba продолжает использовать марку OCZ

Наиболее интересными являются флэшки с разъемами USB-C и Lightning.

Toshiba продолжает использовать марку OCZ

Завершается фотоотчет изображением стенда с многодисковым хранилищем корпоративного класса.

Основу экспозиции Toshiba на выставке CeBIT 2017 составили HDD, SSD и флэш-накопители

В накопителях Toshiba нашли применение технологии, обеспечивающие надежную работу в составе многодисковых хранилищ.

Источник: Собственный корреспондент iXBT в Ганновере

/21 мар, 02:31/ автор: Accent (iXBT.com) сайт: www.ixbt.com

Наряду с карточками памяти microSD серии Exceria Pro M402, которые получили маркировку A1, компания Toshiba привезла на выставку CeBIT 2017 в Ганновере портативный накопитель Canvio for Smartphone.

Внешний накопитель Toshiba Canvio for Smartphone позволяет легко организовать резервное копирование информации, хранящейся в памяти смартфона

Устройство непривычной для внешних накопителей формы позволяет организовать резервное копирование данных, хранящихся в смартфонах с ОС Android, а также играет роль мобильного аккумулятора. Такое сочетание функций выглядит очень удачным — поскольку смартфон приходится подзаряжать регулярно, можно быть уверенным и в регулярном резервном копировании, поскольку резервирование данных и зарядка выполняются одновременно. Опция автоматического резервирования включается в фирменном мобильном приложении.

Внешний накопитель Toshiba Canvio for Smartphone позволяет легко организовать резервное копирование информации, хранящейся в памяти смартфона

Объем накопителя — 500 ГБ (используется HDD типоразмера 2,5 дюйма). Для подключения используется интерфейс USB 2.0. Конечно, накопитель можно использовать не только со смартфонами, но и с ПК.

Источники: Собственный корреспондент iXBT в Ганновере, Toshiba

/21 мар, 01:38/ автор: Accent (iXBT.com) сайт: www.ixbt.com

Экспозиция компании Toshiba на выставке CeBIT 2017 включает карточки памяти microSD серии Exceria Pro M402.

Серия Toshiba Exceria Pro M402 включает карты памяти microSD объемом от 16 до 128 ГБ

Их выпуск был анонсирован в сентябре прошлого года. Интересно, что тогда производитель пообещал начать продажи в первом квартале 2017 года, характеризуя новые карточки как носители, подходящие для экшн-камер и соответствующие требованиям класса скорости UHS-I U3.

Так выглядели карточки Toshiba Exceria Pro в момент анонса

В ноябре для карт памяти SD придумали новый класс скорости — Application Performance Class. Организация SD Association опубликовала требования App Performance Class 1 или A1: производительность не ниже 1500 IOPS на операциях чтения с произвольным доступом и не ниже 500 IOPS — на операциях записи с произвольным доступом, а также скорость передачи данных при последовательных операциях не ниже 10 МБ/с.

Как видно на фото, сделанных нашим корреспондентом, производитель успел добавить обозначение A1 на новые карточки.

Серия Toshiba Exceria Pro M402 включает карты памяти microSD объемом от 16 до 128 ГБ

Серия включает модели объемом от 16 до 128 ГБ. Как при чтении, так и при записи они развивают скорость до 95 МБ/с

Источник: Собственный корреспондент iXBT в Ганновере

/21 мар, 00:55/ автор: Accent (iXBT.com) сайт: www.ixbt.com

Компания Nerdytec, разрабатывающая эту тему в течение пяти лет, привезла на выставку CeBIT 2017 столики Couchmaster, которые дают возможность пользоваться компьютером, с комфортом расположившись на диване.

В ассортименте Nerdytec есть несколько вариантов Couchmaster, различающихся оформлением

От других похожих изделий Couchmaster отличается большей проработкой и дополнительными удобствами.

В ассортименте Nerdytec есть несколько вариантов Couchmaster, различающихся оформлением

Основой конструкции является рабочая поверхность, на которой располагается клавиатура и мышь.

В ассортименте Nerdytec есть несколько вариантов Couchmaster, различающихся оформлением

Боковые элементы, на которые она опирается, сделаны мягкими и снабжены карманами для мышки, банки с пивом и других полезных вещей.

В ассортименте Nerdytec есть несколько вариантов Couchmaster, различающихся оформлением

Чтобы встать, достаточно отставить рабочую поверхность на одну их боковых опор.

В ассортименте Nerdytec есть несколько вариантов Couchmaster, различающихся оформлением

К компьютеру Couchmaster подключается с помощью кабеля USB длиной 5 м (опционально — 10 м). В столик встроен концентратор USB 3.0, который используется для подключения периферийных устройств и подзарядки мобильных устройств.

В ассортименте Nerdytec есть несколько вариантов Couchmaster, различающихся оформлением

В ассортименте Nerdytec есть несколько вариантов Couchmaster, различающихся оформлением, а также вариант для ноутбука. Покупателями Couchmaster в компании видят тех, кто столу и креслу предпочитает диван.

Источники: Собственный корреспондент iXBT в Ганновере, Nerdytec

/21 мар, 00:07/ автор: Юрий Гитин (iXBT.com) сайт: www.ixbt.com

SSD стандарта M.2, особенно с поддержкой протокола NVMe, зачастую предлагают в разы более высокую производительность, чем их собратья типоразмера 2,5 дюйма. Последние к тому же безнадежно проигрывают в сравнении габаритов, но здесь миниатюризация может сыграть с накопителями для слота M.2 злую шутку. Лишенные корпуса, который помогает рассеивать тепло, они зачастую перегреваются при длительной нагрузке, что в итоге может нивелировать их достоинства.

Проблема явно не преувеличена, ведь на нее уже обратили внимание как производители накопителей, так и производители системных плат. Теперь к ним присоединилась SilverStone со своим аксессуаром TP01-M2.

Теплопроводность SilverStone TP01-M2 составляет 4 Вт/(м∙К)

SilverStone TP01-M2 представляет из себя набор из двух силиконовых прокладок толщиной 0,5 мм и 1,5 мм, которые клеятся к адаптеру-переходнику или системной плате на участок под накопителем. Перед этим длину прокладки можно подогнать ножницами под типоразмер конкретного SSD. В зависимости от расположения элементов на тыльной стороне платы SSD можно компоновать вместе сразу две прокладки.

Теплопроводность SilverStone TP01-M2 составляет 4 Вт/(м∙К)
Теплопроводность SilverStone TP01-M2 составляет 4 Вт/(м∙К)

Теплопроводность SilverStone TP01-M2 заявлена на уровне 4 Вт/(м∙К), допускается температурный эксплуатационный диапазон от -40°C до 200°C. На своем тестовом стенде производителю с помощью новинки удалось снизить температуру SSD Samsung SM951 с 86°C до 71°C. Термопрокладка совместима со слотами M.2, высота которых не превышает 4 мм.

Поиск по сайту
Обратная связь
Разработчикам
Реклама на сайте

Политика конфиденциальности
Пользовательское соглашение

 

Filebox.ru каталог архив программного обеспечения для Windows, работает с 2003 года.
Copyright © 2003-2026 Filebox.ru All Rights Reserved.

Яндекс.Метрика