Лента технологий за 03/03/2017, Пятница - Filebox.ru  Программы | Новости | ТОП-100 программ | Статьи

Лента технологий за 03/03/2017, Пятница - Filebox.ru

Лента технологий | Подборка за 3 марта 2017 г. 00:00:00

/03 мар, 22:29/ автор: Accent (iXBT.com) сайт: www.ixbt.com

В сентябре 2016 года китайская компания Venus Optics анонсировала выпуск объектива Laowa 7.5mm f/2 MFT для камер системы Micro Four Thirds. Производитель пообещал, что в продаже Laowa 7.5mm f/2 MFT появится в начале 2017 года.

Сверхширокоугольный объектив для камер системы Micro Four Thirds был анонсирован в сентябре 2016 года

Хотя продажи еще не начались, представитель компании раскрыл информацию о цене. Производитель рассчитывает продавать Laowa 7.5mm f/2 MFT не дороже $500.

Сверхширокоугольный объектив для камер системы Micro Four Thirds был анонсирован в сентябре 2016 года

Основные технические данные объектива Laowa 7.5mm f/2 MFT:

  • Фокусное расстояние — 7,5 мм (ЭФР 15 мм);
  • Угол поля зрения — 110°;
  • Максимальная диафрагма — F/2,0;
  • Минимальная диафрагма — F/22;
  • Минимальная дистанция фокусировки — 0,12 м;
  • Максимальное увеличение — 0,11х;
  • Конструкция — 13 элементов в 9 группах;
  • Количество лепестков диафрагмы — 7;
  • Размеры — диаметр 55, длина 50 мм;
  • Масса — 170 г;

Источники: 4/3 Rumors, Photozone

/03 мар, 21:13/ автор: Accent (iXBT.com) сайт: www.ixbt.com

Рынок умных очков дополненной реальности (AR) находится на переходном этапе. Очки AR, подобные Google Glass остаются нишевыми решениями с ограниченной сферой применения. С одной стороны, невысокий спрос объясняется затянутыми циклами обновления, но есть и другая причина — появление альтернативной технологии, известной как смешанная реальность (mixed reality, MR). Так видят ситуацию на рынке специалисты аналитической компании Tractica.

Тогда как очки AR просто добавляют дополнительную информацию в поле зрения, в MR используется отслеживание положения и датчики глубины сцены. Это позволяет усилить эффект погружения и обеспечить возможность взаимодействия с виртуальными объектами.

Интерес к умным очкам связан с новой технологией

По мнению аналитиков Tractica, называющих первой гарнитурой MR устройство Microsoft HoloLens, такие гарнитуры имеют шанс на более широкое применение и охват большего числа сегментов рынка по сравнению с их предшественницами.

В прошлом году было отгружено 0,15 млн очков AR. Если прогноз Tractica подтвердится, к 2022 году поставки вырастут до 22,8 млн штук.

Источник: Tractica

/03 мар, 20:49/ автор: Accent (iXBT.com) сайт: www.ixbt.com

Компания Biostar показала системную плату Racing X370-GTN, которая, судя по всему, является первой моделью типоразмера mini-ITX, рассчитанной на процессоры AMD в исполнении AM4.

Информации о цене и начале продаж Biostar Racing X370-GTN пока нет

Как ясно из обозначения, основой платы служит чипсет AMD X370. Плата поддерживает все процессоры AMD Ryzen. На плате есть 24-контактный и 4-контактный разъемы питания. Подсистема питания — семифазная.

Информации о цене и начале продаж Biostar Racing X370-GTN пока нет

Рядом с процессорным гнездом располагается пара слотов для модулей DDR4 DIMM суммарным объемом до 32 ГБ. Поддерживается двухканальный режим и модули до DDR4-2666.

Информации о цене и начале продаж Biostar Racing X370-GTN пока нет

Помимо слота расширения PCI-Express 3.0 x16, оснащение платы включает слот M.2 32 Гбит/с. Он не виден на снимках, поскольку находится на обратной стороне платы. Также есть четыре порта SATA 6 Гбит/с, порты USB 3.0, видеовыходы, звуковой кодек и порт Gigabit Ethernet.

Информации о цене и начале продаж Biostar Racing X370-GTN пока нет.

Источник: Techpowerup

/03 мар, 20:45/ автор: MPAK (iXBT.com) сайт: www.ixbt.com

Недавно мы сообщали, что во время выставки MWC 2017 смартфон Samsung Galaxy S7 Edge назвали лучшим среди аппаратов 2016 года.

В рамках той же церемонии Glomo Awards 2017 был назван и лучший новый смартфон проходящей в Барселоне выставки. Им оказался Sony Xperia XZ Premium.

Sony Xperia XZ Premium завоевал титул лучшего смартфона MWC 2017

Напомним, новинка Sony выделяется однокристальной системой Snapdragon 835, дисплеем 4K и совершенно новой камерой, в основе которой лежит 19-мегапиксельный датчик с собственной микросхемой памяти DRAM.

Это позволяет смартфону не только предлагать функцию предиктивной съёмки, но и снимать видео формата 720p с частотой 960 к/с!

/03 мар, 20:14/ автор: MPAK (iXBT.com) сайт: www.ixbt.com

Компания Chevrolet объявила о том, что она с сегодняшнего дня будет предлагать владельцам её автомобилей, оснащённых точкой доступа OnStar 4G LTE Wi-Fi, безлимитный тарифный план. Судя по всему, это первое такое предложение в отрасли.

Стоимость пакета — 20 долларов в месяц, причём оплачивать можно именно за один месяц, а не за полгода или год сразу. В данном случае модем использует сети AT&T. Конечно, всё это пока работает только в США, однако обычно такие шаги одного из игроков рынка не остаются незамеченными другими, и конкуренция заставляет их поступать аналогичным образом.

Владельцы автомобилей Chevrolet могут заказать безлимитный интернет

Так что в ближайшие годы стоит ожидать предложений с безлимитным мобильным интернетом и от других автопроизводителей в других странах. К слову, ранее за те же 20 долларов Chevrolet предлагала лишь пакет с 4 ГБ данных.

Компания объясняет свой поступок тем, что лишь в прошлом году владельцы её автомобилей в США использовали более 4 млн гигабайт трафика. К слову, сторонние ресурсы утверждают, что безлимитный пакет смогут получить не только владельцы автомобилей Chevrolet, но и других марок концерна General Motors: Buick, Cadillac и GMC.

/03 мар, 19:56/ автор: MPAK (iXBT.com) сайт: www.ixbt.com

Компания Lexar объявила о выпуске карт памяти Professional 1000x microSD UHS-II объёмом 256 ГБ. Производитель позиционирует новинку в качестве хорошего решения для работы с видео вплоть до 4K.

Это обусловлено высокой скоростью записи, которая достигает 90 МБ/с при скорости чтения в 150 МБ/с. Отдельно можно отметить, что Lexar упоминает проверку на совместимость с камерами GoPro, которые отличаются в этом вопросе привередливостью.

Lexar представила карту памяти Professional 1000x microSD UHS-II объёмом 256 ГБ

Карта памяти поставляется вместе с кардридером, который выделяется интерфейсом USB 3.0. Купить новинку можно будет в нынешнем квартале, но за неё придётся отдать 350 долларов. Также карты Professional 1000x microSD UHS-II доступны в объёме от 32 до 128 ГБ.

/03 мар, 19:53/ автор: Accent (iXBT.com) сайт: www.ixbt.com

По данным источника, линейку 3D-карт Inno3D, оснащенных охладителями iChill, пополнили модели GeForce GTX 1080 Ti iChill X3 и X4. Обе модели относятся к верхнему сегменту.

Цены 3D-карты Inno3D GeForce GTX 1080 Ti iChill X3 и X4 пока неизвестны

Несложно понять, что в новинках используется тот же GPU, что и в представленной на днях 3D-карте Nvidia GeForce GTX 1080 Ti. Конфигурация Inno3D GeForce GTX 1080 Ti iChill X3 и X4 включает 3584 ядра CUDA и 11264 МБ памяти GDDR5X.

Цены 3D-карты Inno3D GeForce GTX 1080 Ti iChill X3 и X4 пока неизвестны

На сайте производителя информация о 3D-картах Inno3D GeForce GTX 1080 Ti iChill X3 и X4 пока отсутствует. Источник опубликовал сведения о частотах компонентов второй модели. Базовая частота GPU равна 1480 МГц, повышенная — 1582 МГц, частота памяти — 1376 МГц.

Цены 3D-карты Inno3D GeForce GTX 1080 Ti iChill X3 и X4 пока неизвестны

Цены 3D-карты Inno3D GeForce GTX 1080 Ti iChill X3 и X4 источник не приводит.

Источник: Techpowerup

/03 мар, 19:38/ автор: Accent (iXBT.com) сайт: www.ixbt.com

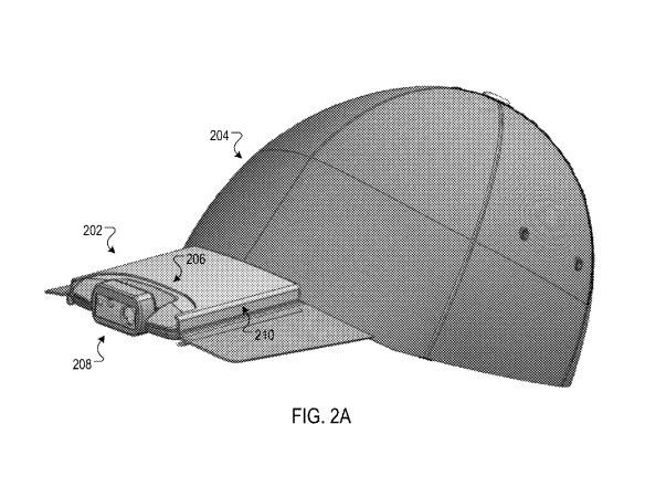
Компания Google недавно получила патент, заявка на который была подана в 2013 году. В патенте описан головной убор со встроенной камерой и громкоговорителем, работающим на эффекте костной проводимости. Кроме того, система включает микрофон и источник питания.

Заявка была подана в 2013 году

Назначение изделия, относящегося к категории носимой электроники, очевидно: с его помощью можно делать снимки и видеозаписи, а также вести прямые видеорепортажи. В частности, на производстве сотрудник с камерой на голове может транслировать обстановку в центр управления, получая инструкции о том, как действовать в той или иной ситуации.

Источник: DP Review

/03 мар, 18:54/ автор: Accent (iXBT.com) сайт: www.ixbt.com

Аналитики IC Insights сравнили капитальные вложения, сделанные производителями полупроводниковой продукции в прошлом году, с запланированными на текущий год.

Абсолютным лидером отрасли по объему капиталовложений является Samsung. В этом году южнокорейский гигант выделит на воспроизводство и развитие основных фондов 12,5 млрд долларов. Это на 11% больше, чем в прошлом году, когда капитальные вложения составили 11,3 млрд долларов. В 2015 году компания инвестировала в основные фонды более 13 млрд долларов.

В этом году GlobalFoundries увеличит капитальные вложения на 33%, но абсолютным лидером по этому показателю остается Samsung

На втором месте по объему капвложений находится Intel. Эта компания уже почти догнала лидера, планируя в текущем году выделить на воспроизводство основных фондов 12 млрд долларов, что на 25% больше, чем в 2016 году, когда капиталовложения были равны 9,625 млрд долларов. В 2015 году сумма была равна 7,326 млрд долларов.

Третье место занимает компания TSMC, выделившая 10 млрд долларов. Отметим, что этот внушительный показатель на 2% меньше прошлогоднего.

Далее следуют компании SK Hynix (6 млрд долларов, рост на 16%), Micron (5 млрд долларов, -13%), SMIC (2,3 млрд долларов, -12%), UMC (2,0 млрд долларов, -30%) и GlobalFoundries (2 млрд долларов, 33%). Замыкают десятку компании Toshiba (1,9 млрд долларов, 3%), SanDisk/WD (1,9 млрд долларов, 3%) и ST (1,05 млрд долларов, 73%).

Источник: IC Insights

/03 мар, 15:47/ автор: Accent (iXBT.com) сайт: www.ixbt.com

Компания анонсировала 3D-карту GeForce GTX 1080 Ti PGF, отличающуюся от референсного образца Nvidia GeForce GTX 1080 Ti. Опубликованные по этому случаю компьютерные изображения позволяют судить о внешности новинки.

Появление Zotac GeForce GTX 1080 Ti PGF на китайском рынке ожидается в текущем месяце

Карта оснащена двумя восьмиконтактными разъемами дополнительного питания и системой охлаждения с тремя вентиляторами.

Появление Zotac GeForce GTX 1080 Ti PGF на китайском рынке ожидается в текущем месяце

В корпусе ПК новая 3D-карта занимает три слота. Она щедро украшена светодиодной подсветкой, которая есть даже на усилительной пластине, закрепленной на тыльной стороне печатной платы.

Появление Zotac GeForce GTX 1080 Ti PGF на китайском рынке ожидается в текущем месяце

Базовая частота GPU GP102 равна 1480 МГц, повышенная — 1582 Мгц. Конфигурация GPU включает 3584 ядра CUDA. Объем памяти равен 11264 МБ. Память GDDR5X, подключенная к шине шириной 352 разряда, работает на частоте 1376 МГц.

Появление Zotac GeForce GTX 1080 Ti PGF на китайском рынке ожидается в текущем месяце

Появление Zotac GeForce GTX 1080 Ti PGF на китайском рынке ожидается в текущем месяце. Цену источник не называет.

Источник: Videocardz

/03 мар, 14:52/ автор: Accent (iXBT.com) сайт: www.ixbt.com

Японская компания Scythe, специализирующаяся на выпуске систем охлаждения, сообщила о поддержке нового процессорного гнезда AMD AM4. Соответствующее крепление входит в комплект многих моделей охладителей Scythe. Говоря точнее, список включает модели Katana 4 (SCKTN-4000), Katana 3 (SCKTN-3000A), Kabuto 3 (SCKBT-3000), Shuriken Rev. B (SCSK-1100), Tatsumi A (SCTTM-1000A), Byakko (SCBYK-1000) и Iori (SCIOR-1000). Пользователи других ранее купленных систем охлаждения Scythe смогут получить крепление отдельно. Первыми, причем бесплатно, эту возможность уже имеют владельцы охладителей Mugen 5. Для этого им достаточно связаться с техподдержкой и подтвердить покупку Mugen 5 и платы с гнездом AM4 или процессора AMD Ryzen.

Крепления новых охладителей Scythe уже совместимы с AM4

В остальных случаях крепление можно будет купить за 4 евро, включая стоимость доставки. Крепление подойдет к кулерам Mugen 4 (SCMG-4000) / Mugen 4 PCGH (SCMG-4PCGH), Kotetsu (SCKTT-1000), Ninja 4 (SCNJ-4000), Grand Kama Cross 3 (SCGKC-3000), Fuma: (SCFM-1000), Mugen Max (SCMGD-1000) и Ashura (SCASR-1000). Отгрузку заказов производитель обещает начать в этом или следующем месяце.

Источник: Scythe

/03 мар, 14:33/ автор: Accent (iXBT.com) сайт: www.ixbt.com

Вслед за исками против Qualcomm, поданным в США и Китае, компания Apple подала подобный иск в Великобритании.

Ранее Apple подала в суд на Qualcomm в Китае и США

По мнению Apple, компания Qualcomm нарушила обязательство лицензировать патенты на технологии, являющиеся частью стандартов сотовой связи, на доступных и недискриминационных условиях. Номера патентов в регистрационной записи, датированной 2 марта, не указаны.

Суть претензий Apple, сформулированных в предыдущих исках, сводится к тому, что Qualcomm якобы требовала завышенные лицензионные платежи. В то же время, в Qualcomm утверждают, что Apple были предложены те же условия лицензирования, что и другим партнерам, так что ни о каком нарушении речи быть не может.

Источник: Bloomberg

/03 мар, 14:14/ автор: Accent (iXBT.com) сайт: www.ixbt.com

Как известно, вчера начались продажи процессоров AMD Ryzen 7 (читается "райзен"). Компания AMD приготовила к этому моменту запас в размере миллиона штук. Однако уже сегодня источник сообщил, что в крупных розничных магазинах процессоры AMD Ryzen распроданы.

Интерес к процессорам AMD Ryzen оказался так велик, что спрос превысил предложение

В частности, процессоров уже нет в наличии в магазинах Amazon и Fry, а магазин Newegg предлагает AMD Ryzen 7 только в составе наборов для сборки ПК. Очевидно, интерес к процессорам оказался так велик, что спрос превысил предложение. Это не редкость на начальном этапе продаж — главное, чтобы AMD смогла быстро направить в розничную сеть новые объемы поставок и воспользоваться высоким спросом.

Источник: Techpowerup

/03 мар, 13:54/ автор: Jin (iXBT.com) сайт: www.ixbt.com

Компания LG сообщила о начале приема предварительных заказов на смартфон LG G6, который пока что предлагают забронировать только жителям Южной Кореи, где устройство появится изначально.

Прием предварительных заказов продлится до 9 марта, а начало продаж смартфона в Южной Корее состоится 10 марта 2017.

Первые покупатели LG G6 получат приятные бонусы, в частности, оригинальный чехол для смартфона, а также годовую гарантию на бесплатную замену экрана в случае его повреждения. В дальнейшем при покупке такого чехла и оформлении гарантии придется заплатить $220.

За предзаказ LG G6 в Корее полагаться бонусы на сумму около $400

Также оформившие предзаказ получают возможность приобрести всего за $5 один из следующих продуктов: гарнитуру LG Tone+, клавиатуру LG Rolly Keyboard 2 или кофе-машину Nescafe.

Общий размер скидки при оформлении предварительного заказа на LG G6 в Корее может достигать $400.

Ждем похожих предложений для Европы, где смартфон будет стоить 700 евро.

/03 мар, 13:34/ автор: Jin (iXBT.com) сайт: www.ixbt.com

Год назад сервис Spotify сообщил о 75 млн активных пользователей и 30 млн платных подписчиков. Спустя полгода пользовательская база выросла до 100 млн человек и 40 млн платных подписчиков.

По состоянию на начало марта этого года количество пользователей платной подписки в Spotify составило 50 млн человек. Это означает, что сервис развивается теми же темпами, набрав еще 10 млн человек за полгода.

В Spotify насчитывается более 50 млн платных подписчиков

Конкурирующий сервис Apple Music в декабре отчитался о 20 млн премиальных подписчиков.

Оба сервиса в данный момент тестируют новые возможности и модели подписки для привлечения клиентов.

/03 мар, 12:56/ автор: Jin (iXBT.com) сайт: www.ixbt.com

Стоит напомнить, что компания LG, анонсировав свой флагманский смартфон LG G6 на выставке Mobile World Congress 2017, не сообщила, по какой цене устройство будет доступно покупателям.

Затем глава мобильного подразделения LG Джуно Чо (Juno Cho) в ходе интервью подтвердил, что смартфон LG G6 поступит в продажу на территории Южной Кореи 10 марта, а младшая версия будет стоить около 790 долларов. Появление устройства в других странах мира ожидается вскоре после этого.

Теперь же LG G6 появился на сайте румынского онлайнового магазина QuickMobile. Теперь мы знаем, что в европейском регионе цена LG G6 составит около 700 евро.

В Европе смартфон LG G6 будет продаваться по цене около €700

Смартфон уже успешно прошел тест на устойчивость к появлению царапин.

/03 мар, 12:56/ автор: Accent (iXBT.com) сайт: www.ixbt.com

Рабочая группа Khronos VR Initiative рассказала о разработке открытого и бесплатного стандарта для устройств и приложений дополненной и виртуальной реальности (AR и VR). Стандарт назвали OpenXR. Так же теперь называется и соответствующая рабочая группа Khronos.

Разработка OpenXR является попыткой унифицировать и стандартизовать создание приложений AR и VR. В отсутствие кросс-платформенного стандарта, разработчики вынуждены портировать программное обеспечение, учитывая особенности API, предложенного каждым производителем оборудования. С другой стороны, это означает, что каждое устройство поддерживает только приложения, созданные для него. Эти факторы сдерживают развитие и замедляют рост рынка.

Создание кросс-платформенного стандарта устранит фрагментацию

Создание кросс-платформенного стандарта устранит фрагментацию, позволив создавать один вариант приложения, который будет работать на всех устройствах. В архитектуре OpenXR определено два уровня абстракции. Один доступен приложениям в виде API, а второй обеспечивает совместимость с различными устройствами. По сути, устройства могут самостоятельно встраиваться в платформу, используя стандартизованный интерфейс драйвера.

Создание кросс-платформенного стандарта устранит фрагментацию

Надежды на внедрение OpenXR связаны с тем, что в группу входят AMD, ARM, Google, Imagination, Intel, Nvidia, Oculus, Qualcomm, Samsung и другие влиятельные представители отрасли.

Источник: Khronos

/03 мар, 12:32/ автор: Jin (iXBT.com) сайт: www.ixbt.com

В середине января мы сообщали, что компания LeEco привлекла $2,2 млрд инвестиций, однако существенно поправить свое состояние компания так и не смогла.

Сначала финансируемая ею компания Faraday Future заявила, что она планирует выпустить всего две модели электромобилей вместо семи. Теперь же стало известно, что LeEco может покинуть рынок Индии, на который она пришла только год назад.

LeEco сокращает 85% индийского подразделения и может уйти из страны

Как сообщают источники, LeEco уволила 85% сотрудников, которые работали в Индии, включая двух руководителей крупных направлений. Также стало известно, что в прошлом году LeEco тратила по 12 млн долларов только на рекламу своих устройств в Индии, где они продавались не так хорошо, как ожидалось.

Исполнительный директор LeEco India Алекс Ли (Alex Li) подтвердил, что компанию покинули два высокопоставленных сотрудника, однако он отрицает слухи о том, что LeEco уйдет с рынка Индии.

/03 мар, 12:22/ автор: Accent (iXBT.com) сайт: www.ixbt.com

Одновременно с другими производителями процессорных систем охлаждения о поддержке процессоров AMD в исполнении AM4 сообщила компания Fractal Design. Пользователи СВО Fractal Design серии Kelvin могут получить соответствующие крепления бесплатно.

Fractal Design выпускает крепления для сокета AM4

Крепления для СВО Kelvin T12, S24 и S36 будут доступны для заказа в онлайновой системе технической поддержки Fractal Design (Support Ticket System). Чтобы заказать крепление, необходимо будет отправить вместе с запросом изображение документов, подтверждающих покупку процессора AMD Ryzen или системной платы с гнездом AM4.

Источник: Fractal Design

/03 мар, 12:18/ автор: Jin (iXBT.com) сайт: www.ixbt.com

27-летняя Шаник Лэмб (Shaunique Lamb) из Вирджинии рассказала журналистам о том, как смартфон Samsung Galaxy S7 загорелся, находясь в подстаканнике ее автомобиля, когда она была за рулем.

Девушка заявляет, что в этот момент смартфон не находился на зарядке, однако он был подключен по каналу Bluetooth к мультимедийной системе автомобиля, на которую он транслировал музыку.

Когда Шаник обратилась в магазин, в котором она покупала смартфон, страховая компания заявила, что стоимость замены смартфона составит 200 долларов. Представители магазина добавили, что это стандартная плата за замену телефона, повреждения которого не охватывает гарантия.

Смартфон Samsung Galaxy S7 загорелся при использовании в машине по каналу Bluetooth

Представители Samsung заявили, что в США продано более 10 млн смартфонов Samsung Galaxy S7, отметив, что компания общается с Шаник Лэмб, надеясь получить смартфон и выяснить, что стало причиной возгорания.

И еще одна новость, связанная с Samsung Galaxy S7: в США в данный момент цена на смартфон снижена на $250 до $300. В подарок покупатели получают карту памяти емкостью 128 ГБ. Акция действует только в магазинах оператора Sprint.

/03 мар, 11:36/ автор: Jin (iXBT.com) сайт: www.ixbt.com

Известный аналитик KGI Securities Мин-Чи Куо (Ming-Chi Kuo) в своем свежем заявлении отметил, что все три новых смартфона iPhone, которые должны выйти в этом году, сохранят разъемы Lightning.

Напомним, на этой неделе издание The Wall Street Journal, ссылаясь на проверенных информаторов, написало, что в новом смартфоне iPhone 8 компания Apple откажется от разъема Lightning в пользу USB-C. Затем аналитик Barclays Блэйн Кертис (Blayne Curtis) заявил, что Apple все же сохранит разъем Lightning.

KGI Securities утверждает, что все три новых iPhone сохранят разъемы Lightning и получат быструю зарядку

Мин-Чи Куо отметил, что, сохранив разъем Lightning, все три модели получат поддержку технологии быстрой зарядки, соответствующей спецификации USB-C Power Delivery. Для этого Apple использует систему управления питанием TI и решение Power Delivery компании Cypress. Также делается акцент на том, что iPhone 8, который будет оснащен дисплеем OLED, а также более емким аккумулятором и различными техническими инновациями, будет заряжаться быстрее двух других моделей. На этом фоне слух о выпуске адаптера для кабеля USB-C кажется вполне реальным.

Выход новых смартфонов ожидается в сентябре.

/03 мар, 11:20/ автор: Accent (iXBT.com) сайт: www.ixbt.com

Мировой рынок корпоративных систем хранения в минувшем квартале составил 11,1 млрд долларов. Этот показатель соответствует уменьшению продаж по сравнению с тем же периодом 2015 года на 6,7%. При этом суммарный объем корпоративных хранилищ, отгруженных в течение квартала, за год увеличился на 18,3% и достиг 52,4 ЭБ. Такие данные приведены в отчете, подготовленном специалистами аналитической компании IDC.

Аналитики IDC оценили рынок корпоративных систем хранения в четвертом квартале 2016 года в 11,1 млрд долларов

Лидером рынка с большим отрывом от конкурентов является компания Dell, доля которой равна 32,9%. Год назад доля Dell составляла 36,8%. Доли трех следующих участников настолько близки, что аналитики IDC всех их поместили на второе место. Это компании HPE (10,2%), IBM (10,1%) и NetApp (10,0%). Год назад доли этих трех компаний были равны 10,1%, 11,3% и 9,3% соответственно. Замыкает первую пятерку компания Hitachi, доля которой за год уменьшилась с 7,6% до 7,0%.

Источник: IDC

/03 мар, 11:19/ автор: Jin (iXBT.com) сайт: www.ixbt.com

В середине января китайский источник опубликовал изображения, на которых якобы был запечатлен смартфон Google Pixel 2. Теперь у нас есть новая информация об устройстве, которую озвучил вице-президент Google Рик Остерло (Rick Osterloh) в интервью AndroidPit.

Он заявил, что Google Pixel 2 останется в премиальном ценовом сегменте, добавив, что Google не против, если другие производители будут соревноваться друг с другом в более бюджетных категориях.

Он также прямо намекнул, что Google намеревается придерживаться установленных индустрией стандартов, согласно которым производители смартфонов выпускают новые флагманские смартфоны каждый год. Это означает, что выход Google Pixel 2 и Pixel XL 2 может состояться в октябре этого года.

Google Pixel 2 выйдет в октябре и останется в премиальном сегменте

Предыдущие слухи указывали на то, что Google Pixel 2 получит улучшенную камеру с новыми возможностями и более качественной ночной съемкой. Предположительно, смартфон оснастят однокристальной системой Snapdragon 835. Хотя к четвертому кварталу на рынке может появиться и разогнанная версия данной SoC.

Оригинальный смартфон Google Pixel производился силами тайваньской компании HTC. Пока неизвестно, продолжится ли данное сотрудничество в этом году.

/03 мар, 11:15/ автор: Юрий Гитин (iXBT.com) сайт: www.ixbt.com

Вслед за скоростным SSD T-Force Cardea M.2 компания Team Group представила модели начального уровня L5 Lite. Как и подобает статусу, они выполнены в привычном типоразмере 2,5 дюйма, оснащены интерфейсом SATA 6 Гбит/с и имеют сравнительно скромную емкость.

Производительность накопителей Team Group L5 Lite крайне зависима от их емкости

SSD Team Group L5 Lite представлены в объеме 60, 120, 240 и 480 ГБ и значительно отличаются по производительности, прежде всего при записи и вообще операциях доступа к случайным блокам. При потоковых операциях чтения/записи показатели растут от 500/100 МБ/с до 530/420 МБ/с у старшей по объему модели. При доступе к случайным блокам производительность чтения/записи составляет от 30000/25000 IOPS до 70000/70000 IOPS.

Накопители Team Group L5 Lite рассчитаны на работу в диапазоне температур 0°C — 70°C и защищены трехлетней гарантией.

/03 мар, 11:15/ автор: Юрий Гитин (iXBT.com) сайт: www.ixbt.com

Вслед за скоростным SSD T-Force Cardea M.2 компания Team Group представила модели начального уровня L5 Lite. Как и подобает статусу, они выполнены в привычном типоразмере 2,5 дюйма, оснащены интерфейсом SATA 6 Гбит/с и имеют сравнительно скромную емкость.

Производительность накопителей Team Group L5 Lite крайне зависима от их емкости

SSD Team Group L5 Lite представлены в объеме 60, 120, 240 и 480 ГБ и значительно отличаются по производительности, прежде всего при записи и вообще операциях доступа к случайным блокам. При потоковых операциях чтения/записи показатели растут от 500/100 МБ/с до 530/420 МБ/с у старшей по объему модели. При доступе к случайным блокам производительность чтения/записи составляет от 30000/25000 IOPS до 70000/70000 IOPS.

Накопители Team Group L5 Lite рассчитаны на работу в диапазоне температур 0°C — 70°C и защищены трехлетней гарантией.

/03 мар, 11:09/ автор: Jin (iXBT.com) сайт: www.ixbt.com

Анонимный источник сообщает, что смартфон Xiaomi Mi6 может поступить в продажу только 16 апреля этого года. Ранее считалось, что устройство появится в магазинах уже в марте. Напомним, выход Samsung Galaxy S8 ожидается 21 апреля.

Источник подтверждает предыдущее заявление главы аналитической компании IHS Technology Кевина Ванга (Kevin Wang), который отметил, что Xiaomi Mi6 получит полноценную SoC Snapdragon 835. Версии с заниженными частотами на рынке не будет.

Смартфон Xiaomi Mi6 может выйти всего на несколько дней раньше Samsung Galaxy S8

По данным инсайдера, Xiaomi Mi6 получит дисплей диагональю 5,2 дюйма и новую камеру, похожую на ту, что дебютировала в Sony Xperia XZ Premium.

За версию с 4 ГБ ОЗУ и 32 ГБ флэш-памяти будут просить около 290 долларов, старшая версия с 6 ГБ ОЗУ и 128 ГБ флэш-памяти, а также керамическим корпусом обойдется в $362.

/03 мар, 10:42/ автор: Accent (iXBT.com) сайт: www.ixbt.com

Как известно, процессоры AMD Ryzen и другие новые процессоры AMD рассчитаны на установку в гнездо АМ4. Компания NZXT, выпускающая, в том числе, процессорные системы охлаждения, сообщила, что все пользователи СВО серии Kraken смогут бесплатно получить крепление, обеспечивающее совместимость этих СВО с процессорным гнездом AMD AM4.

СВО NZXT Kraken X42

Список СВО, подлежащих бесплатной модернизации, включает модели Kraken X31, Kraken X41, Kraken X61, Kraken X42, Kraken X52 и Kraken X62. Заказать крепление можно на сайте производителя. Для этого понадобится подтвердить факт покупки СВО NZXT Kraken и системной платы с гнездом AM4. Отгрузка заказов начнется 15 марта.

Источник: NZXT

/03 мар, 10:35/ автор: Jin (iXBT.com) сайт: www.ixbt.com

Источники сообщают, что процент брака при производстве 10-нанометровых SoC заставляет производителей переносить даты выхода новых смартфонов.

Процент выхода качественной продукции TSMC, которая изготавливается по нормам 10 нм, все еще находится на недостаточно высоком уровне. В результате поставки Helio X30, первой однокристальной системы, при производстве которой используется этот техпроцесс, уже откладываются.

Компания MediaTek, анонсировав Helio X30, заявила, что первые смартфоны с этой SoC появятся на рынке только во втором полугодии. Операционный директор Джеффри Джу (Jeffrey Ju) в интервью Nikkei подтвердил, что Helio X30 задерживается из-за обкатки новой технологии.

Процент брака при производстве 10-нанометровых SoC все еще слишком велик

Аналогичная ситуация наблюдается на заводах Samsung при производстве 10-нанометровых SoC Exynos 8895 и Snapdragon 835, в результате чего был отложен выпуск смартфона Samsung Galaxy S8.

Источники считают, что во втором квартале доля смартфонов с 10-нанометровыми SoC составит не менее 10%.

/03 мар, 10:30/ автор: Accent (iXBT.com) сайт: www.ixbt.com

Показанное на иллюстрациях устройство представляет собой мобильную акустическую систему Decibel, оснащенную интерфейсом Bluetooth. По словам разработчиков, Decibel — первая мобильная АС, которую пользователь может модернизировать самостоятельно.

Средства на выпуск Decibel разработчики надеются собрать на сайте Indiegogo

В Decibel установлено два низкочастотных излучателя диаметром 50,8 мм и два высокочастотных излучателя диаметром 18 мм, а также пассивный отражатель. АС поддерживает Bluetooth 4.2/5.0 и кодек aptX. Предусмотрено и проводное подключение. Питание обеспечивает пара литий-ионных аккумуляторов 18650 емкостью 3500 мА∙ч, одной зарядки которых достаточно для 24 часов работы на номинальной громкости. Возможная беспроводная и проводная зарядка. Во втором случае используется порт USB-C. При габаритах 78 x 174 x 82 мм устройство весит 850 г. Степень защиты АС Decibel — IP54.

Средства на выпуск Decibel разработчики надеются собрать на сайте Indiegogo

Колонка легко разбирается для ремонта или модернизации, для чего достаточно воспользоваться включенным в комплект шестигранным ключом. Компоненты АС можно заменять, возвращая старые для утилизации и заказывая новые на сайте Module. Помимо используемых в исходной конструкции, производитель рассчитывает предлагать новые компоненты по мере развития технологий, скажем, при появлении новой версии беспроводного интерфейса.

Средства на выпуск Decibel разработчики надеются собрать на сайте Indiegogo. Стоит устройство $195.

Источники: Module, Indiegogo

/03 мар, 10:25/ автор: Jin (iXBT.com) сайт: www.ixbt.com

Согласно новым слухам, компания Samsung работает над гарнитурой виртуальной реальности, для которой не нужен будет смартфон.

Источник отмечает, что гарнитура будет оснащена новейшей однокристальной системой Exynos 9, которая включает графический процессор Mali-G71 на архитектуре Bifrost.

Ранее сообщалось, что Samsung работает над конкурентом Microsoft HoloLens, который станет продвинутым устройством дополненной реальности.

Samsung может выпустить гарнитуру виртуальной реальности, оснащенную SoC Exynos 9

Кроме того, источник пишет, что Samsung планирует использовать линейку однокристальных систем Exynos в самых разных устройствах и отраслях. В данный момент Samsung уже заключила договор с Audi на использование SoC Exynos в мультимедийных системах новых автомобилей.

Неделю назад стало известно о начале выпуска 10-нанометровых SoC Samsung Exynos 9 Series 8895.

/03 мар, 10:14/ автор: Jin (iXBT.com) сайт: www.ixbt.com

Корейское издание Chosun Ilbo сообщает, что компания Meizu отказалась от использования однокристальной системы Samsung Exynos 8895 в новом флагманском смартфоне Meizu Pro 7.

Долгое время Meizu была крупнейшим китайским заказчиком однокристальных систем Exynos. В Meizu MX4 Pro применена Exynos 5430, Meizu Pro 5 получил Exynos 7420, Meizu Pro 6 оснащается Exynos 8890 или Helio 25.

Источник отмечает, что Samsung не смогла обеспечить достаточное количество 10-нанометровых однокристальных систем Exynos 8895, в результате чего Meizu обратилась к MediaTek.

По слухам, Meizu отказалась от использования SoC Samsung в Meizu Pro 7

Ранее опубликованные изображения указывают на то, что смартфон Meizu Pro 7 получит титановый корпус, дисплей разрешением 4К и датчик изображения Sony IMX362.

/03 мар, 09:22/ автор: Юрий Гитин (iXBT.com) сайт: www.ixbt.com

В ассортименте Rosewill появились две новые модели гарнитур, EX-500 и EX-700. Их особенностью стала двухполосная конструкция, в которой каждый громкоговоритель работает в собственном диапазоне частот, что обычно улучшает детализацию звука.

В гарнитурах Rosewill EX-500 и EX-700 используются разные НЧ-излучатели

В обеих моделях ВЧ-диапазон воспроизводится излучателем с уравновешенным якорем, также есть динамический излучатель, диаметр которого составляет 8 мм в гарнитуре Rosewill EX-700 и 10 мм в EX-500. Только в Rosewill EX-500 ВЧ-громкоговоритель изготовлен из керамики, при этом новинки способны воспроизвести частоты до 40 кГц.

В гарнитурах Rosewill EX-500 и EX-700 используются разные НЧ-излучатели

Корпуса гарнитур изготовлены из алюминия,а их форма подобрана для более удобной посадки в ухе, заодно снижающей проникновение постороннего шума. В комплектацию входит пять пар сменных насадок разного размера: две стандартные и три, делающие акцент на высокие частоты, также есть сумочка для переноски. Гарнитуры Rosewill EX-500 и EX-700 поступили в продажу по цене $70 и $60 соответственно.

/03 мар, 09:00/ автор: MPAK (iXBT.com) сайт: www.ixbt.com

Аналитики IDC подсчитали, что по итогам текущего года мировая выручка, связанная с мобильными технологиями, достигнет 1,57 трлн долларов. Это на 2,6% больше, чем в 2016 году. Аналитики ожидают, что совокупные темпы годового роста (compound annual growth rate; CAGR) в период с 2015 по 2020 год в итоге составят 2,1%, так что в 2020 году выручка данного направления достигнет 1,67 трлн долларов.

Самая большая категория — услуги связи. На втором месте будут затраты пользователей и корпоративных клиентов на покупку мобильной техники. Эти две статьи доходов в сумме обеспечат 95% рынка, причём две трети придётся на потребительский сегмент.

Рынок мобильных технологий превысит отметку в полтора триллиона долларов

Наиболее быстрорастущими сегментами являются приложения и платформы для их разработки. Значения совокупного темпа годового роста для этих направлений соответственно составляют 17,3% и 20,3%.

Банковская сфера, дискретное производство и профессиональные услуги обеспечат немалый вклад в рынок мобильных технологий. Источник говорит о сумме 166,3 млрд долларов. Телекоммуникационная отрасль покажет самый большой темп роста расходов со значением CAGR в 4,2% в период с 2015 по 2020 год.

Регионом с наибольшим доходом (500 млрд долларов) станет Азиатско-Тихоокеанский, но за исключением Японии.

/03 мар, 08:30/ автор: MPAK (iXBT.com) сайт: www.ixbt.com

Согласно данным Strategy Analytics, продажи умных акустических систем в прошлом году достигли 5,9 млн единиц. Лидером рынка является компания Amazon, которая, собственно, и зародила его, выпустив АС Echo. Но в количественном выражении данных источник не приводит.

Зато аналитики прогнозируют увеличение объёмов продаж такой продукции на порядок к 2022 году. Рост продаж будет обусловлен улучшением технологий распознавания речи и поддержкой новых языков.

Рынок умных АС за пять лет вырастет с 1,5 млрд долларов до 5,5 млрд

В денежном выражении источник оценивает данный рынок в 1,5 млрд долларов в текущем году и в 5,5 млрд долларов к 2022 году. Согласно прогнозам, в нынешнем году 7% американских домохозяйств будут иметь умную АС, а к 2022 году их доля вырастет до 33%. В Западной Европе к тому же 2022 году только 15% домохозяйств будут располагать подобными устройствами, так как на пути более широкого распространения станет локализация.

/03 мар, 08:00/ автор: MPAK (iXBT.com) сайт: www.ixbt.com

Несколько дней назад стало известно, что голосовой помощник Google Assistant вскоре станет доступен для всех желающих. Конечно, были условия. В частности, смартфон должен работать под управлением Android Marshmallow или Nougat, располагать экраном разрешением не менее 720p и иметь не менее 1,5 ГБ ОЗУ.

Вчера Google опубликовала видео, которое знаменует выход помощника Assistant в свободное плавание. Искусственный интеллект уже появился в Google Play Services. Изначально он доступен только в США. Затем список стран пополнится Канадой, Австралией, Великобританией и Германией. В последнем случае ПО будет локализовано.

Google Assistant стал доступен для обычных смартфонов

К сожалению, когда Assistant можно будет ожидать в России, нельзя даже предположить.

/03 мар, 07:30/ автор: MPAK (iXBT.com) сайт: www.ixbt.com

Как известно, смартфоны Samsung Galaxy S8 и Galaxy S8+ будут представлены 29 марта, а в продаже появятся в конце апреля.

Как сообщают источники, Samsung уже приступила к массовому производству новинок, чтобы удовлетворить спрос в первый месяц продаж. В частности, выпуском смартфонов занялось предприятие во Вьетнаме.

Samsung произведёт крупную первую партию новых флагманских смартфонов

Также сообщается, что объём первой партии аппаратов составит более 10 млн единиц. 4,7 млн будет произведено в марте, а 7,8 млн — в апреле. Кроме того, что корейский гигант ожидает большой спрос на новинки, аппараты сразу появятся на многих рынках, так что Samsung необходимо успеть произвести должное количество смартфонов.

/03 мар, 07:00/ автор: MPAK (iXBT.com) сайт: www.ixbt.com

Ранее в Сети появилась информация о том, что компания Valve подтвердила факт работы LG над гарнитурой виртуальной реальности, которая будет использовать технологию SteamVR Tracking и платформу OpenVR. Напомним, Valve совместно с HTC работала над гарнитурой Vive.

LG создаёт собственную гарнитуру VR на платформе Valve

На выставке GDC 2017 корейская компания показала прототип этого устройства. Прототип содержит два дисплея OLED диагональю 3,64 дюйма и разрешением 1440 х 1280 пикселей каждый. Кадровая частота составляет 90 Гц, а угол обзора достигает 110 градусов.

LG создаёт собственную гарнитуру VR на платформе Valve

Те, кто уже успел опробовать устройство LG, отмечают, что оно воспринимается примерно на одном уровне с HTC Vive, но не стоит забывать, что это всего лишь прототип. LG пока не спешит говорить о дате анонса, но что касается цены, представитель компании заявил — их гарнитура будет стоить аналогично конкурентам. То есть можно ожидать цены в пределах 500-800 долларов.

Поиск по сайту
Обратная связь
Разработчикам
Реклама на сайте

Политика конфиденциальности
Пользовательское соглашение

 

Filebox.ru каталог архив программного обеспечения для Windows, работает с 2003 года.
Copyright © 2003-2026 Filebox.ru All Rights Reserved.

Яндекс.Метрика