Apple получила патент на электронное устройство с гибким дисплеем в форме свитка : Лента технологий : Filebox.ru новостные ленты, мобильные технологии и интернет  Программы | Новости | ТОП-100 программ | Статьи

Apple получила патент на электронное устройство с гибким дисплеем в форме свитка : Лента технологий : Filebox.ru новостные ленты, мобильные технологии и интернет
24 апр 2017, 10:20г. автор Accent (iXBT.com) сайт www.ixbt.com

Apple получила патент на электронное устройство с гибким дисплеем в форме свитка

Американское патентное ведомство на прошлой неделе выдало компании Apple патент №9625948. В этом патенте описаны «электронные устройства с выдвижными дисплеями». Принцип конструкции выдвижных дисплеев показан на иллюстрациях.

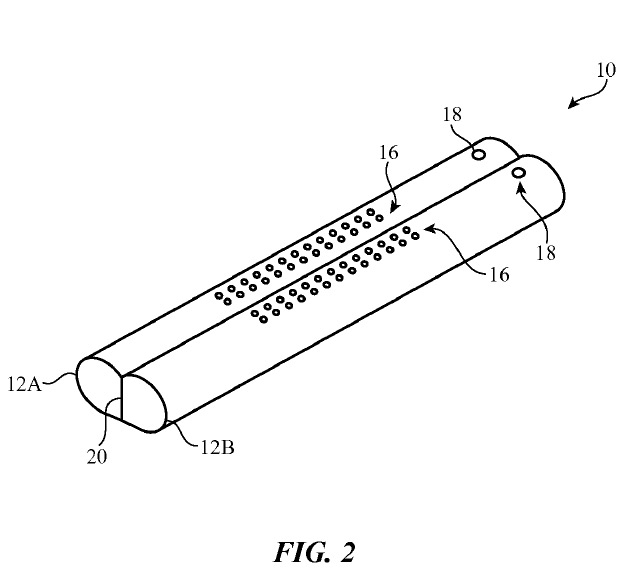
Устройство состоит из двух частей, соединенных дисплеем

Устройство состоит из двух частей, соединенных дисплеем. Дисплей гибкий и сворачивается в трубочку, помещаясь при этом в корпусе устройства. Разворачиваясь, он становится плоским. Другими словами, конструкция напоминает старинные свитки.

Устройство состоит из двух частей, соединенных дисплеем

Для надежности параллельно с дисплеем может разворачиваться поддерживающий его жесткий элемент. Громкоговорители, микрофоны, камеры и другие компоненты предполагается размещать в боковых частях. Когда устройство сложено, боковые части могут скрепляться между собой с помощью магнитов.

Источник: USPTO

Смотри так же другие новости из Лента технологий




Поиск по сайту
Обратная связь
Разработчикам
Реклама на сайте

Политика конфиденциальности
Пользовательское соглашение

 

Filebox.ru каталог архив программного обеспечения для Windows, работает с 2003 года.
Copyright © 2003-2026 Filebox.ru All Rights Reserved.

Яндекс.Метрика