Лента технологий за 04/05/2016, Среда - Filebox.ru  Программы | Новости | ТОП-100 программ | Статьи

Лента технологий за 04/05/2016, Среда - Filebox.ru

Лента технологий | Подборка за 4 мая 2016 г. 00:00:00

/04 мая, 22:08/ автор: Accent (iXBT.com) сайт: www.ixbt.com

Полтора десятка старинных телефонных будок компании BT, расположенных в Лондоне, Лидсе и Эдинбурге, будут преобразованы в крошечные персональные офисы. Этим займется нью-йоркская компания Bar Works, специализирующаяся на организации совместно используемых рабочих мест.

Компания Bar Works рассчитывает постепенно увеличивать число телефонных будок, переделанных в рабочие места

Каждая будка, взятая Bar Works в аренду, будет оборудована точкой доступа Wi-Fi, принтером, сканером, 25-дюймовым монитором, беспроводной мышью, источником питания и автоматом, готовящим горячие напитки. Оформив подписку на сервис Pod Works стоимостью 20 фунтов стерлингов в месяц, можно при необходимости воспользоваться любым из 15 мини-офисов.

Компания Bar Works рассчитывает постепенно увеличивать число телефонных будок, переделанных в рабочие места.

Напомним, в 2014 году некоторым телефонным будкам Лондона уже было придумано новое назначение, связанное с развитием мобильных технологий.

Источник: Bar Works

/04 мая, 22:06/ автор: Юрий Гитин (iXBT.com) сайт: www.ixbt.com

Болгарская компания Olimex, специализирующаяся на выпуске оборудования для разработки и встраиваемого использования, представила одноплатный ПК A20-OLinuXino-LIME2-eMMC. Новинка не может похвастаться последним поколением SoC: используемая микросхема Allwinner A20 была представлена три года назад и имеет вполне привычные для тех времен два ядра ARM Cortex-A7 и GPU Mali 400 MP2. Зато данная SoC получила контроллеры SATA и Gigabit Ethernet, а в составе платы Olimex она дополнена модулем eMMC.

Плата Olimex A20-OLinuXino-LIME2-eMMC имеет флэш-память, переходящую в режим SLC

Флэш-модуль Micron MTFC4GACAANA-4M IT стал одной из особенностей платы A20-OLinuXino-LIME2-eMMC . Он соответствует стандарту eMMC v4.51, имеет объем 4 ГБ и работает в промышленном температурном диапазоне от -40 °С до +90 °С. Поддерживается переключение из режима MLC в SLC, объем при этом уменьшается до 2 ГБ. На плате распаяны две микросхемы ОЗУ DDR3 суммарной емкостью 1 ГБ, разъем SATA с коннектором питания и слот microSD.

Плата Olimex A20-OLinuXino-LIME2-eMMC имеет флэш-память, переходящую в режим SLC

Порт HDMI поддерживает разрешения до FullHD, имеются два порта USB 2.0, microUSB с поддержкой OTG, порт Gigabit Ethernet, есть контактные площадки GPIO (160 выводов), UART и для подключения ЖК-дисплея. Плата Olimex A20-OLinuXino-LIME2-eMMC поддерживает ОС Android 4.2 и Debian 8, цена изделия равна 55 евро.

/04 мая, 20:56/ автор: MPAK (iXBT.com) сайт: www.ixbt.com

Одна из основных проблем различных гарнитур виртуальной реальности (VR) в нынешнем их поколении является тошнота, сопровождающая относительно длительную работу с такими аппаратами.

Компания Microsoft в лице своей лаборатории Microsoft Research работает над методами, которые должны если не решить эту проблему, то значительно ослабить этот побочный эффект.

Microsoft использует имитацию периферического зрения для избавления от чувства тошноты

Одной из основных причин возникновения тошноты является ограниченный угол обзора в шлемах VR. Зачастую он находится в пределах 90-120 градусов, тогда как человек с учётом периферического зрения видит примерно на 180 градусов и даже больше. В Microsoft Research использовали достаточно простое решение, чтобы попробовать нивелировать данный недостаток. Разработчики использовали массив обычных светодиодов на внутренней части гарнитуры. Как именно они расположены, можно понять из видео.

Благодаря ПО, которое просчитывает, насколько ярко должен светить тот или иной светодиод в конкретный момент времени, создаётся подобие периферического зрения, что снижает негативные эффекты от использования шлемов VR. Специалисты Microsoft Research утверждают, что испытания ранних прототипов подтверждают действенность такого метода.

/04 мая, 20:12/ автор: Accent (iXBT.com) сайт: www.ixbt.com

Компания Microchip Technology представила 32-разрядный микроконтроллер CEC1302, особенностью которого являются аппаратные средства шифрования. По словам Microchip, аппаратное шифрование выигрывает по производительности у шифрования, реализованного силами встроенного ПО. Новый микроконтроллер предназначен для устройств интернета вещей, в которых востребована высокая степень защиты информации.

В конфигурацию CEC1302 входит 32-разрядное ядро ARM Cortex-M4, работающее на частоте до 48 МГц

Используя CEC1302, можно проверить аутентичность встроенного ПО до начальной загрузки и проверять его обновления, что позволяет защититься от нескольких типов атак, принципиально устранив некоторые уязвимости, свойственные решениям с программным шифрованием.

В конфигурацию CEC1302 входит 32-разрядное ядро ARM Cortex-M4, работающее на частоте до 48 МГц, и 128 КБ памяти SRAM. Флэш-память — внешняя, подключается по интерфейсу SPI. Криптографический блок поддерживает режимы AES ECB, CTR, CBC и OFB, ключи длиной 128, 192 и 256 бит. Блок хеширования поддерживает SHA-1 и SHA-256. Оба блока обращаются к памяти по общему интерфейсу DMA. По словам производителя, CEC1302 можно использовать самостоятельно или как сопроцессор защиты совместно с другим микроконтроллером. Оснащение CEC1302 включает АЦП, счетчики и таймеры, генераторы ШИМ, другие периферийные блоки, а также 116 линий GPIO.

Цена CEC1302 (каталожный номер CEC1302D-SZ-C0) — $1,75 за штуку в партии из 10000 штук. Уже доступны как ознакомительные образцы, так и товарные количества. Микроконтроллер выпускается в 144-контактных корпусах WFBGA.

Источник: Microchip Technology

/04 мая, 19:35/ автор: Accent (iXBT.com) сайт: www.ixbt.com

Компания Netgear объявила о выпуске трех моделей управляемых коммутаторов 10GbE. Они пополнили семейство ProSAFE. По словам производителя, новые коммутаторы предназначены для компаний небольшого и среднего размера. Использование управляемых коммутаторов 10GbE позволяет увеличить пропускную способность сети.

Цена ProSAFE XS708T — $1558, ProSAFE XS716T — $2623, ProSAFE XS748T — $8198

Список новинок открывает модель XS748T с 48-портами. Ее конфигурация включает 44 портов 10GBASE-T для подключения медного кабеля и четыре порта 1GbE/10GbE SFP+ для оптоволоконного подключения.

Модель XS716T имеет 16 портов 10GbE для подключения медного кабеля, два из которых совмещены с модулями SFP+ для оптоволоконного подключения.

Наконец, модель XS708T имеет 8 портов 10GbE для подключения медного кабеля, два из которых совмещены с модулями SFP+ для оптоволоконного подключения.

Ранее были выпущены модели XS712T и XS728T с 12 и 28 портами.

Общими чертами коммутаторов ProSAFE являются поддержка VLAN на основе протокола, на основе MAC и 802.1x Guest VLAN; развитые средства управления QoS с учетом коммутации на уровнях L2, L3 и L4, и восемью очередями приоритетов, включая Q-in-Q. Предусмотрена статическая маршрутизация IPv4 и IPv6, механизмы защиты информации и снижения энергопотребления. Для управления коммутаторами используется web-интерфейс.

Цена ProSAFE XS708T — $1558, ProSAFE XS716T — $2623, ProSAFE XS748T — $8198.

Источник: Netgear

/04 мая, 18:52/ автор: Accent (iXBT.com) сайт: www.ixbt.com

Компания eASIC объявила о присоединении к альянсу OpenPOWER Foundation. Напомним, компания eASIC, не имеющая собственного производства, занимается разработкой и выпуском специализированных интегральных микросхем на платформе, которая включает универсальный базовый массив и настраиваемый слой, формируемый однократным маскированием. Соответствующие инструменты проектирования также доступны заказчикам. В eASIC рассчитывают, что участие в работе сообщества позволит выпускать заказные микросхемы-ускорители, в которых используется архитектура POWER.

В качестве основы для сопроцессоров и ускорителей eASIC планирует использовать Nextreme-3

Говоря более конкретно, eASIC планирует предложить платформу Nextreme-3 в качестве основы для сопроцессоров и ускорителей для поиска, сопоставления образцов, обработки сигналов и изображений, шифрования и других задач.

Источник: eASIC

/04 мая, 18:50/ автор: MPAK (iXBT.com) сайт: www.ixbt.com

Компания Asus продолжает лидировать на рынке игровых ноутбуков. Как сообщает источник, производитель занял первые места на таких рынках как США, Великобритания, Германия, Франция, Россия и Италия.

Только за февраль нынешнего года Asus поставила на рынок 90 000 аппаратов, тогда как Lenovo и MSI смогли реализовать лишь 40 000 и 20 000 игровых ноутбуков соответственно. Всего за нынешний год Asus реализует около 16-18 млн ноутбуков (всех классов). Напомним, игровые мобильные ПК являются одним из немногих сегментов ПК, который растёт, несмотря на падение всего рынка в целом.

Asus является лидером рынка игровых мобильных ПК

Возможности Asus по созданию игровых ноутбуков можно оценить благодаря нашему свежему обзору модели ROG GX700VO с уникальной для этого сегмента системой жидкостного охлаждения.

/04 мая, 18:32/ автор: MPAK (iXBT.com) сайт: www.ixbt.com

Ассортимент Garmin полон разнообразных трекеров активности и прочих подобных устройств, начиная от браслетов и заканчивая специализированными устройствами для той или иной категории спортсменов.

А вот новинка под названием vivomove для производителя — проба пера в этом сегменте. Она относится к той категории умных часов или трекеров активности, которые внешне выглядят как обычные классические наручные часы. То есть тут нет экрана, зато есть настоящий циферблат и настоящие стрелки.

Часы Garmin vivomove стоят от $150

А вот указание достижения цели реализовано достаточно оригинально. В левой части можно увидеть дугообразный крошечный ЖК-экран, который указывает на то, насколько процентов пользователь приблизился к установленной им же цели. В качестве цели, как и у остальных подобных решений, выступает определённое количество шагов в день. Справа можно увидеть подобный экран, заполняющийся красным цветом. Это показатель HP шкала для демонстрации того, насколько пользователь засиделся на месте.

Также vivomove умеют считать калории, пройденное расстояние и следить за сном. То есть это скорее продвинутый шагомер, чем полноценные умные часы. Конечно, защита от воды также присутствует (можно погружаться на глубину до 50 м). Габариты новинки составляют 42 х 12 мм при массе 48-67 г в зависимости от модификации. Благодаря элементу питания CR2025, часы способны проработать автономно до одного года.

Часы Garmin vivomove стоят от $150

В продаже будут присутствовать три модификации: Sport ($150) с резиновыми ремешками, Classic ($200) с кожаными и Premiun ($300) с кожаными ремешками и корпусом из нержавеющей стали (у остальных корпуса металлические без уточнения).

/04 мая, 18:02/ автор: MPAK (iXBT.com) сайт: www.ixbt.com

Компания Asus представила флагманский беспроводной адаптер PCE-AC88. Устройство предназначено для установки в слот PCI-E x1 и подхватывает идеи, заложенные в предшественника (PCE-AC68).

То есть тут такой же дизайн с красным радиатором, который закрывает всю поверхность платы, а также комплектный внешний блок для подключения антенн, выступающий в роли своеобразного удлинителя. Такое решение подойдёт в тех случаях, когда системный блок стоит близко к стене и нет возможности разместить там ещё и четыре торчащих антенны. К слову, у предшественника их было три.

Asus PCE-AC88 располагает удлинителем для антенн

Устройство работает в двух частотных диапазонах (2,4 ГГц и 5 ГГц), обеспечивая скорость 1000 Мбит/с и 2167 Мбит/с соответственно. Asus называет своё детище самым быстрым двухдиапазонным адаптером Wi-Fi 4x4 AC3100. Габариты новинки — 103,3 x 68,9 x 21 мм при массе 125 г. О стоимости данных пока нет, но предшественник этого адаптера продаётся на Amazon за $100.

/04 мая, 17:59/ автор: Accent (iXBT.com) сайт: www.ixbt.com

Компания SilverStone распространила информацию о новом корпусе серии Raven. Модель RVZ01-E (SST-RVZ01B-E), рассчитанная на системные платы типоразмера mini-DTX и mini-ITX, является развитием модели RVZ01. От своей предшественницы она отличается, в частности, тем, что в ней помещается блок питания типоразмера ATX (PS2), а не SFX. При этом габариты корпуса не изменились. Они равны 382 x 105 x 350 мм.

Рекомендованная производителем цена SilverStone Raven RVZ01-E равна $83,7

Длина блока питания может достигать 150 мм, но производитель рекомендует ограничиться блоками длиной 140 мм, отдавая предпочтение моделями с модульными кабельными системами и плоскими кабелями, чтобы кабели не мешали другим компонентам.

Рекомендованная производителем цена SilverStone Raven RVZ01-E равна $83,7

В корпусе можно разместить до четырех накопителей типоразмера 2,5 дюйма. Число слотов для карт расширения — два, максимальная длина карты — 330 мм. Как и в случае RVZ01, процессорный охладитель может быть высотой до 83 мм.

Рекомендованная производителем цена SilverStone Raven RVZ01-E равна $83,7

В корпусе установлено два 120-миллиметровых вентилятора: один — на верхней стенке, второй — на нижней. Они вращаются со скоростью 1500 об/мин, создавая шум 18 дБА. Рядом с нижним вентилятором есть место для еще одного такого же.

Рекомендованная производителем цена SilverStone Raven RVZ01-E равна $83,7

Корпус оснащен двумя разъемами USB 3.0, а также разъемами для наушников и микрофона. Масса корпуса — 3,7 кг. Рекомендованная производителем цена SilverStone Raven RVZ01-E равна $83,7.

Источник: SilverStone

/04 мая, 17:01/ автор: Accent (iXBT.com) сайт: www.ixbt.com

Яни, десятилетний мальчик из Финляндии, смог заработать $10 000, обнаружив уязвимость в программном обеспечении Instagram. Ошибка, выявленная ребенком, позволяла удалять комментарии других пользователей.

Instagram не первый раз выплачивает вознаграждение за обнаруженные уязвимости

После того, как юный хакер продемонстрировал свою находку на специально созданной сотрудниками Instagram тестовой учетной записи, компания внесла исправления, устраняющие уязвимость, а Яни получил вознаграждение.

Instagram постоянно выплачивает вознаграждения за обнаруженные уязвимости. Для этой цели даже создана специальная программа выплат Bug Bounty. Так, в прошлом году в общей сложности было выплачено $936 000. Выплаты достались 210 участникам, а общее число заявок оказалось примерно равно 13 000. Среди обнаруженных уязвимостей 102 считаются особенно опасными.

Источник: Iltalehti

/04 мая, 17:00/ автор: MPAK (iXBT.com) сайт: www.ixbt.com

Несколько дней назад мы писали о том, что Huawei готовится анонсировать смартфон G9, который по параметрам и дизайну уж больно напоминает модель P9 Lite, официальный анонс которой толком не состоялся, но она уже появилась в европейских интернет-магазинах.

Смартфон Huawei G9 Lite является переименованной моделью P9 Lite

Теперь всё стало на свои места. Во-первых, новая модель называется G9 Lite. Во-вторых, это и есть переименованная модель P9 Lite, ориентированная на международный рынок. Правда, некоторые источники утверждают обратное — новинка ориентирована на внутренний рынок. Как бы там ни было, стоит просто держать в голове тот факт, что это одна и та же модель.

Смартфон Huawei G9 Lite является переименованной моделью P9 Lite

Итак, вкратце напомним параметры устройства. G9 Lite получил экран Full HD диагональю 5,2 дюйма, SoC Kirin 650, 3 ГБ ОЗУ, 16 ГБ флэш-памяти, камеры разрешением 13 и 8 Мп и аккумулятор ёмкостью 3000 мА•ч. Габариты составляют 146,8 х 72,6 х 7,5 мм при массе 143 г. Дополнительно стоит выделить наличие сканера отпечатков пальцев, металлическую рамку и порт USB-C. У большинства источников смартфон фигурирует в трёх цветовых вариантах: серебристом, чёрном и золотом. Однако на некоторых фото с презентации видны также розовая и голубая модели. Стоимость аппарата составит около $250. Также упоминается модификация с SoC Snapdragon 617. Так что при покупке стоит обратить внимание на платформу, если это критично.

Смартфон Huawei G9 Lite является переименованной моделью P9 Lite

Кроме нового смартфона компания анонсировала и планшет MediaPad M2 7.0 стоимостью $245 и $275 в зависимости от версии. Это устройство оснащено семидюймовым экраном разрешением 1920 х 1200 пикселей и однокристальной системой Snapdragon 615. Оперативной памяти установлено 3 ГБ, а флэш-памяти — 16 либо 32 ГБ. Планшет получит камеры разрешением 13 и 5 Мп и аккумулятор ёмкостью 4360 мА•ч. Также говорится о сканере отпечатков пальцев на боковой грани.

/04 мая, 16:47/ автор: Accent (iXBT.com) сайт: www.ixbt.com

Как выяснилось, недавно появившаяся информация, что в этом году Samsung вложит средства в разработку и выпуск панелей OLED для телевизоров, не соответствует действительности.

Источник ссылается на президента компании Хён-сок Кима (Kim Hyun-seok), который опроверг наличие у Samsung планов выпуска телевизоров OLED в ближайшем будущем. По словам Кима, прогресс технологии в этой области пока недостаточен для ее практического применения, поскольку производство остается сложным и дорогим. Более того, Ким сказал, что «не назвал бы OLED нашим будущим направлением».

В Samsung делают ставку на технологию квантовых точек, развитие которой идет быстрее

В Samsung делают ставку на технологию квантовых точек, развитие которой идет быстрее. По данным Samsung, телевизоры с экранами на квантовых точках уже превосходят телевизоры с экранами OLED по яркости и качеству изображения. В Южной Корее продажи новых телевизоров Samsung с экранами на квантовых точках на 40% превышают продажи прошлогодних моделей. На ближайшие месяцы запланирован выход этой продукции на рынки Бразилии и стран Европы. Благодаря ей, в Samsung рассчитывают одиннадцатый раз подряд удержать звание крупнейшего производителя телевизоров в мире по итогам года.

Источник: Korea Herald

/04 мая, 16:47/ автор: Accent (iXBT.com) сайт: www.ixbt.com

Как выяснилось, недавно появившаяся информация, что в этом году Samsung вложит средства в разработку и выпуск панелей OLED для телевизоров, не соответствует действительности.

Источник ссылается на президента компании Хён-сок Кима (Kim Hyun-seok), который опроверг сведения о наличии у Samsung планов выпуска телевизоров OLED в ближайшем будущем. По словам Кима, прогресс технологии в этой области пока недостаточен для ее практического применения, поскольку производство остается сложным и дорогим. Более того, Ким сказал, что «не назвал бы OLED нашим будущим направлением».

В Samsung делают ставку на технологию квантовых точек, развитие которой идет быстрее

В Samsung делают ставку на технологию квантовых точек, развитие которой идет быстрее. По данным Samsung, телевизоры с экранами на квантовых точках уже превосходят телевизоры с экранами OLED по яркости и качеству изображения. В Южной Корее продажи новых телевизоров Samsung с экранами на квантовых точках на 40% превышают продажи прошлогодних моделей. На ближайшие месяцы запланирован выход этой продукции на рынки Бразилии и стран Европы. Благодаря ей, в Samsung рассчитывают одиннадцатый раз подряд удержать звание крупнейшего производителя телевизоров в мире по итогам года.

Источник: Korea Herald

/04 мая, 16:27/ автор: MPAK (iXBT.com) сайт: www.ixbt.com

О смартфоне Xiaomi Max (или Mi Max) последнее время мы писали немало. К примеру, пару дней назад мы публиковали новое изображение. Правда, внешний вид с каждой новой утечкой меняется, так что пока сложно было сказать, как же будет выглядеть устройство.

Теперь же в Сети появилось, видимо, официальное рекламное видео устройства, выполненное в лучших традициях китайской рекламы. Ниже приведены фото и анимация, взятые из данного видео, так как получить его с сайта-источника крайне проблематично.

Смартфон Xiaomi Mi Max не получит клавиши под экраном

Смартфон Xiaomi Mi Max не получит клавиши под экраном

Смартфон Xiaomi Mi Max не получит клавиши под экраном

Судя по фото, изображение из последней нашей новости было достоверным. Смартфон действительно не похож на модель Mi 5, так как лишён физической клавиши. Скорее, он является наследником моделей Mi Note.

/04 мая, 16:19/ автор: Accent (iXBT.com) сайт: www.ixbt.com

Компания Hewlett Packard Enterprise (HPE) объявила о завершении сделки с дочерним предприятием холдинга Tsinghua Holdings, результатом которой является создание предприятия New H3C, названного в соответствующем пресс-релизе «ведущим китайским поставщиком технологической инфраструктуры». Штаб-квартиры нового предприятия расположены в Ханчжоу и Пекине.

Компании HPE принадлежит 49% акций новой компании

По условиям соглашения, компания Unisplendour Corporation, входящая в Tsinghua Holdings, используя собственное дочернее предприятие, приобрела 51% акций компании New H3C, образованной слиянием H3C Technologies и китайского отделения HPE, занятого выпуском серверов и хранилищ, а также предоставлением сопутствующих услуг. Стоимость приобретения примерно равна 2,3 млрд долларов, часть из которых была выплачена деньгами. Компания HPE планирует передать значительную часть этой суммы акционерам путем выкупа акций.

Компании HPE принадлежит 49% акций новой компании. Председателем правления New H3C является Арун Чандра (Arun Chandra), старший вице-президент и операционный директор HPE Enterprise Group. Компания New H3C предлагает широкий выбор серверных и смежных решений, включая полный ассортимент серверов под маркой HPE.

Источник: HPE

/04 мая, 15:57/ автор: MPAK (iXBT.com) сайт: www.ixbt.com

Бренд iPhone уже давно стал именем нарицательным и если бы Apple решила выпустить смартфон под иным названием, многие бы всё равно называли его «айфоном».

Между тем, отныне купертинский гигант не является единственным владельцем данного бренда, если говорить о Китае. Как сообщает источник, Верховный народный суд КНР отклонил апелляцию Apple, которая требовала запретить компании Xintong Tiandi Technology выпускать продукцию под торговой маркой iPhone.

Бренд iPhone в Китае может использовать и компания Xintong Tiandi Technology

Данная китайская компания производит различные кожаные изделия, включая сумки, кошельки и чехлы для мобильных телефонов, используя для своей продукции бренд iPhone (в данном случае он пишется IPHONE). Оспариваемая торговая марка была зарегистрирована Xintong Tiandi Technology в Китае ещё в 2007 году, тогда как Apple зарегистрировала свою версию бренда лишь в 2012 году. Но это не помешало компании из США попытаться запретить китайскому производителю использовать «свою» торговую марку.

Суд отметил, что, во-первых, не различает регистр написания букв в названии бренда, а во-вторых, Apple не смогла доказать, что торговая марка iPhone уже была хорошо известна в Китае, как принадлежащая Apple, до того, как её зарегистрировала Xintong Tiandi Technology.

/04 мая, 15:38/ автор: Accent (iXBT.com) сайт: www.ixbt.com

По данным источника, компания Apple наняла на работу профессора робототехники Йоки Мацуока (Yoky Matsuoka). В свое время Мацуока была в числе основателей секретного исследовательского подразделения Google X, которое занимается передовыми разработками, включая умные очки Google Glass и самоуправляемый автомобиль. Кроме того, в послужном списке Мацуока — должность технологического директора в компании Nest. Следующим местом работы должен был стать пост вице-президента в компании Twitter, но планы пришлось изменить из-за смертельно опасной болезни, диагностированной несколько месяцев назад. По словам Мацуока, лечение было успешным.

Вероятнее всего, в Apple Мацуока будет заниматься проектами в области здравоохранения, подчиняясь непосредственно операционному директору Джеффу Уильямсу (Jeff Williams). Впрочем, точной информации на этот счет пока нет.

Источники: Fortune, Yoky Matsuoka

/04 мая, 13:50/ автор: Accent (iXBT.com) сайт: www.ixbt.com

IBM Research, исследовательское подразделение IBM, объявило о доступности ресурсов квантового компьютера в облаке IBM Cloud. Для доступа можно использовать настольный ПК или мобильное устройство. Отметим, что это первый случай широкого доступа к квантовым вычислениям.

Пользователи могут экспериментировать с квантовыми вычислениями

В компьютере используется квантовый процессор собственной разработки IBM. По мнению IBM, квантовые вычисления, экспериментировать с которыми теперь имеют возможность пользователи IBM Cloud, это будущее вычислительной техники. Считается, что они позволят решить некоторые проблемы, решение которых принципиально остается недоступным для сегодняшних суперкомпьютеров, построенных на традиционной основе.

Пользователи могут экспериментировать с квантовыми вычислениями

Облачная вычислительная платформа называется IBM Quantum Experience. Она включает руководства и примеры моделирования с помощью квантового процессора. Сам процессор состоит из пяти сверхпроводящих кубитов. По словам разработчиков, в нем есть потенциал масштабирования для построения более сложных систем вплоть до универсального компьютера. Такой компьютер можно будет запрограммировать для решения практических задач из области науки и бизнеса, и получить результат намного быстрее, чем при использовании традиционного компьютера.

Пользователи могут экспериментировать с квантовыми вычислениями

По оценке IBM, процессор из 50-100 кубитов будет построен в ближайшем десятилетии. Отметим, что работу квантового компьютера с 50 кубитами уже невозможно эмулировать ни на одном из суперкомпьютеров из рейтинга TOP500.

Источник: IBM

/04 мая, 13:29/ автор: Jin (iXBT.com) сайт: www.ixbt.com

Компания Transcend сообщила о поступлении в продажу новой линейки карт памяти microSD, предназначенных для промышленных решений. В картах памяти используется технология SuperMLC, которая дебютировала в промышленных SSD Transcend.

Данные карты памяти соответствуют спецификациям Ultra-High Speed Class 1 (UHS-I), скорость чтения достигает 95 МБ/с. Новые карты памяти рассчитаны на нормальную работы в температурном диапазоне от -40°C до 85°C. Производитель заявляет, что они идеально подойдут для систем наблюдения, медицинских устройств, различных терминалов. Они гарантированно выдерживают 30 тыс. циклов стирания/записи.

Transcend выпустила линейку карт памяти SuperMLC microSD для промышленного использования

Линейка Transcend SuperMLC microSD представлена моделями емкостью 4, 8, 16 и 32 ГБ.

/04 мая, 12:03/ автор: MPAK (iXBT.com) сайт: www.ixbt.com

Прошёл ещё месяц и Google опубликовала новую статистику касательно распространения той или иной версии ОС Android.

Итак, Android Marshmallow продолжает захватывать рынок достаточно ощутимыми темпами. Если в прошлом месяце доля этой ОС была 4,6%, то теперь она составляет 7,5%. Можно ожидать, что в следующем месяце она приблизится к 10%.

Android 6.0 занимает 7,5% рынка

Доля Lollipop продолжает медленно снижаться, но это всё равно самая распространённая версия Android. На данный момент её доля равна 35,6%. Android KitKat занимает второе место с долей 32,5%, то есть тут тоже зафиксировано падение. Ровно та же ситуация у семейства ОС Android Jelly Bean — снижение с 21,3% до 20,1%. На долю Ice Cream Sandwich, Gingerbread и Froyo приходится 2%, 2,2% и 0,1% соответственно. Таким образом выходит, что доля каждой версии ОС Android, кроме самой свежей, за месяц несколько снизилась. Froyo при этом можно в расчёт не брать.

/04 мая, 11:17/ автор: MPAK (iXBT.com) сайт: www.ixbt.com

Вчера Microsoft объявила о приобретении итальянской компании Solair. Solair была основана в 2011 году и занимается предоставлением «инновационных» услуг, связанных с сегментом Интернета вещей, затрагивая множество различных отраслей промышленности.

Solair работает в сфере производства, розничной торговли, пищевой промышленности, транспортной логистики и так далее. Microsoft приводит в пример сотрудничество Solair с Rancilio Group, заключающееся в том, что теперь все кофемашины последней компании можно контролировать удалённо.

Microsoft купила Solair

После приобретения программным гигантом, технологии и ПО Solair будут интегрированы в платформу Azure IoT Suite, чтобы расширить возможности Microsoft. О сумме сделки не сообщается.

/04 мая, 10:59/ автор: Accent (iXBT.com) сайт: www.ixbt.com

Не секрет, что сотовая связь в некоторых помещениях работает хуже, чем на открытом воздухе. Особенно это заметно, например, в лифтах. Компания Zinwave, специализирующаяся на решениях для широкополосного подключения внутри зданий, представила разработку, которая позволяет улучшить связь в лифтах.

Новинка представляет собой малогабаритный усилитель, получающий входной сигнал по волоконному подключению

Новинка представляет собой малогабаритный усилитель, получающий входной сигнал по волоконному подключению. Усилитель обеспечивает неизменные условия приема и передачи сигнала вне зависимости от положения кабины лифта и скорости ее движения. По словам Zinwave, ранее для в таких случаях использовалась распределенная антенная система, включающая антенны в основании и верхушке шахты лифта. Однако движение кабин затрудняет сохранение высокого качества связи, вызывая дискомфорт у пользователей. Отметим, что есть и более важная причина обеспечить стабильное подключение в лифте — необходимость иметь связь в экстренных ситуациях.

Разработка будет показана на выставке World Elevator and Escalator Expo, которая пройдет в китайском городе Гуанчжоу с 10 по 13 мая.

Источник: Zinwave

/04 мая, 10:41/ автор: Accent (iXBT.com) сайт: www.ixbt.com

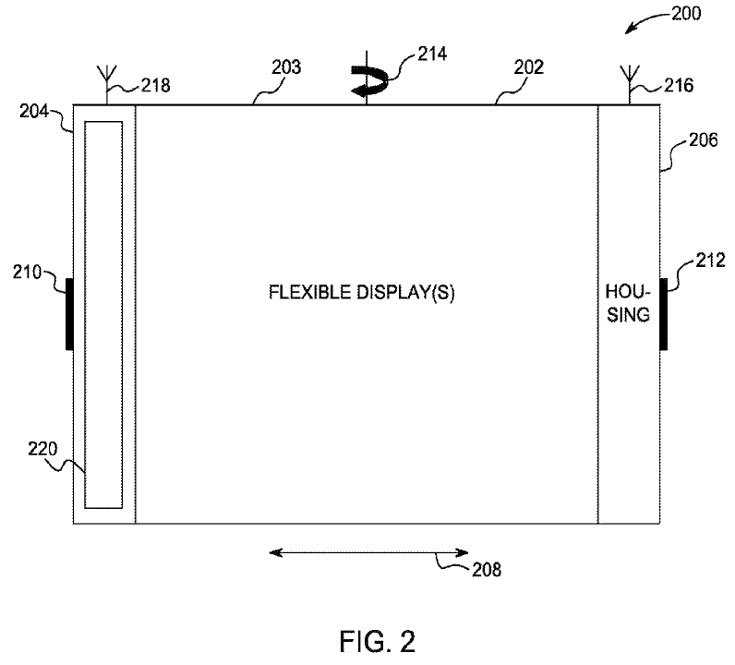
Вчера компания Apple получила патент не только на «невидимый» разъем. Еще одно интересное изобретение, права на которое закреплены американским патентным ведомством за Apple, описано в патенте №9332113. Заголовок патента сформулирован следующим образом: «Мобильное электронное устройство с адаптивно реагирующим гибким дисплеем».

Описанное в патенте электронное устройство реагирует деформацию гибкого экрана «и другие жесты»

Описанное в патенте электронное устройство реагирует на деформацию гибкого экрана «и другие жесты». В частности, деформация используется для загрузки очередной порции информации с сервера по беспроводной сети.

Источник: USPTO

/04 мая, 09:50/ автор: Accent (iXBT.com) сайт: www.ixbt.com

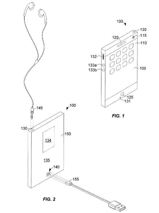
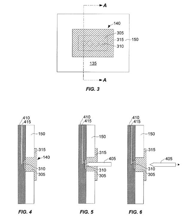
Вчера американское патентное бюро выдало компании Apple патент №9331422. Патент называется «Электронное устройство со скрытым разъемом». В нем описаны разъемы, прикрытые самовосстанавливающимся эластомером.

Секрет разъема — в крышке из самовосстанавливающегося эластомера

По замыслу изобретателей, эластомер скрывает разъем от пользователя и защищает разъем и внутренности устройства от воздействия внешней среды.

Секрет разъема — в крышке из самовосстанавливающегося эластомера

Штырьки внешнего разъема могут временно пронзать эластомер, чтобы обеспечить контакт с разъемом устройства. После того, как внешний разъем извлечен, форма и целостность покрытия восстанавливаются за счет свойств эластомера.

Источник: USPTO

/04 мая, 09:30/ автор: Accent (iXBT.com) сайт: www.ixbt.com

Компания Semtech представила изделие под обозначением EV8600. По словам производителя, эта платформа для интернета вещей включает первый в отрасли однокристальный модем, поддерживающий проводное подключение с использованием технологии Power Line Communications (PLC) и беспроводное с использованием технологи LoRa.

Semtech EV8600 работает в проводных и беспроводных сетях

Поддержка PLC и LoRa позволяет обеспечить постоянное подключение к сети, что особенно важно в сетях средств автоматизации и умных счетчиков, которые названы в числе областей применения EV8600.

К достоинствам EV8600 производитель относит высокую степень интеграции: помимо двух модемов в состав однокристальной системы входит защищенная флэш-память, процессор приложений и другие компоненты, включая датчик температуры и индикатор низкого уровня напряжения питания.

Источник: Semtech

/04 мая, 09:06/ автор: Jin (iXBT.com) сайт: www.ixbt.com

Известное издание Time опубликовало The 50 Most Influential Gadgets of All Time — рейтинг, в который попали 50 знаковых устройств, оказавших самое большое влияние на общественность и развитие современной индустрии.

Возглавил перечень смартфон iPhone, первая версия которого была выпущена в 2007. Как отмечает Time, на тот момент смартфоны формально присутствовали на рынке уже несколько лет, однако чего-то столь же доступного и красивого до появления iPhone не было. Именно Apple, считают редакторы издания, первой начала продвигать идею больших сенсорных дисплеев, кнопки на которых появляются в нужное время. После этого с рынка начали исчезать смартфоны с физическими кнопками и выдвижными клавиатурами.

Смартфон iPhone возглавил перечень самых важных гаджетов в истории, по версии журнала Time

Второе место досталось цветному телевизору Sony Trinitron, выпущенному в 1968 году, а компьютер Apple Macintosh образца 1984 года занял третью строчку. В Top 50 также нашлись места для iPod, iPad и iBook, которые заняли девятое, 25 и 38 места соответственно.

Кроме того, в список включили шлем виртуальной реальности Oculus Rift, который занял 39 место, а замыкает перечень гарнитура дополненной реальности Google Glass.

/04 мая, 08:58/ автор: Accent (iXBT.com) сайт: www.ixbt.com

Показанное на иллюстрациях устройство представляет собой карманную игровую консоль PocketC.H.I.P. Одна из ее особенностей — совместимость с программной платформой PICO-8, включающей, помимо сотен игр, встроенные инструменты для их модификации. В любой момент можно прервать игру и начать изменять персонажей, уровни, звуковые эффекты, звуковое сопровождение и исходный текст игры. После модификации игру можно снова запустить. В PICO-8 используется язык программирования Lua.

Игровая консоль PocketC.H.I.P.

Как полагают в разработавшей PocketC.H.I.P. компании Next Thing, консоль может стать первым шагом на пути освоения программирования.

Игровая консоль PocketC.H.I.P.

Основой консоли служит процессор ARMv7, работающий на частоте 1 ГГц, с GPU Mali 400. Конфигурация устройства включает 512 МБ оперативной памяти, средства беспроводного подключения Wi-Fi и Bluetooth, дисплей разрешением 420 х 272 пикселей (PICO-8 использует экран разрешением 128 x 128 пикселей, способный отображать 16 цветов и спрайты размерами 8 х 8 пикселей). Аккумулятор обеспечивает работу PocketC.H.I.P. в течение пяти часов.

Игровая консоль PocketC.H.I.P.

Благодаря партнерству Next Thing с компанией Lexaloffle Games, разработавшей PICO-8, эта программная платформа предложена бесплатно вместе с PocketC.H.I.P. Обычная лицензия на PICO-8 стоит $15.

Прием предварительных заказов на PocketC.H.I.P. уже начался по цене $49. Поставки должны начаться в июне.

Источник: Next Thing

/04 мая, 08:39/ автор: Jin (iXBT.com) сайт: www.ixbt.com

Напомним, 10 мая компания Xiaomi проведет пресс-конференцию, на которой будут представлены новый планшетофон Xiaomi Mi Max, оболочка MIUI 8, а также умный браслет Xiaomi Mi Band 2.

Хаунг Ванг (Huang Wang), исполнительный директор компании Huami, которая получила контракты на производство Xiaomi Mi Band 2 и умных часов Xiaomi, сообщил, что при начале массового производства Xiaomi Mi Band 2 они столкнулись с проблемами. Это означает, что компания не сможет подготовить достаточное количество браслетов для обеспечения стабильного запуска устройства.

При производстве браслета Xiaomi Mi Band 2 возникли проблемы, запуск откладывается

Чтобы избежать ситуации с отсутствием товаров в магазинах, компания Xiaomi приняла решение отложить запуск Xiaomi Mi Band 2. По предварительным данным, устройство задержится примерно на месяц, то есть до середины июня.

/04 мая, 08:30/ автор: Accent (iXBT.com) сайт: www.ixbt.com

Специализирующаяся на выпуске суперкомпьютеров компания Cray опубликовала отчет за первый квартал 2016 года.

За отчетный период Cray удалось получить доход в размере 105,5 млн долларов, что больше показателя за аналогичный период 2015 года, равного 79,6 млн долларов.

По состоянию на конец квартала в распоряжении Cray было 320 млн долларов

Впрочем, даже увеличение дохода не позволило компании покончить с убытками, хотя ситуация и улучшилась. Если год назад квартал завершился чистыми потерями в размере 9,4 млн долларов, то в текущем году чистый убыток за первый квартал составил 5,0 млн долларов. Показатель валовой прибыли тоже улучшился — с 30% до 38%.

Операционные расходы в первом квартале 2016 года составили 49,2 млн долларов. Год назад этот показатель был равен 40,9 млн долларов.

По состоянию на конец квартала в распоряжении Cray было 320 млн долларов, год назад — 148 млн долларов.

Источник: Cray

/04 мая, 08:29/ автор: Jin (iXBT.com) сайт: www.ixbt.com

В сентябре прошлого года компания Xiaomi представила портативную акустическую систему Mi Bluetooth Speaker, выполненную в форме прямоугольного параллелепипеда и оцененную всего в 30 долларов.

Сегодня ожидается анонс новой портативной колонки, для которой на этот раз была выбрана форма цилиндра.

Появились фотографии новой портативной акустической системы Xiaomi

Вице-президент компании Лиу Де (Liu De) опубликовал несколько фотографий устройства, а также добавил, что оно понравится любителям качественного звука.

Появились фотографии новой портативной акустической системы Xiaomi

Цена колонки пока что не сообщается, однако вряд ли она будет оценена дороже, чем предшественник.

/04 мая, 08:00/ автор: Jin (iXBT.com) сайт: www.ixbt.com

Мы неоднократно слышали о том, что в смартфоне iPhone 7 не будет традиционного разъема 3,5 мм для наушников, для подключения которых будет использоваться фирменный разъем Lightning. На самом деле, источники так часто говорили об этом, что практически никто не сомневается в достоверности этой информации.

Свежие слухи указывают на наличие порта 3,5 мм у смартфона iPhone 7

Однако появившиеся в китайской социальной сети Weibo фотографии демонстрируют наличие разъема 3,5 мм на плате, якобы принадлежащей iPhone 7. Вопрос в том, можно ли верить данному источнику, остается открытым.

Свежие слухи указывают на наличие порта 3,5 мм у смартфона iPhone 7

Напомним, ранее аналитик компании Barclays Марк Московитц (Mark Moskowitz) заявил, что из-за радикальных изменений в модели, которая выйдет в следующем году, ее назовут не iPhone 7s, а iPhone 8. Возможно, отказ от разъема 3,5 мм произойдет только в следующем году.

iPhone 7 должны представить в сентябре.

/04 мая, 08:00/ автор: Accent (iXBT.com) сайт: www.ixbt.com

Ориентируясь на системы с высокой плотностью компоновки, компания Virtium представила модули памяти DDR4-2400 объемом 32 ГБ, выполненные в типоразмерах ULP RDIMM и Mini-RDIMM. По словам производителя, это максимальный объем для таких модулей.

Высота модулей памяти Virtium ULP равна 17,78 мм

Высота модулей памяти Virtium ULP равна 17,78 мм, тогда как высота стандартных низкопрофильных модулей составляет 18,75 мм. Что касается размеров модулей Mini-RDIMM, представление о них дает иллюстрация.

Высота модулей памяти Virtium ULP равна 17,78 мм

Модули рассчитаны на напряжение питания 1,2 В и эксплуатацию при температуре от -40Cº до 85Cº. В виде опции предложено нанесение конформного покрытия, обеспечивающего дополнительную защиту от внешних воздействий. На модули предоставляется пятилетняя гарантия. По словам производителя, новые модули могут найти применение в blade-серверах, серверах типоразмера 1U, одноплатных компьютерах, мезонинных платах и других случаях с жесткими ограничениями по габаритам. Продажи модулей уже начинаются.

Источник: Virtium

/04 мая, 07:50/ автор: MPAK (iXBT.com) сайт: www.ixbt.com

Компания Jolla похвасталась тем, что получила 12 млн долларов финансирования для дальнейшей работы над своей ОС Sailfish. Компания утверждает, что этой суммы достаточно для выполнения плана на текущий год. Имена инвесторов не называются.

Jolla также говорит о привлечении новых разработчиков для работы над проектами, связанными с Sailfish OS. Кроме того, компания обещает продолжить возвращать деньги тем, кто оформлял заказы на планшеты Jolla Tablet, но не получил их.

Jolla обеспечена деньгами для работы до конца года

Смартфон Intex Aqua Fish, на который компания возлагает определённые надежды, должен выйти на рынок Индии в ближайшие месяцы. Подтверждена и информация касательно того, что необычный смартфон Turing Phone действительно будет работать под управлением Sailfish OS, а не Android. Правда, последние данные говорили о начале продаж в апреле, но уже май, а аппарата что-то на прилавках не видно. И это при том, что изначально планировалось начать продажи ещё в декабре. Даже Jolla не сообщает, когда его можно будет приобрести.

/04 мая, 07:38/ автор: Jin (iXBT.com) сайт: www.ixbt.com

Компания Samsung опубликовала целую серию новых рекламных роликов, которые в ненавязчивой форме рекламируют основные особенности флагманского смартфона Samsung Galaxy S7.

Samsung красиво прорекламировала особенности смартфона Samsung Galaxy S7

В каждом ролике рассказывается небольшая, но интересная история, которая заканчивается демонстрацией таких особенностей смартфона, как водонепроницаемость, поддержка системы Samsung Pay и прекрасная светочувствительность камеры.

Напомним, Samsung Galaxy S7 смог улучшить результат предшественника с результатом в 9,5 млн смартфонов за первые три недели.

/04 мая, 07:20/ автор: Jin (iXBT.com) сайт: www.ixbt.com

В последнее время участились слухи о том, что через несколько месяцев известные китайские производители начнут выпуск смартфоном с изогнутыми дисплеями, которые будут поставлять LG Display и Samsung Display. Анонимный информатор, хорошо знакомый с ситуацией, утверждает, что компании Huawei и Xiaomi выпустят такие смартфоны в сентябре этого года.

Первый смартфон Xiaomi с изогнутым дисплеем будет называться Xiaomi Mi Edge или Xiaomi Mi Note Edge. Информатор утверждает, что компания отдала предпочтение панели производства LG Display. На роль однокристальной системы претендует Snapdragon 820, объем оперативной памяти должен составить 4 ГБ, разрешение камеры составит 16 Мп. Цена устройства ожидается на уровне $460.

Смартфоны Xiaomi Mi Edge и Huawei Mate Edge с изогнутыми дисплеями ожидаются в сентябре

С другой стороны, ожидается, что Huawei назовет свой смартфон Huawei Mate Edge, он получит дисплей производства Samsung Display, только пока непонятно, будет ли он изогнут с одной или с двух сторон. Что касается характеристик, то Huawei Mate Edge может получить SoC Kirin 950, 4 ГБ оперативной памяти и цену около $620.

/04 мая, 07:15/ автор: MPAK (iXBT.com) сайт: www.ixbt.com

Ассортимент компании Turtle Beach пополнился игровой гарнитурой Elite Pro Tournament Gaming. Это далеко не дешёвое устройство стоимостью $200.

Производитель упоминает огромное количество фирменных технологий в пресс-релизе наушников Turtle Beach Elite Pro Tournament Gaming

Производитель утверждает, что его новинка — первая игровая гарнитура, разработанная с нуля специально для киберспортсменов. В основе устройства лежат 50-миллиметровые излучатели Nanoclear. Также выделяется микрофон с технологией TruSpeak, которая должна обеспечить «кристально чистую передачу речи». Есть ещё «революционная» система регулировки оголовья ComforTec Fit System и амбушюры AeroFit Ear Cushions с «новаторскими» материалами. По количеству громких слов и названий собственных технологий гарнитура точно стоит на одном из первых мест в сегменте (перечислены не все). Но всё это лишь слова и термины и по ним нельзя понять, стоит ли гарнитура своих денег.

Что касается параметров, заявлен частотный диапазон 12-22 000 Гц, а масса гарнитуры составляет 390 г. Длина кабеля — 1,3 м.

/04 мая, 07:09/ автор: Jin (iXBT.com) сайт: www.ixbt.com

Компания HTC сообщила о том, что она продала принадлежащую ей землю в северной части Тайваня на сумму около 90 млн долларов, которые должны позволить получить чистую прибыль 30 млн долларов.

Если деньги поступят во втором и третьем квартале этого года, то прибыль на акцию составит около 4 американских центов. Однако наблюдатели пока что не уверены, что компания сможет выйти в «плюс» во втором квартале, даже если перевод поступит в самое ближайшее время.

HTC продает землю, чтобы улучшить финансовое положение

Напомним, весной компания выпустила на рынок флагманский смартфон HTC 10 и гарнитуру дополненной реальности HTC Vive, однако источники считают, что этого может быть недостаточно, чтобы подстегнуть продажи компании в краткосрочной перспективе.

По результатам работы в первом квартале доход HTC снизился на 64%.

/04 мая, 07:00/ автор: MPAK (iXBT.com) сайт: www.ixbt.com

В прошлом месяце мы сообщали, что Apple столкнулась с сопротивлением правительства Индии касательно желания начать продавать в этой стране восстановленные смартфоны. Тогда окончательного решения принято не было.

Сейчас источник говорит о том, что купертинский гигант получил окончательный отказ. Никаких подробностей нет, да и они не нужны. Для Apple, особенно на фоне последнего финансового отчёта и прогнозов аналитиков на итоги текущего квартала, такое решение является достаточно весомым, так как иными путями завоевать рынок Индии у компании вряд ли получится из-за высокой стоимости своей продукции.

Apple не будет продавать в Индии подержанные телефоны

Также напомним, что Apple может получить разрешение на открытие фирменных магазинов в этой стране, но сомнительно, что это особо скажется на продажах.

/04 мая, 06:50/ автор: Jin (iXBT.com) сайт: www.ixbt.com

Во вчерашней заметке о характеристиках смартфона UMi Super было отмечено, что он будет поддерживать технологию быстрой зарядки. Чуть позже производитель сообщил, что емкость аккумулятора составит 4000 мА•ч.

По словам представителей UMI, пятиминутной зарядки хватит для двух часов разговоров по телефону, тогда как для того, чтобы пользоваться смартфоном целый день, достаточно будет зарядить его в течение получаса.

Смартфон UMi Super получил аккумулятор емкостью 4000 мА•ч

Напомним, UMi Super также должен получить SoC Qualcomm Snapdragon 820, дисплей Super AMOLED без рамок, 6 ГБ оперативной памяти, сдвоенную камеру и разъем USB-C при цене около 300 долларов.

Поиск по сайту
Обратная связь
Разработчикам
Реклама на сайте

Политика конфиденциальности
Пользовательское соглашение

 

Filebox.ru каталог архив программного обеспечения для Windows, работает с 2003 года.
Copyright © 2003-2026 Filebox.ru All Rights Reserved.

Яндекс.Метрика