Лента технологий за 17/05/2016, Вторник - Filebox.ru  Программы | Новости | ТОП-100 программ | Статьи

Лента технологий за 17/05/2016, Вторник - Filebox.ru

Лента технологий | Подборка за 17 мая 2016 г. 00:00:00

/17 мая, 21:44/ автор: Accent (iXBT.com) сайт: www.ixbt.com

Компания nonda проводит сбор средств на выпуск кабеля ZUS, который позиционируется как вечный кабель, который невозможно порвать. Прочность ZUS обеспечивается армированием волокнами кевлара. Отметим, что кевларовые волокна давно используются в кабелях, но nonda — первые, кто догадался заинтересовать этим обывателей. Обыватели охотно финансируют выпуск сверхпрочного кабеля USB — намереваясь собрать не меньше $10 000, авторы проекта уже собрали почти $130 000.

На ZUS предоставляется пожизненная гарантия

Как утверждают создатели кабеля ZUS, тестирование показало, что он превосходит по износостойкости другие кабели: он выдержал 15 000 сгибаний, тогда как кабели Belkin и Anker — 10 000. Структура кабеля показана на иллюстрации.

На ZUS предоставляется пожизненная гарантия

Длина кабеля — 1,2 м. Доступны варианты с разъемами micro-USB, Lightning и USB-C — USB-A. Одной из особенностей ZUS является угловой разъем, предпочтительный с точки зрения экономии места.

На ZUS предоставляется пожизненная гарантия

На ZUS предоставляется пожизненная гарантия. Создатели кабеля обязуются заменить его бесплатно в случае повреждения в результате износа при нормальной эксплуатации.

Первые участники сбора средств могли получить кабель за $15. Продавать в розницу его предполагается за $20. Поставки должны начаться 2 июля.

Источник: nonda

/17 мая, 21:30/ автор: Dexter (iXBT.com) сайт: www.ixbt.com

Как пишет источник, компания NComputing подготовила к выпуску новый ученический компьютер — хромбук CX110, особенностью которого является «встроенная» поддержка запуска Windows-приложений. Для этого используется фирменная среда виртуализации VSpace с бесплатной годовой подпиской.

NComputing CX110

Если программная составляющая CX110 имеет хоть какие-то отличия от большинства недорогих моделей, представленных на рынке, то по аппаратной части все более чем стандартно. Устройство оснащено экраном диагональю 11,6 дюйма разрешением 1366 х 768 точек, процессором на архитектуре ARM с частотой до 1,8 ГГц, 4 ГБ оперативной и 16 ГБ встроенной флэш-памяти.

NComputing CX110

Также в конфигурации хромбука web-камера, два порта USB 2.0, слот для карт памяти microSD, видеовыход HDMI. Использование аккумуляторной батареи емкостью 42 Вт·ч обеспечивает лэптоп автономностью на уровне 8,5 часов.

NComputing CX110

NComputing CX110 оценен в $230. Разработчики также предложат модель CX100 с урезанным до 2 ГБ объемом оперативной памяти, но ее стоимость не сообщается.

Источник: AndroidHeadlines

/17 мая, 21:18/ автор: Accent (iXBT.com) сайт: www.ixbt.com

Со ссылкой на представителей отрасли источник утверждает, что Intel будет поставлять до 50% микросхем модемов для новых смартфонов Apple iPhone, которые будут представлены в сентябре.

Модель iPhone 7 Plus отличается от iPhone 7, в частности, сдвоенной основной камерой

Источник уточняет, что Intel будет упаковывать чипы в корпуса, но изготовлением чипов займется Taiwan Semiconductor Manufacturing Company (TSMC), а тестированием — King Yuan Electronics (KYEC). Впрочем, представители TSMC и KYEC отказались комментировать эту информацию.

Сейчас модемы LTE для смартфонов iPhone поставляет Qualcomm. Информация, что Intel перехватит у Qualcomm заказ на микросхемы модемов для Apple iPhone 7, появлялась и ранее.

Источник: DigiTimes

/17 мая, 20:57/ автор: Accent (iXBT.com) сайт: www.ixbt.com

Компания G.Skill, недавно представившая пять новых вариантов цветового оформления модулей памяти Trident Z DDR4, добавила в эту линейку наборы объемом 16, 32 и 64 ГБ.

Продажи новых наборов начнутся в июне

Наборы скомплектованы из модулей объемом 8 и 16 ГБ, работающих на эффективных частотах 3200, 3466 и 4266 МГц с задержками 13-13-13-13, 14-14-14-34 и 19-23-23-43 соответственно. Во всех случаях напряжение питания составляет 1,35 В. Модули поддерживают XMP 2.0.

По словам производителя, новые наборы модулей памяти Trident Z DDR4 ориентированы на компьютерных энтузиастов и любителей игр. Продажи новых наборов начнутся в июне.

Источник: G.Skill

/17 мая, 20:50/ автор: Dexter (iXBT.com) сайт: www.ixbt.com

Линейка мониторов Philips компании MMD пополнилась моделью 246E7QDSB, которая преподносится как универсальная: подойдет для использования и дома, и в офисе. Новинка поступит в продажу в текущем месяце по цене примерно $165.

Philips 246E7QDSB

В устройстве используется ЖК-панель PLS диагональю 23,6 дюйма разрешением Full HD. Заявленные значения яркости и контрастности составляют 250 кд/кв.м и 1000:1, время реакции пикселя — 5 мс.

Philips 246E7QDSB


Philips 246E7QDSB

Монитор поддерживает ряд фирменных технологий: Flicker Prevention, призванную уменьшать нагрузку на глаза, а также SmartContrast, название которой говорит само за себя. Особенностью Philips 246E7QDSB производитель считает поддержку подключения мобильных устройств по MHL через порт HDMI. Из видеовходов, помимо него, также присутствуют D-Sub и DVI. Что касается подставки, то она очень простая — позволяет лишь менять угол наклона в диапазоне от -5 до 20°.

Источник: Philips

/17 мая, 20:46/ автор: MPAK (iXBT.com) сайт: www.ixbt.com

Завтра начнётся мероприятие Google I/O 2016, во время которого нам расскажут о различных новинках поискового гиганта, направлениях работы на ближайшее будущее и так далее.

Судя по всему, в этом году участником мероприятия будет и Xiaomi. Об этом рассказал вице-президент китайского гиганта Хьюго Барра (Hugo Barra).

Xiaomi разработала для Google какое-то устройство

Он дополнил свой текст рекламным изображением, которое якобы должно намекнуть, каким же именно образом Xiaomi будет фигурировать в конференции Google. Судя по изображению, Xiaomi могла разработать для поискового гиганта, к примеру, новую телевизионную приставку Google Nexus Player, так как существующее устройство анонсировали ещё два года назад. Но не исключено, что это будет и нечто иное.

/17 мая, 20:38/ автор: Accent (iXBT.com) сайт: www.ixbt.com

Компания Getac обновила защищенный планшет F110 и защищенный трансформируемый ноутбук V110, которые были представлены в 2013 году и обновлены год назад.

Защищенный планшет Getac F110 и защищенный трансформируемый ноутбук Getac V110 получили процессоры Intel Core шестого поколения

Новые версии F110 и V110 получили процессоры Intel Core vPro шестого поколения с графическими ядрами Intel HD Graphics 520 и модули TPM 2.0. В оснащении компьютеров можно выделить защиту от попыток механического взлома, наличие дактилоскопических датчиков, считывателей смарткарт и тегов RFID. Следует также отметить функцию Absolute DDS, позволяющую удаленно заблокировать утерянный или украденный компьютер.

Что касается других технических характеристик, они во многом унаследованы у предшествующих версий. Так, F110 и V110 оснащены дисплеями размером 11,6 дюйма, средствами беспроводного подключения Wi-Fi 802.11ac и Bluetooth 4.2, аккумуляторами с поддержкой горячей замены. Компьютеры соответствуют требованиям теста MIL-STD810G и имеют степень защиты IP65.

Источник: Getac

/17 мая, 20:19/ автор: Accent (iXBT.com) сайт: www.ixbt.com

Компания Quantum3D, специализирующаяся на симуляторах для тренировки персонала, намерена продемонстрировать на отрывающейся сегодня в Лондоне выставке ITEC 2016 прототип недавно анонсированного генератора изображений Independence IDX 80. IDX 80 — самый компактный продукт этой категории в ассортименте Quantum3D. По размерам он сопоставим с настольным ПК. Отметим, что IDX 80 пока отсутствует в каталоге компании, так что его технические характеристики неизвестны. Зато известно, что демонстрационный стенд будет включать шесть проекторов разрешением WQXGA (2560 x 1600 пикселей) каждый, формирующих в реальном времени изображение, соответствующее полету на самолете. Производитель подчеркивает, что ранее такой уровень производительности можно было получить только с помощью гораздо большего генератора, включающего «стойку, полную серверов».

Одновременно анонсирован выпуск ПО MANTIS 3.3

Одновременно анонсирован выпуск программного обеспечения MANTIS 3.3. К особенностям этой версии относится встроенная поддержка ПО domeprojection.com ProjectionTools, увеличенное количество источников света, расширенные возможности анимированного персонажа DI-Guy, улучшенный рендеринг источников света и другие новшества и улучшения. Распространение новой версии начнется в конце текущего месяца. Ею также будут комплектоваться серийные системы IDX 80, поставки которых должны начаться в летом.

Источник: Quantum3D

/17 мая, 20:19/ автор: MPAK (iXBT.com) сайт: www.ixbt.com

Компания Omate приготовила пополнение для своего ассортимента умных часов. Новинка называется Wherecom S3.

Как и многие другие подобные продукты производителя, Wherecom S3 можно использовать как полностью самостоятельное устройство. Этому способствует и наличие модема сотовой связи, и полноценная ОС Android, пусть и со специальным адаптированным для часов интерфейсом. Но это не все особенности устройства.

Умные часы Omate Wherecom S3 предназначены бабушкам и дедушкам

Wherecom S3 предназначается не для любителей новых технологий, а, напротив, для тех, кто зачастую с таковыми знаком плохо — для пожилых людей. В данном случае такое позиционирование обуславливает наличие интерфейса Senior с крупными значками и различного специализированного ПО. К примеру, приложения, которое напоминает о необходимости приёма лекарства. Также присутствует трекер GPS для того, чтобы члены семьи могли в любой момент узнать, в какой магазин за молоком пошла их бабушка. Есть и физическая кнопка SOS, обеспечивающая быструю связь с зафиксированным номером вместе с отправкой координат носителя часов.

Новинка основана на платформе MediaTek, располагает 512 МБ ОЗУ, 4 ГБ флэш-памяти и экраном диагональю 1,54 дюйма разрешением 320 х 320 пикселей. Аккумулятора должно быть достаточно для трёх дней работы. Габариты часов равны 37 х 38 х 13,9 мм.

Стоит отметить, что Omate заключила контракт с европейской некоммерческой организацией ADMEA, которая должна продвигать часы в Европе. На этом рынке они будут стоить 150 евро.

/17 мая, 19:23/ автор: MPAK (iXBT.com) сайт: www.ixbt.com

Аналитики DRAMeXchange, которая является подразделением TrendForce, оценили рынок памяти DRAM по итогам первого квартала нынешнего года.

Мировая выручка в данном сегменте за четверть составила 8,56 млрд долларов, что на 16,6% меньше, нежели кварталом ранее. Аналитики отмечают, что первый квартал в этой отрасли всегда слабый. Кроме того, на показатели повлияло снижение продаж смартфонов iPhone и ситуация на рынке ПК в целом.

Лидером рынка микросхем DRAM остаётся Samsung. Данный производитель за три месяца заработал 3,97 млрд долларов, то есть почти половину. Но это всё равно соответствует снижению на 16%.

Выручка на рынке микросхем DRAM упала на 16,6%

Выручка SK Hynix сократилась сильнее — на 20% до 2,3 млрд долларов. На почётном третьем месте расположилась Micron, которая заработала 1,58 млрд долларов, что на 18,4% меньше, чем кварталом ранее.

А вот Nanya, заработавшая всего 315 млн долларов, показала снижение выручки лишь на 0,9%. А у Winbond и вовсе был зафиксирован рост выручки с 154 млн долларов в прошлом квартале до 157 млн долларов в отчётном.

/17 мая, 18:51/ автор: MPAK (iXBT.com) сайт: www.ixbt.com

Монструозный десятиядерный процессор Intel Core i7-6950X только готовится к выходу на рынок, а его уже успели протестировать в различных приложениях.

Тесты десятиядерного процессора Intel Core i7-6950X показали превосходство над предшественником

Начнём с того, что это процессор в исполнении LGA2011-3, предназначенный для работы с системными платами с набором логики Intel X99 (при условии обновления BIOS). Он содержит десять ядер, работающих на частоте 3,0/3,5 ГГц, а также 25 МБ кэш-памяти третьего уровня. TDP решения составит 140 Вт, а продаваться он будет по цене $1570.

Для сравнения, CPU Core i7-5960X, который и выступал оппонентом новинке Intel, содержит восемь ядер и работает на аналогичной частоте. Но этот процессор производится по 22-нанометровой технологии, а ожидаемая новинка создана по нормам 14 нм. Результаты тестов видны на скриншотах ниже.

Тесты десятиядерного процессора Intel Core i7-6950X показали превосходство над предшественником

Тесты десятиядерного процессора Intel Core i7-6950X показали превосходство над предшественником

Тесты десятиядерного процессора Intel Core i7-6950X показали превосходство над предшественником

Тесты десятиядерного процессора Intel Core i7-6950X показали превосходство над предшественником

Для удобства продублируем их в текстовом варианте.

В тесте CPUmark новинка набирает 616 баллов против 585 баллов у противника. Тест Cinebench R11.5 показал результат 19,74 балла, тогда как у предшественника лишь 13,94 балла. В тесте Cinebench R15 показатель CPU Core i7-6950X составляет 1852 cb, а оппонента — 1286 cb. В тестовом пакете 3DMark Fire Strike Ultra десятиядерный процессор способен набрать 4015 баллов.

/17 мая, 17:37/ автор: MPAK (iXBT.com) сайт: www.ixbt.com

Прошло всего несколько часов с момента анонса смартфонов Moto G и Moto G Plus нового поколения, как источники уже рассказывают о ещё одном представителе линейки Moto G.

Смартфон Moto G Play получил пятидюймовый экран

Информация о нём появилась на официальном сайте Motorola (там пока используется эта торговая марка). На изображении ниже новинка, называемая Moto G Play, расположена слева.

Смартфон Moto G Play получил пятидюймовый экран

Как можно видеть, она будет компактнее уже представленных собратьев. Это обусловлено наличием пятидюймового экрана разрешением 1280 х 720 пикселей, как и аппаратов третьего поколения. Вообще Moto G Play (или Moto G4 Play) как раз очень похож на предшественника в лице модели Moto G третьего поколения. Тут не только такой же дисплей, но и та же SoC — Snapdragon 410.

Смартфон Moto G Play получил пятидюймовый экран

А вот оперативной памяти 2 ГБ, что не может не радовать. Флэш-памяти установлено 16 ГБ с возможностью использовать карты microSD. Камера, к сожалению, видимо даже хуже, чем у прошлогоднего аппарата. Тут установлен 8-мегапиксельный модуль, а максимальная диафрагма равна F/2.2. Фронтальная камера имеет разрешение 5 Мп. Ёмкость аккумулятора — 2800 мА•ч. Учитывая параметры устройства, это должно обеспечить ему ощутимо лучшую, чем у старших собратьев, автономность. Габариты устройства равны 144,4 х 72 х 9,9 мм при массе 137 г. В качестве ОС выступает Android 6.0.1. Рамка похожа на металлическую, но, наиболее вероятно, в данном случае это всё-таки пластик. О ценах пока ничего неизвестно. Можно предположить, что на рынке США устройство будет стоить около $150-$160. Также есть вероятность, что эта модель заменит новый Moto E, то есть младшая линейка будет упразднена. Купить Moto G Play можно будет летом.

/17 мая, 17:18/ автор: MPAK (iXBT.com) сайт: www.ixbt.com

Пару часов назад на нашем сайте появился материал, посвящённый видеокарте GeForce GTX 1080. Тесты показали, что это безоговорочно самая производительная однопроцессорная видеокарта на рынке на сегодняшний день. Учитывая планы AMD на ближайшее будущее, таковой она останется как минимум до октября, когда, согласно новым слухам, могут анонсировать видеокарту на GPU Vega.

Но кроме этого сегодня стали известны точные спецификации модели GeForce GTX 1070 и они оказались несколько иными, чем нам рассказывали во время анонса. Видеокарта, как и старшая сестра, основана на GPU GP104. А вот активных ядер CUDA в этом случае лишь 1920, тогда как у GTX 1080 их 2560. То есть можно ожидать вполне приличную разницу в производительности. Количество текстурных блоков равно 120.

Стали известны подробности о видеокарте GTX 1070

GPU также работает на очень высокой частоте — 1,6 ГГц, но это частота в режиме Boost, тогда как базовая пока не названа. Частота памяти также не сообщается, но точно известно, что карта получит 8 ГБ памяти GDDR5. То есть можно ожидать частоту на уровне 7-8 ГГц. TDP устройства составит 150 Вт, а на задней панели можно будет найти порты DisplayPort 1.4 (x3), HDMI 2.0b и DVI.

/17 мая, 16:59/ автор: MPAK (iXBT.com) сайт: www.ixbt.com

Даже многие крупные компании не желают тратить деньги на проекты, в которых не уверены. И тут на помощь приходят популярные ныне сервисы для финансирования продуктов.

Решила воспользоваться таким и LG. Производитель запустил кампанию по сбору средств на Kickstarter. Деньги собирают на Acanvas — большую фоторамку. Конечно, устройство отличается от тех фоторамок, которые были распространены в недалёком прошлом.

Acanvas — крупное устройство. Оно оснащено экраном Full HD диагональю 23 дюйма. возможности новинки крайне скромны. Она умеет лишь отображать фотографии и изображения, но зато для их отправки достаточно выбрать нужное в фирменном ПО на смартфоне. Дополнительно будет доступен сервис Fine Art America с более чем 100 000 фотографий и картин известных фотографов и художников.

Фоторамка LG Acanvas стоит полтысячи долларов

Встроенного аккумулятора хватит для 4-5 часов работы. А вот зарядка устройства — чуть ли не самая интересная его особенность. Лучше всего о ней расскажет видео ниже.

Да, LG действительно сделала вот такое вот спускаемое устройство с поддержкой беспроводной зарядки. И да, для него нужно смонтировать специальный приёмник, а рамку расположить точно над ним, да ещё и учесть расстояние. Всё это якобы сделано, чтобы к Acanvas не тянулись никакие провода, которые, как считают дизайнеры, испортили бы минимализм концепции. Они, несомненно, в определённом смысле правы, но такая реализация вряд ли получит приз за самую удобную и оптимальную.

Фоторамка LG Acanvas стоит полтысячи долларов

Кроме того, владельцы домашних питомцев, а в особенности кошачьих, должны учитывать тот факт, что произвольно опускающийся и поднимающийся вдоль стены предмет в глазах животного никоим образом не является устройством для беспроводной зарядки фоторамки, а скорее очень даже подходит для весёлого времяпровождения.

Фоторамка LG Acanvas стоит полтысячи долларов

Поставки устройства должны начаться в декабре. Сейчас есть возможность получить Acanvas за $400, но этих лотов осталось всего два десятка. Обычная же цена новинки — $500.

/17 мая, 15:19/ автор: Accent (iXBT.com) сайт: www.ixbt.com

Планы Intel ограничиться в процессорах следующего поколения поддержкой только Windows 10 вызывают обеспокоенность производителей промышленных ПК. По их мнению, этот шаг приведет к значительному увеличению расходов и повлияет на спрос.

Первоначально ожидалось, что новая Intel стратегия охватит только процессоры Kaby Lake, но недавно Intel расширила охват до моделей начального уровня Apollo Lake, выпуск которых намечен на конец июня. Учитывая, что большинство существующих промышленных ПК на процессорах начального уровня рассчитано на Windows 7, а в новых моделях Intel и Microsoft вынуждают партнеров обновляться до Windows 10, это может оказать негативное влияние на рынок.

Агрессивное продвижение Windows 10 пугает производителей промышленных компьютеров

Агрессивно продвигая новую платформу, Intel и Microsoft рассчитывают на увеличение спроса. Так, 14-нанометровые процессоры Kaby Lake, выпуск которых запланирован на конец октября, будут поддерживать только Windows 10. Более того, по данным источника, Intel требует обновить до Windows 10 существующие решения на Skylake с Windows 7 и 8.1, делая это обновление условием продолжения технической поддержки.

Источник отмечает, что большинство участников рынка пока планируют продлить жизненный цикл старых систем и понаблюдать за ситуацией, прежде чем принимать навязываемые правила игры.

Источник: DigiTimes

/17 мая, 15:13/ автор: MPAK (iXBT.com) сайт: www.ixbt.com

Как и многие другие компании рынка IT, NXP Semiconductors видит будущее в автомобильном сегменте. На этом фоне компания анонсировала новую платформу для беспилотных машин, а также для автомобилей с системами помощи водителю (autonomous vehicles and advanced driver assistance systems, ADAS).

Платформа состоит из аппаратного комплекса BlueBox, набора разнообразных датчиков, включая радары, системы LIDAR, камеры и прочее, а также системы безопасности V2X. Компания говорит, что уже четыре из пяти крупнейших автогигантов получили для тестирования новую платформу.

NXP Semiconductors представила комплексное решение для беспилотных машин

В отличие от многих других подобных систем, комплекс BlueBox является открытой платформой, работающей под управлением Linux, так что клиенты NXP имеют возможность настраивать систему под свои нужды. BlueBox включает в себя процессор системы автомобильного зрения NXP S32V и процессор обработки данных LS2088A с восемью процессорными ядрами Cortex-A72, работающими на частоте 2 ГГц. В сумме это даёт производительность на уровне 90 000 DMIPS при потребляемой мощности около 40 Вт.

К слову, NXP является крупнейшим в мире поставщиком полупроводниковых решений для автомобильного сегмента. Также компания является лидером на рынке решений для ADAS, отгрузив на сегодняшний день более 30 млн специализированных процессоров для этого сегмента. По данным компании, восемь из десяти крупнейших автопроизводителей используют её разработки в этой области.

/17 мая, 14:56/ автор: Accent (iXBT.com) сайт: www.ixbt.com

Компания Oracle в 2009 году приобрела Sun Microsystems не для того, чтобы подать в суд на Google, обвинив последнюю в нарушении авторских прав, а для защиты своей продукции, которая зависит от программного обеспечения Sun. Об том сообщил источник со ссылкой на слова содиректора Oracle Сафры Кац (Safra Catz), сказанные в суде.

Иск, рассматриваемым федеральным судом Сан-Франциско, был подан 2010 году

Иск, рассматриваемым федеральным судом Сан-Франциско, был подан 2010 году, после того, как в 2009 году Rising Sun и Sun оказались в одних и тех же руках. По мнению Oracle, компания Google, разработавшая Android, нарушает патенты и авторские права Oracle, касающиеся Java, в виртуальной машине Dalvik, исполняющей в Android приложения Java. В Google полагают, что могут использовать Java бесплатно.

В 2012 году жюри не смогло прийти к единому мнению, после чего судья предписал сторонам попытаться прийти к соглашению. Однако Oracle и Google не смогли уладить спор даже в ходе переговоров с участием генеральных директоров, поэтому началось повторное рассмотрение дела. На данный момент Oracle запрашивает в качестве компенсации ущерба 9 млн долларов.

Источник: Reuters

/17 мая, 14:24/ автор: Accent (iXBT.com) сайт: www.ixbt.com

По словам президента аналитической компании UBI Research, компания Apple, которая скоро начнет использовать в своих смартфонах дисплеи OLED, к 2021 году станет их основным покупателем.

В 2018 году ожидается выпуск смартфона iPhone с изогнутым дисплеем OLED. Первоначально на эту модель придется до 30% продаж всех смартфонов (оцениваемых в 100 млн штук), но к 2020 году доля увеличится до 80%.

Samsung Display — единственный производитель, который сейчас может выпускать дисплеи OLED, необходимые Apple

В результате к 2021 году Apple опередит по закупкам дисплеев OLED компанию Samsung Electronics. Сейчас Samsung использует дисплеи OLED примерно в 70% своих смартфонов, а первый в мире смартфон с изогнутым дисплеем OLED лидер отрасли выпустил еще в 2013 году — это была модель Samsung Galaxy Round.

По признанию UBI, компания Samsung Display — единственный производитель, который сейчас может выпускать дисплеи OLED, необходимые Apple. Нежелание Apple быть в зависимости от единственного поставщика побуждает LG и других производителей осваивать выпуск этой продукции.

Согласие Samsung Display поставлять Apple дисплеи OLED в UBI объясняют тем, что в Samsung не видят способов дальше наращивать продажи собственных смартфонов.

Источник: The Korea Herald

/17 мая, 14:07/ автор: MPAK (iXBT.com) сайт: www.ixbt.com

Только что компания Lenovo представила смартфон Moto G четвёртого поколения. Как и в случае с предшественником, новинка анонсирована в Индии, так как этот рынок является одним из ключевых для Moto. Если точнее, то на первом месте расположилась Бразилия, а на втором как раз Индия.

Начать стоит с того, что смартфон можно называть Moto G, а можно и Moto G4. На презентации можно было увидеть как названия без цифры, так и с четвёркой в виде верхнего индекса. Второй важный момент — представлено два смартфона: Moto G и Moto G Plus, хотя они очень похожи и корректнее говорить о двух модификациях одной модели.

Смартфоны Moto G4 и Moto G4 Plus стали производительнее и крупнее предшественников

Смартфоны стали гораздо крупнее предыдущих моделей, что кому-то понравится, а кого-то разочарует. Диагональ экрана составляет 5,5 дюйма при разрешении Full HD. Дисплей прикрыт стеклом Gorilla Glass 3. Сердцем обеих версий служит SoC Snapdragon 617, что, наравне с разрешением экрана, является одним из самых главных улучшений по сравнению с предшественниками.

Смартфоны Moto G4 и Moto G4 Plus стали производительнее и крупнее предшественников

Далее стоит остановиться на различиях. Модель Moto G располагает 2 ГБ ОЗУ и 16 ГБ флэш-памяти. Слот для карт microSD присутствует. Модель Moto G Plus будет существовать в версии с таким же объёмом памяти, а также в версии с 3 ГБ ОЗУ и 32 ГБ флэш-памяти. Кроме этого, у Moto G Plus основная камера имеет разрешение 16 Мп, а у Moto G — 13 Мп. Известно, что у старшей модели максимальная диафрагма равна F/2.0, размер пикселя составляет 1,3 мкм, а также имеется лазерный помощник автофокуса. Фронтальная камера характеризуется разрешением 5 Мп.

Последнее отличие моделей заключается в наличии сканера отпечатков пальцев в кнопке под экраном у модели Moto G Plus. Ёмкость аккумулятора идентична — 3000 мА•ч. Поддерживается технология быстрой зарядки. Создатели утверждают, что за 15 минут смартфон можно будет зарядить настолько, что этого хватит для шести часов работы. Смартфон работает под управлением Android 6.0.1. Поддерживается работа с двумя картами SIM.

Смартфоны Moto G4 и Moto G4 Plus стали производительнее и крупнее предшественников

Защита от воды, видимо, показалась компании излишней, поэтому в новой модели её, к сожалению, нет. Зато появился металл в корпусе (рамка). Габариты составляют 158 х 76,6 х 9,8 мм при массе 155 г.

Модель Moto G Plus поступит в продажу уже сегодня по цене $200 и $225 в зависимости от модификации. Moto G попадёт в продажу в следующем месяце, но цена пока неизвестна. Видимо, она будет аналогична предыдущему поколению — $180.

/17 мая, 14:07/ автор: MPAK (iXBT.com) сайт: www.ixbt.com

Только что компания Lenovo представила смартфон Moto G четвёртого поколения. Как и в случае с предшественником, новинка анонсирована в Индии, так как этот рынок является одним из ключевых для Moto. Если точнее, то на первом месте расположилась Бразилия, а на втором как раз Индия.

Начать стоит с того, что смартфон можно называть Moto G, а можно и Moto G4. На презентации можно было увидеть как названия без цифры, так и с четвёркой в виде верхнего индекса. Второй важный момент — представлено два смартфона: Moto G и Moto G Plus, хотя они очень похожи и корректнее говорить о двух модификациях одной модели.

Смартфоны Moto G4 и Moto G4 Plus стали производительнее и крупнее предшественников

Смартфоны стали гораздо крупнее предыдущих моделей, что кому-то понравится, а кого-то разочарует. Диагональ экрана составляет 5,5 дюйма при разрешении Full HD. Дисплей прикрыт стеклом Gorilla Glass 3. Сердцем обеих версий служит SoC Snapdragon 617, что, наравне с разрешением экрана, является одним из самых главных улучшений по сравнению с предшественниками.

Смартфоны Moto G4 и Moto G4 Plus стали производительнее и крупнее предшественников

Далее стоит остановиться на различиях. Модель Moto G располагает 2 ГБ ОЗУ и 16 ГБ флэш-памяти. Слот для карт microSD присутствует. Модель Moto G Plus будет существовать в версии с таким же объёмом памяти, а также в версии с 3 ГБ ОЗУ и 32 ГБ флэш-памяти. Кроме этого, у Moto G Plus основная камера имеет разрешение 16 Мп, а у Moto G — 13 Мп. Известно, что у старшей модели максимальная диафрагма равна F/2.0, размер пикселя составляет 1,3 мкм, а также имеется лазерный помощник автофокуса. Фронтальная камера характеризуется разрешением 5 Мп.

Последнее отличие моделей заключается в наличии сканера отпечатков пальцев в кнопке под экраном у модели Moto G Plus. Ёмкость аккумулятора идентична — 3000 мА•ч. Поддерживается технология быстрой зарядки. Создатели утверждают, что за 15 минут смартфон можно будет зарядить настолько, что этого хватит для шести часов работы. Смартфон работает под управлением Android 6.0.1. Поддерживается работа с двумя картами SIM.

Смартфоны Moto G4 и Moto G4 Plus стали производительнее и крупнее предшественников

Защита от воды, видимо, показалась компании излишней, поэтому в новой модели её, к сожалению, нет. Зато появился металл в корпусе (рамка). Габариты составляют 158 х 76,6 х 9,8 мм при массе 155 г.

Модель Moto G Plus поступит в продажу уже сегодня по цене $200 и $225 в зависимости от модификации. Moto G попадёт в продажу в следующем месяце, но цена пока неизвестна. Видимо, она будет аналогична предыдущему поколению — $180.

Позже все смартфоны появились на официальном сайте компании, который несколько запутывает ситуацию. Дело в том, что там для модели Moto G указаны две модификации: с 16 и 32 ГБ флэш-памяти. А для Moto G Plus их и вовсе неясно сколько. Смартфон якобы будет доступен с 16, 32 и 64 ГБ флэш-памяти, а также 2 либо 4 ГБ ОЗУ, причём вариант с 3 ГБ, о котором рассказали во время презентации в Индии, попросту отсутствует. Также стоит отметить упоминание сервиса Moto Maker для обеих новинок.

/17 мая, 13:15/ автор: MPAK (iXBT.com) сайт: www.ixbt.com

Далеко не все проекты Google становятся успешными и обеспечивают себе долгую и счастливую жизнь. Причём это касается и программных проектов поискового гиганта.

Из относительно недавних можно вспомнить Wave, который должен был стать своеобразным универсальным способом не только обмена сообщениями, но и совместной работы над какими-то документами. Но идея не получила поддержки пользователей и проект свернули.

Google представила сервис Spaces

Google Spaces — новое детище поискового гиганта. И оно чем-то напоминает тот самый Wave. Многие тематические ресурсы назвали Spaces мессенджером, сравнив его с другими популярными сервисами данного сегмента (WhatsApp, Viber, Telegram и другими). Однако, судя по имеющимся данным, Spaces представляет собой нечто иное.

Google представила сервис Spaces

Spaces скорее нацелен именно на групповую работу. Сервис позволяет создать чат с определённой темой, где могут общаться два и более человека. Пригласить нового участника можно по электронной почте, посредством социальных сетей и прочими способами. Основная изюминка Spaces в том, что в ПО интегрированы поисковая система Google Search, обозреватель Chrome и сервис YouTube. То есть для того, чтобы обсудить какую-то статью, не нужно открывать браузер, копировать ссылку, а затем вставлять её в чат Spaces. Достаточно открыть строку поиска в самом сервисе, отыскать требуемое и отправить в общий чат. Аналогично система работает и с видео в YouTube.

Google представила сервис Spaces

Подробнее о сервисе расскажут на мероприятии Google I/O, которое стартует завтра, но опробовать Spaces можно уже сейчас. Сервис доступен для Android, iOS и настольных платформ.

/17 мая, 12:51/ автор: Accent (iXBT.com) сайт: www.ixbt.com

По данным источника, в ближайшее время компания Fujifilm анонсирует две новинки.

Одновременно будет представлена бленда LH-XF23

Во-первых, это будет телеконвертор Fujifilm XF2X TC WR.

Одновременно будет представлена бленда LH-XF23

Как утверждается, в Японии телеконвертор Fujifilm XF2X TC WR будет стоить около 540 долларов.

Одновременно будет представлена бленда LH-XF23

Во-вторых, будет представлена бленда Fujifilm LH-XF23 для объектива Fujinon XF 23mm f/1.4R. Она оценена примерно в 80 долларов.

Одновременно будет представлена бленда LH-XF23

K сроках начала продаж новинок пока информации нет.

Источник: Digicame-info

/17 мая, 12:48/ автор: Jin (iXBT.com) сайт: www.ixbt.com

Осенью прошлого года мы писали о том, что компания Xiaomi начала продажи чемодан Mi Trolley, который можно было приобрести примерно за 47 долларов. Новый чемодан Xiaomi 90 Minutes Smart Suitcase предлагается за 307 долларов, но в этот раз его действительно можно отнести к умным устройствам.

Умный чемодан Xiaomi 90 Minutes Smart Suitcase оценен в $307

Xiaomi 90 Minutes Smart Suitcase был спроектирован немецким дизайнерским бюро, его корпус полностью выполнен из алюминиево-магниевого сплава. Масса чемодана составляет 4,4 кг при габаритах 550 x 375 x 215 мм и объеме 31 литр. Владельцы чемодана могут установить ручку на одном из четырех уровней, а четыре колеса отличаются хорошей маневренностью и высокой надежностью.

Умный чемодан Xiaomi 90 Minutes Smart Suitcase оценен в $307

Встроенный модуль Bluetooth 4.0 используется для соединения со смартфонами, которые работают под управлением iOS 7.0 и Android 4.4 и новее. При желании вы можете удаленно управлять замками чемодана, кроме того, приложение подскажет, если кто-то попробует открыть его без вашего ведома.

/17 мая, 12:43/ автор: Accent (iXBT.com) сайт: www.ixbt.com

Исследователи, работающие в Оксфордском университете, смогли разгадать загадку нитей, из которых состоит паутина. Как известно, нити сохраняют прочность, даже будучи значительно растянуты, тогда как подобные материалы, созданные человеком, не могут похвастать этим похвальным качеством.

Удивительный феномен объясняется наличием крошечных капелек «водянистого клея», присутствующих на паутине. В этих каплях хранятся небольшие мотки паутины, раскручиваемые при растяжении паутины. В скрученном состоянии их удерживает точное равновесие между эластичностью нити и поверхностным натяжением клейкой субстанции капель.

Как утверждается, разработка имеет большое значение для материаловедения, инженерии и медицины

Ученые попытались воспроизвести устройство паутины, используя полимерное волокно и капли масла. Созданную нить исследователи назвали «жидким проводом». Как утверждается, разработка имеет большое значение для материаловедения, инженерии и медицины. Поскольку в «жидком проводе» можно использовать различные сочетания материалов, сфера его применения чрезвычайно широка. Например, она включает конструкции, самовосстанавливающиеся после деформации, микромоторы и гибкие электронные устройства.

Источник: PNAS

/17 мая, 12:33/ автор: Юрий Гитин (iXBT.com) сайт: www.ixbt.com

Спустя месяц после утечки бета-версии прошивки с ОС Android 6.0 для смартфона Ulefone Power, компания представила ее финальную версию. Важно, что смартфон на данный момент нельзя обновить беспроводным способом, это делается с использованием ПК по инструкциям производителя. Причиной стал переход в новой прошивке с 32-битной на 64-битную ОС, дальнейшие обновления должны без проблем загружаться «по воздуху».

Ulefone Power стал моделью с самым емким аккумулятором в каталоге производителя

Некоторые покупатели смартфонов Ulefone Power из первых партий жаловались на неудовлетворительную работу экрана. Представитель компании сообщил, что примерно сто моделей в начале поставок получили бракованный дисплей, наличие брака на данный момент подтвердилось у 27-ми покупателей. В поставляемых ныне смартфонах проблема решена. Компания также подтвердила, что обновление до ОС Android 6.0 для смартфонов Ulefone Paris и Vienna выйдет в июне.

/17 мая, 12:29/ автор: Accent (iXBT.com) сайт: www.ixbt.com

Уверенность, что Apple будет использовать дисплеи AMOLED в своих будущих смартфонах iPhone позволила аналитикам WitsView, подразделения компании TrendForce, спрогнозировать рост поставок панелей этого типа в ближайшие годы.

Как утверждается, производство панелей AMOLED небольшого и среднего размера в период с 2015 по 2019 год будет расти на 30% в год. Суммарная площадь таких панелей, изготовленных в текущем году, составит 5,9 млн м², что на 16,5% больше прошлогоднего показателя. В 2019 году показатель вырастет до 14,4 млн м².

В 2016 году будет выпущено 5,9 млн кв. метров панелей AMOLED небольшого и среднего размера

В краткосрочной перспективе на этом рынке продолжит лидировать компания Samsung Display, обладающая технологическим преимуществом. Основной тенденцией на ближайшие годы аналитики считают увеличение доли китайских производителей.

Источник: TrendForce

/17 мая, 12:20/ автор: Dexter (iXBT.com) сайт: www.ixbt.com

Вслед за живыми фото OnePlus 3 в Сети появилось и первое официальное изображение смартфона. Учитывая, что его опубликовал Эван Блэсс (Evan Blass), известный своими достоверными сведениями о еще не выпущенных продуктах, в подлинности картинки сомневаться не приходится.

OnePlus 3

Помимо этого, Эван сообщил, что смартфон оснащен экраном AMOLED и аккумуляторной батареей емкостью 3000 мА·ч. По предварительным данным аппарат построен на однокристальной платформе SoC Snapdragon 820, оснащен 4 ГБ ОЗУ и камерами разрешением 16 и 8 Мп. Официальная премьера смартфона должна состояться 18 мая.

Источник: evleaks

/17 мая, 11:37/ автор: Accent (iXBT.com) сайт: www.ixbt.com

Технология памяти, в которой используется изменение фазового состояния носителя (phase-change memory, PCM), привлекает исследователей достаточно давно, но до широкого практического использования дело пока не дошло: в реальных системах доминируют микросхемы DRAM и NAND. Однако ситуация может измениться — ученые из IBM Research впервые продемонстрировали надежное хранение трех битов данных в ячейке PCM. Возможность хранения в одной ячейке трех битов информации повышает плотность хранения, за счет чего снижается удельная стоимость хранения.

По мнению IBM, память PCM может использоваться самостоятельно и в составе гибридных конфигураций вместе с флэш-памятью

В памяти PCM одному логическому уровню соответствует аморфное состояние вещества, второму — кристаллическое, соответствующие низкой и высокой проводимости. Память PCM — энергонезависимая, то есть сохраняет информацию в отсутствие питания. При этом от флэш-памяти она выгодно отличается высоким быстродействием и длительным сроком службы. По словам источника, число циклов перезаписи составляет не менее 10 млн. Для сравнения: современная флэш-память, используемая в SSD и флэшках, выдерживает около 3000 перезаписей.

По мнению IBM, память PCM может использоваться самостоятельно и в составе гибридных конфигураций вместе с флэш-памятью. Во втором случае PCM выступает в роли высокоскоростного буфера.

Источник: IBM Research

/17 мая, 11:13/ автор: MPAK (iXBT.com) сайт: www.ixbt.com

Компания Razer открывает в США свой первый фирменный магазин. Он расположился в Сан-Франциско и готовится принять первых посетителей 21 мая.

Но известный производитель игровой периферии решил с выдумкой подойти к такому событию. В итоге у Razer вышел не совсем магазин. Конечно, тут можно будет приобрести устройства компании, но также можно и поиграть в компьютерные игры. То есть магазин совмещён с игровым залом, в котором разместились 20 игровых станций. Причём в данном случае, судя по всему, под станцией подразумевается и производительный игровой ПК, и какая-то игровая консоль. То есть можно использовать и то, и другое, в зависимости от предпочтений.

Razer открыла в США фирменный магазин и игровой зал одновременно

И установлены они не для того, чтобы клиент просто опробовал мышь или геймпад, а действительно для того, чтобы люди приходили и играли. Конечно же, используя установленную периферию Razer.

Компания даже намерена проводить соревнования, транслируя их на видеостену магазина, размеры которой равны 4,9 х 2,7 м.

/17 мая, 11:12/ автор: Accent (iXBT.com) сайт: www.ixbt.com

В ближайшее время ожидается анонс смартфона Moto G4 Plus, а пока источник опубликовал фотографии упаковки устройства, которые позволяют составить представление о его конфигурации.

Смартфон Moto G4 Plus будет представлен в ближайшее время

Итак, лицевая сторона коробки говорит, что на передней панели смартфона под экраном есть кнопка Home с дактилоскопическим датчиком. Основная информация находится на тыльной стороне коробки.

Смартфон Moto G4 Plus будет представлен в ближайшее время

В частности, основой смартфона назван восьмиядерный процессор. Объем оперативной памяти равен 2 ГБ флэш-памяти — 32 ГБ. Размер экрана составляет 5,5 дюйма, разрешение — 1920 х 1080 пикселей. Смартфон оснащен камерами разрешением 16 и 5 Мп. Питание устройства обеспечивает аккумулятор емкостью 3000 мА∙ч.

Источник: AndroidPure

/17 мая, 11:01/ автор: Accent (iXBT.com) сайт: www.ixbt.com

По данным источника, пользователи ноутбуков Apple MacBook Pro столкнулись с зависанием системы при установке обновления OS X El Capitan 10.11.4. В частности, о проблеме сообщают сотни участников форума MacRumors — соответствующая ветка обсуждения быстро выросла до нескольких десятков страниц. Подобное обсуждение также развернулось на сайте техподдержки Apple.

Вчера компания Apple опубликовала обновление OS X 10.11.5

По имеющимся данным, проблема в основном наблюдается на прошлогодней 13-дюймовой модели MacBook Pro с экраном Retina, хотя есть сообщения и о 15-дюймовой модели. Пользователи отмечают, что система зависает спонтанно, прекращая реагировать на их действия в произвольный момент времени. При этом не остается никакого способа вернуть компьютер в работоспособное состояние, помимо аппаратного сброса. Предварительный анализ логов показывает, что ошибка может находиться в системной библиотеке или драйвере Intel Graphics.

Вчера компания Apple опубликовала обновление OS X 10.11.5. Исправлена ли в нем ошибка — пока точно неизвестно.

Источники: WCCFtech.com, Apple Support, Apple

/17 мая, 10:40/ автор: Dexter (iXBT.com) сайт: www.ixbt.com

Компания Gionee готовит смену смартфону IUNI U3, выпущенного почти два года тому назад. Новинка сохранит преемственность в названии (IUNI U4) и флагманский статус за счет использования однокристальной платформы Qualcomm Snapdragon 820.

IUNI U4

IUNI U4 будет относительно небольшим смартфоном со своим дисплеем диагональю 5,2 дюйма. Разрешение экрана, произведенного Sharp, составляет 1920 х 1080 точек. В зависимости от версии, смартфон получил 4 или 6 ГБ оперативной памяти и 64 или 128 ГБ встроенной флэш-памяти. Корпус устройства толщиной 3,6-7 мм изготовлен из металла.

В основной камере IUNI U4 обещан датчик изображения Sony IMX377 разрешением 13 Мп, рядом с которым расположится дактилоскопический датчик. Также аппарат получит порт USB Type-C.

IUNI U4

По данным источника, стоимость базовой версии устрйоства в Китае составит примерно $305, а за вариант с увеличенными объемами памяти придется доплатить около $385.

Источник: Thegadgetsfreak

/17 мая, 10:36/ автор: Accent (iXBT.com) сайт: www.ixbt.com

Победителем международного конкурса научных разработок старшеклассников Intel International Science and Engineering Fair в этом году стал 18-летний Хан Джи (Остин) Вонг (Han Jie (Austin) Wang) из Канады. За первое место ему присуждена награда имени Гордона Мура (Gordon Moore) и денежный приз в размере $75 000.

Вонг разработал высокоэффективный микробиологический топливный элемент (MFS), способный генерировать электричество из органических отходов. Точнее говоря, молодому исследователю удалось выделить конкретные гены в генетически модифицированной бактерии E. coli, которые отвечают за эффективную генерацию электроэнергии. Созданная Вонгом система может генерировать больше энергии, чем существующие аналоги, при себестоимости, сравнимой с себестоимостью солнечной генерации. По мнению автора проекта, это делает элементы MFS коммерчески оправданными.

За первое место 18-летний микробиолог получил приз в размере $75 000

Второе место и $50 000 получил 15-летний Сьямантак Пайра (Syamantak Payra) из США за разработку доступного по цене коленного бандажа с электронным управлением. Бандаж призван помочь людям с ослабленными ногами. Испытания прототипа на двух пациентах с осложнениями от полиомиелита показали эффективность устройства.

Третье место и такой же денежный приз достались 17-летней Кэти Лью (Kathy Liu) из США за разработку компонента для аккумуляторов, который может существенно улучшить их характеристики и повысить безопасность. Аккумулятор, созданный Лью, получился легче и меньше существующих. При этом он не подвержен риску возгорания, в отличие от литий-ионных аккумуляторов.

В конкурсе Intel ISEF в этом году приняло участие более 1700 молодых ученых, отобранных в 77 странах, регионах и территориях в ходе 419 предварительных конкурсов. В общей сложности различные награды и призы достались примерно 600 конкурсантам.

Источник: Intel

/17 мая, 10:30/ автор: Dexter (iXBT.com) сайт: www.ixbt.com

Ассортимент планшетных компьютеров Cube, работающих под управлением ОС Windows 10, пополнился моделью i16. Новинку уже можно заказать в Китае по цене около $515.

Cube i16

Судя по всему, i16 является дальнейшим развитием прошлогодней модели Cube i7 Stylus — уж больно схожи устройства и по внешнему виду, и по характеристикам. Среди отличительных особенностей новинки — платформа Intel Core M3-6Y30 (0,9-2,2 ГГц) вместо Intel Core M-5Y10 (0,8-2,0 ГГц) и порт USB 3.1 Type-C.

Cube i16

Cube i16, как и предшественник, наделен 4 ГБ оперативной памяти и 64 ГБ встроенной флэш-памяти, а также дисплеем диагональю 10,6 дюйма разрешением Full HD.

Источник: Aliexpress

/17 мая, 09:54/ автор: Dexter (iXBT.com) сайт: www.ixbt.com

У представленной в прошлом году платформы роботизированного костюма Hyundai Lifecaring ExoSkeleton (H-LEX) появилось очередное реальное воплощение: разработчики в своем блоге опубликовали массу изображений и кое-какие подробности о новом экзоскелете.

Экзоскелет Hyundai, построенный на платформе Lifecaring ExoSkeleton


Экзоскелет Hyundai, построенный на платформе Lifecaring ExoSkeleton


Экзоскелет Hyundai, построенный на платформе Lifecaring ExoSkeleton

Конечно же, Hyundai не удержалась, чтобы не сравнить свою разработку с костюмом Железного человека. В пресс-релизе отмечается, что экзоскелет придает человеку силу, позволяющую поднимать объекты массой «сотни килограммов». При этом разработка является многоцелевой, она найдет применение и на промышленных предприятиях, и в армии, и даже в учреждениях медицинской реабилитации.

Экзоскелет Hyundai, построенный на платформе Lifecaring ExoSkeleton


Экзоскелет Hyundai, построенный на платформе Lifecaring ExoSkeleton


Экзоскелет Hyundai, построенный на платформе Lifecaring ExoSkeleton

Когда устройство поступит в продажу и сколько будет стоить — данных нет, но разработчики хорошо видят его коммерческое будущее.

Источник: Hyundai

/17 мая, 09:30/ автор: Dexter (iXBT.com) сайт: www.ixbt.com

Федеральная комиссия по связи США протестировала планшетный компьютер Nvidia с каталожным номером P2290W. О характеристиках устройства информации мало, но можно с большой долей вероятности предположить, что под обозначением P2290W скрывается новое поколение игрового планшета Shield.

Планшет Nvidia Shield нового поколения фигурирует под обозначением P2290W

Пока можно с определенностью сказать, что устройство оснащено двухдиапазонным адаптером Wi-Fi 802.11ac и модулем Bluetooth LE, а также портом Micro-USB и аккумуляторной батареей емкостью 5100 мА·ч. Габариты и масса устройства — 218,44 х 121,9 х 7,6 мм и 383 грамма. Эти параметры сравнимы с Shield Tablet K1, разве что новинка на полтора миллиметра тоньше и 30 граммов тяжелее.

По предварительным данным, новый Nvidia Shield Tablet построен на SoC Tegra X1, оснащен 3 ГБ оперативной и 32 ГБ встроенной флэш-памяти, 8-дюймовым дисплеем разрешением 1920 х 1200 точек. А в качестве ОС устройство использует Android 6.0.

Источник: FCC

/17 мая, 08:45/ автор: Dexter (iXBT.com) сайт: www.ixbt.com

Линейка флагманских смартфонов компании Samsung в последнее время заметно разрослась. На текущий год план уже почти выполнен, осталось дождаться модель Note 6 (у которой, возможно, будет несколько версий), а уже новое поколение флагманов Samsung появится в следующем году. И в него, по данным источника, войдут пять моделей.

В 2017 году у Samsung будет пять флагманских смартфонов

Линейка флагманских смартфонов Samsung образца 2017 года включит следующие устройства: Galaxy S8, Galaxy S8 Edge, Galaxy Note 7, Galaxy Note 7 Edge и Galaxy X. Четыре первые, как ожидается, будут оснащены экранами Super AMOLED разрешением 2,5К. Samsung Galaxy X будет стоять особняком, так как под этим обозначением скрывается модель со складным экраном, причем разрешение этого экрана, как ожидается, составит 4K. Samsung уже не первый год работает над смартфоном, который, как бумажник, можно будет сложить пополам, и вот в следующем году, вероятно, устройство таки дорастет до стадии серийного производства.

Источник: Sammobile

/17 мая, 08:35/ автор: Jin (iXBT.com) сайт: www.ixbt.com

Спустя всего пару месяцев после презентации первого смартфона с 6 ГБ оперативной памяти, которым стал vivo Xplay 5 Elite, анонсы подобных устройств совершенно не вызывают удивления.

Cubot готовится выпустить флагманское устройство Cubot S9, которое будет оснащено однокристальной системой Qualcomm Snapdragon 823, 6 ГБ оперативной и 128 ГБ флэш-памяти, а также сдвоенной камерой разрешением 16 Мп и фронтальной разрешением 8 Мп.

Смартфон Cubot S9 будет оснащен сдвоенной камерой, SoС Snapdragon 823 и 6 ГБ оперативной памяти

Дисплей SHARP, занимающий большую часть лицевой панели, будет иметь диагональ 5,5 дюймов, его разрешение пока что не сообщается. Под дисплеем будет располагаться кнопка Home необычной формы со встроенным дактилоскопическим датчиком. Аккумулятор будет иметь емкость 2800 мА•ч, кроме того, в оснащение смартфона войдет разъем USB-С, через который будут подключаться гарнитуры.

Работать Cubot S9 должен под управлением Android 6.0 Marshmallow, цена пока не сообщается.

/17 мая, 08:24/ автор: Jin (iXBT.com) сайт: www.ixbt.com

На прошлой неделе специалисты Digitimes Research сообщили о том, что продажи планшетов в первом квартале 2016 снизились на 12,1%, если сравнивать с первым кварталом прошлого года, и составили 44,89 млн единиц.

По оценке той же организации, во втором квартале мы будем наблюдать дальнейшее снижение продаж до объема 42,84 млн штук (-4,6%). Причина заключается в том, что заказы на новые продукты, которые будут выпущены под конец года, начнут размещаться только в третьем квартале. Однако если сравнивать с показателями продаж во втором квартале прошлого года, то снижение должно составить 7,9%, то есть ситуация будет ухудшаться, но не так быстро, как кварталом ранее.

Digitimes Research прогнозирует дальнейшее снижение продаж планшетов во втором квартале 2016

Digitimes Research считает, что Apple должна улучшить свои позиции, а поставки iPad ожидаются на уровне 11,1 млн штук (+8,8%). Наиболее популярными моделями называют iPad Pro и iPad Air 2, цена на который два месяца назад была снижена на $100.

Поставки планшетов других известных брендов должны снизиться на 12,2% и составить около 16,14 млн единиц.

/17 мая, 08:12/ автор: Jin (iXBT.com) сайт: www.ixbt.com

Компания Sony анонсировала новый смартфон Sony Xperia XA Ultra, который получил большой шестидюймовый дисплей разрешением 1920 х 1080 пикселей и цельнометаллический корпус.

Шестидюймовый смартфон Sony Xperia XA Ultra получил фронтальную камеру с системой оптической стабилизации

В качестве однокристальной системы Sony Xperia XA Ultra была выбрана Mediatek Helio P10, кроме того, смартфон получил 3 ГБ оперативной и 16 ГБ флэш-памяти, которую можно дополнить при помощи карт памяти формата microSD емкостью до 200 ГБ.

Обе камеры оснащены светодиодной вспышкой, основная получила датчик изображения Sony Exmor RS разрешением 21,5 Мп и гибридный автофокус. Фронтальная камера с датчиким Sony Exmor R разрешением 16 Мп получила систему оптической стабилизации, а также возможность делать снимки при помощи жестов.

Шестидюймовый смартфон Sony Xperia XA Ultra получил фронтальную камеру с системой оптической стабилизации

Производитель утверждает, что при нормальном режиме использования заряда будет хватать на два дня. Если же зарядить телефон в течение 10 минут, то он сможет проработать до 5,5 часов

Работает устройство под управлением Android 6.0.1 Marshmallow, начало продаж ожидается в июле, цена пока не сообщается.

/17 мая, 08:08/ автор: Юрий Гитин (iXBT.com) сайт: www.ixbt.com

Представлена системная плата MSI X99A Gaming Pro Carbon, по словам производителя ставшая первой моделью с колодками для подключения четырех фронтальных разъемов USB 3.1 Type-C. К любопытным особенностям можно отнести и порт U.2, предназначенный для высокоскоростных SSD c поддержкой NVMe.

Если у владельца платы MSI X99A Gaming Pro Carbon нет светодиодной ленты, то его выручит встроенная подсветка

Новая плата получила аудиосистему, скрывающуюся под названием Audio Boost 3. В данном случае это подразумевает использование кодека Realtek ALC1150 с выходом S/PDIF, позолоченные аудиовыходы, разводку аудиотракта раздельно от других систем, два ОУ TI OPA1652 для выхода на наушники и заточенные для этих целей электролитические конденсаторы Nippon Chemi-Con.

Сетевой контроллер Intel i218 заведует одним портом Gigabit Ethernet, его использование должно дополнительно снизить нагрузку на ЦП, приоритезацию трафика можно поручить утилите MSI Gaming LAN Manager. Предусмотрена защита от электростатических разрядов (до 15 кВ), о чем пользователю будет непрерывно напоминать красный светодиод, встроенный в порт Ethernet.

Если у владельца платы MSI X99A Gaming Pro Carbon нет светодиодной ленты, то его выручит встроенная подсветка

Радиаторы системы питания и чипсета, кожух аудиотракта и интерфейсной панели оснащены независимой разноцветной светодиодной подсветкой, эффекты которой можно настраивать не только сидя за ПК, но и вдали от дома, используя приложение Mystic Light APP для мобильных устройств. Можно подключить и дополнительную ленту длиной до 2 м с RGB-светодиодами типоразмера 5050, напряжением 12 В.

Если у владельца платы MSI X99A Gaming Pro Carbon нет светодиодной ленты, то его выручит встроенная подсветка

Плата MSI X99A Gaming Pro Carbon основана на чипсете Intel X99, восемь слотов DDR4 объединены в четыре канала, поддерживают объем до 128 ГБ и частоту до 3466 МГц. Есть четыре слота PCIe 3.0 x16, один из которых делит линии с портами U.2 и M.2, также есть два слота PCIe 2.0 x1. Распаяны десять портов SATA 6 Гбит/с, шесть из которых поддерживают создание массивов RAID 0, 1, 5 и 10. Пять портов USB 3.1 Gen1 и восемь USB 2.0 подключены к чипсету, контроллер ASMedia ASM1142 заведует двумя портами USB 3.1 Gen2, контроллер VIA VL805 поддерживает еще четыре USB 3.1 Gen1. Цена новинки не сообщалась.

/17 мая, 07:50/ автор: MPAK (iXBT.com) сайт: www.ixbt.com

Из крупных китайских производителей пока лишь ZTE удалось закрепиться на рынке смартфонов США. Остальные производители либо ещё вовсе не вышли на этот рынок, либо только делают первые шаги.

К примеру, Xiaomi открыла в этой стране свой онлайн-магазин, но смартфонов там пока приобрести нельзя. Meizu также собралась заявить о себе в США, и также пока без выхода на рынок смартфонов.

Первым продуктом Meizu на американском рынке может стать Gravity — беспроводная акустическая система (АС) с оригинальным дизайном. Причём в данном случае именно «может стать», так как Gravity — пока лишь проект на платформе Indiegogo. Правда, судя по комментариям главы компании, Meizu выпустит свою новинку и в случае, если сбор средств завершится неудачей. На данный момент из 100 000 долларов, которые нужны компании, собрано более 11 000, но кампания продлится ещё месяц.

Meizu собирает на акустическую систему Gravity деньги на Indiegogo

Итак, лучше всего оценить Gravity можно благодаря видео.

Как можно видеть, АС сконструирована таким образом, что её центр тяжести сдвинут к одной из боковых граней, а прозрачная подставка создаёт ощущение, будто бы устройство парит в воздухе. По крайней мере, так задумывали создатели. При этом в верхней части Gravity есть будто бы продолжение этой прозрачной вставки, но эта часть выступает уже в роли проекционного экрана. То есть в то время, когда АС неактивна, это просто кусок прозрачного пластика, «оживающий» с включением системы.

Meizu собирает на акустическую систему Gravity деньги на Indiegogo

Сам корпус АС выполнен из металла. Внутри спрятаны два излучателя диаметром 1,25 дюйма и мощностью 20 Вт каждый, а также пара пассивных излучателей. Заявленный динамический диапазон — 70-20000 Гц. Подключение к источнику возможно посредством Wi-Fi, Bluetooth либо порта AUX. Также АС способна работать с такими сервисами как Spotify, Soundcloud, tunein, last.fm и прочими.

Meizu собирает на акустическую систему Gravity деньги на Indiegogo

Достаточно интересными выглядит и прочие параметры. К примеру, в основе Gravity лежит SoC Allwinner R16, которой в помощь предназначено 512 МБ оперативной памяти и 4 ГБ флэш-памяти. Используемый усилитель — TAS5754M. Система работает под управлением Android 4.4.2. Габариты равны 262 х 58 х 47 мм.

Meizu собирает на акустическую систему Gravity деньги на Indiegogo

За устройство в рамках кампании просят $200, хотя пока ещё есть ограниченные предложения за $170. Поставки должны начаться уже в декабре.

/17 мая, 07:45/ автор: Jin (iXBT.com) сайт: www.ixbt.com

В китайской социальной сети обсуждается новая информация о смартфоне Xiaomi с изогнутым дисплеем, появление которого на рынке должно состояться весной следующего года.

Лидером на рынке смартфонов с изогнутым дисплеем сегодня является Samsung, которая предлагает две успешные модели, Galaxy S7 Edge и Galaxy S6 Edge. Тем не менее, если верить источнику, Xiaomi сделала выбор в пользу компании LG Display, решение которой будет использовано в новом смартфоне компании. Разрешение панели не сообщается, известно лишь, что она будет выполнена по технологии OLED и иметь диагональ 5,7 дюйма.

Смартфон Xiaomi с изогнутым дисплеем ожидается весной 2017

Кроме того, ожидается, что смартфон получит цельнометаллический корпус, однокристальную систему Snapdragon 823, 6 ГБ оперативной памяти и сдвоенную основную камеру разрешением 12 или 13 Мп.

Задержка модели до весны следующего года объясняется тем, что LG пока что не наладила выпуск данных изогнутых панелей для смартфонов.

/17 мая, 07:26/ автор: Jin (iXBT.com) сайт: www.ixbt.com

В пятницу, 13 мая, Госдума РФ приняла в первом чтении «антитеррористический» пакет законопроектов, включая поправку в закон «О связи», согласно положениям которой «Операторы связи обязаны хранить на территории Российской Федерации в течение трех лет информацию о фактах приема, передачи, доставки и (или) обработки голосовой информации и текстовых сообщений, включая их содержание, а также изображения, звуки или иные сообщения пользователей услугами связи».

Ранее, как сообщают «Ведомости», экспертный совет при правительстве России после тщательного анализа поправок, внесенных депутатом Госдумы Ириной Яровой, назвал их технологически и экономически невозможными. Специалисты подсчитали, что суммарные затраты операторов могут составить 5,2 трлн руб., что составляет почти треть бюджета страны. Объем данных, которые придется хранить операторам, оценили в 157,5 эксабайт (157,5 млн ТБ), примерно в 100 тыс. раз больше, чем они хранят сегодня. В отчете присутствует прямая рекомендация исключить предложенные депутатами меры из законопроекта.

Операторов России хотят обязать хранить содержимое звонков в течение трех лет

Специалисты экспертной группы считают, что в данной области закон менять не нужно. Согласно нынешнему законодательству, операторы должны три года хранить информацию о фактах соединения, но без содержания голосовых и текстовых сообщений.

Заместитель главы Роскомнадзора Олег Иванов признал, что даже в случае принятия данного закона контролировать хранение операторами информации практически невозможно.

/17 мая, 07:15/ автор: MPAK (iXBT.com) сайт: www.ixbt.com

Компания HP продолжает пополнять линейку ноутбуков EliteBook. Новинка, появившаяся на сайте производителя, называется EliteBook 1030. Сейчас аппарат недоступен для заказа, но стоимость объявлена — от $1250.

Ноутбук HP EliteBook 1030 стоит от $1250

За эти деньги покупатель получит достаточно компактный мобильный ПК, заключённый в металлический корпус. Габариты составляют 309,9 х 210,8 х 15,7 мм при массе 1,18 кг. При этом устройство оснащено экраном диагональю 13,3 дюйма разрешением Full HD либо QHD+ и выделяется достаточно тонкими для этого сегмента рамками. Конечно, до Dell XPS 13 новинка HP по этому параметру не дотягивает.

Ноутбук HP EliteBook 1030 стоит от $1250

Сердцем служит процессор Intel Core M нового поколения. Это либо Core m5-6Y54, либо Core m7-6Y75. Также ноутбук оснащается 16 ГБ ОЗУ и SSD объёмом 128 либо 512 ГБ. Использование платформы Core M позволило создателям новинки обойтись без активной системы охлаждения. Набор портов представлен парой USB 3.0, а также по одному USB-C и HDMI. Аккумулятора, по обещаниям производителя, хватит для 13 часов работы. Также можно отметить наличие сканера отпечатков пальцев.

/17 мая, 07:08/ автор: Jin (iXBT.com) сайт: www.ixbt.com

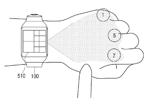
Как стало известно, компания Samsung Electronics запатентовала новый способ управления умными часами и другими электронными устройствами.

В патенте Samsung описан принципиально новый способ управления умными часами

Описанные в патенте умные часы могут сканировать и распознавать форму окружающей их поверхности, после чего использовать крошечные встроенные проекторы для того, чтобы транслировать пользовательский интерфейс на поверхность. Проецировать изображение можно будет также на предплечье и внешнюю сторону кисти или же размещать виртуальные кнопки прямо на пальцах пользователя. При этом устройство будет также оснащено набором фотосенсоров, которые будут точно «знать», куда именно нажимает пользователь.

В патенте Samsung описан принципиально новый способ управления умными часами

Наконец, авторы патента утверждают, что аналогичную технологию можно использовать в связке с гарнитурами дополненной и виртуальной реальности, а также различными компьютерами.

Напоминаем, далеко не все патенты затем находят реализацию в коммерческих продуктах.

/17 мая, 07:00/ автор: MPAK (iXBT.com) сайт: www.ixbt.com

Аналитики IDC решили более обширно оценить рынок носимой электроники по итогам первого квартала текущего года. В данном случае это заключается в том, что источник предоставил оценку рынка в целом, а также отдельно для «простой» носимой электроники, под которой подразумеваются различные трекеры активности и шагомеры, и для сегмента умных часов.

Итак, всего за квартал на рынок было поставлено 19,7 млн устройств сегмента носимой электроники. Это на 67,2% больше, нежели годом ранее.

IDC оценили рынок носимой электроники

Лидером рынка остаётся Fitbit, которой удалось продать 4,8 млн устройств, что соответствует росту 25,4%. При этом компания занимает 24,5% рынка. Второе место за Xiaomi. Китайский гигант, у которого в ассортименте лишь два трекера активности, реализовал 3,7 млн устройств (19% рынка), увеличив продажи на 41,8%. Замыкает почётную тройку лидеров Apple, которая продала 1,5 млн своих умных часов, заняв таким образом 7,5% рынка.

Далее разместились Garmin с 0,9 млн проданных устройств (рост на 27,8%) и 4,6% рынка, Samsung, продавшая 0,7 млн устройств (рост на 4,5%) и занявшая 3,6% рынка, а также BBK с такой же долей и таким же количеством реализованных продуктов.

Если говорить отдельно о сегменте трекеров активности, шагомеров и прочих простейших устройств носимой электроники, то таковых за квартал было поставлено 16,4 млн. Это на 65,1% больше, нежели годом ранее. Места распределились следующим образом.

  • Fitbit — 4,8 млн устройств, 29,4% рынка, рост на 25,4%;
  • Xiaomi — 3,7 млн устройств, 22,8% рынка, рост на 41,8%;
  • Garmin — 0,8 млн устройств, 5% рынка, рост на 36,5%;
  • BBK — 0,7 млн устройств, 4,3% рынка;
  • Lifesense — 0,7 млн устройст, 4,1% рынка.

Ну и места на рынке умных часов распределились так.

  • Apple — 1,5 млн устройств, 46% рынка;
  • Samsung — 0,7 млн устройств, 20,9% рынка, рост на 40,5%;
  • Motorola — 0,4 млн устройств, 10,9% рынка, рост на 98,2%;
  • Huawei — 0,2 млн устройств, 4,7% рынка;
  • Garmin — 0,1 млн устройст, 3% рынка, падение на 17,3%.

Всего за квартал было продано 3,2 млн умных часов, что на 100,2% больше аналогичного периода прошлого года. Как видно, различные трекеры активности пока гораздо популярнее умных часов. Одна Fitbit смогла продать намного больше своей продукции, нежели все игроки рынка умных часов вместе взятые.

/17 мая, 06:57/ автор: Jin (iXBT.com) сайт: www.ixbt.com

Месяц назад мы уже видели данное изображение, которое было обработано в стиле эскиза. Предполагалось, что на нем был запечатлен смартфон UMi Super, однако в итоге выяснилось, что он выглядит иначе.

Теперь же источник опубликовал более качественную версию данной фотографии, одновременно сообщив о том, что производитель готовит к выпуску новую флагманскую модель UMi Super Edge, которая действительно получит сдвоенную камеру с модулями, расположенными вертикально.

По слухам, к выходу готовится безрамочный смартфон UMi Super Edge с ОС Android 7.0

Объем оперативной памяти UMi Super Edge должен составить 6 ГБ, кроме того, сообщается о том, что дисплей AMOLED у данного смартфона будет отличаться отсутствием боковых рамок. Из коробки UMi Super Edge должен будет работать под управлением Android 7.0.

В продажу UMi Super Edge поступит осенью по цене около 300 долларов.

Поиск по сайту
Обратная связь
Разработчикам
Реклама на сайте

Политика конфиденциальности
Пользовательское соглашение

 

Filebox.ru каталог архив программного обеспечения для Windows, работает с 2003 года.
Copyright © 2003-2026 Filebox.ru All Rights Reserved.

Яндекс.Метрика