Лента технологий за 28/05/2016, Суббота - Filebox.ru  Программы | Новости | ТОП-100 программ | Статьи

Лента технологий за 28/05/2016, Суббота - Filebox.ru

Лента технологий | Подборка за 28 мая 2016 г. 00:00:00

/28 мая, 19:30/ автор: Dexter (iXBT.com) сайт: www.ixbt.com

Ассортимент мониторов компании MMD Monitors & Displays пополнился моделью BDM4001FW, которая своими характеристиками больше похожа на телевизор: диагональ ЖК-панели MVA составляет 39,56 дюйма, разрешение при этом — всего лишь Full HD. Впрочем, в этом нет ничего странного, так как специализация новинки узка — она предназначена для использования в составе цифровых вывесок.

Philips BDM4001FW

Заявленные яркость, контрастность и время отклика составляют, соответственно, 280 кд/кв.м, 5000:1 и 3 мс (GTG). Интересно, что монитор не имеет встроенной звуковой системы, а набор разъемов подключения выглядит скупо и несовременно — D-Sub и DVI-D.

Philips BDM4001FW

Устройство поддерживает ряд фирменных функций, SmartContrast и SmartImage, а также может быть укомплектовано сторонней подставкой c VESA-совместимым кронштейном.

Источник: Philips

/28 мая, 18:40/ автор: Dexter (iXBT.com) сайт: www.ixbt.com

Компания Jolla объявила о старте новой программы, ориентированной в первую очередь на разработчиков приложений для Sailfish OS. Участие в Sailfish Community Device Program дает им доступ к участию в вебинарах и возможность получения приглашений на мероприятия сообщества. А приятным бонусом для всех, успевших оформить подписку на программу, оказался новый смартфон — Jolla C, выпущенный ограниченной партией в 1000 экземпляров.

Jolla C

Jolla C работает под управлением ОС Sailfish 2.0, а аппаратной основой изделия выступила однокристальная платформа начального уровня Qualcomm Snapdragon 212. В конфигурацию этой SoC входит четырехъядерный процессор ARM Cortex-A7 частотой 1,3 ГГц, GPU Adreno 304 и модем X5 LTE (LTE Cat. 4). Объем оперативной памяти составляет 2 ГБ, флэш-памяти — 16 ГБ. Разумеется, присутствует слот для карточек памяти microSD.

В конфигурацию Jolla C вошел экран диагональю 5 дюймов разрешением 1280 х 720 точек, съемная аккумуляторная батарея емкостью 2500 мА·ч, камеры разрешением 2 и 8 Мп, два слота для карт SIM.

Jolla C

Габариты смартфона 142 х 72 х 9,6 мм, масса — 150 граммов.

Стоимость самого смартфона не называется, Jolla только раскрыла стоимость участия в Sailfish Community Device Program — 170 евро.

Источник: Jolla

/28 мая, 14:52/ автор: Accent (iXBT.com) сайт: www.ixbt.com

В сети появились тревожные новости относительно будущего компании Jawbone, известной, прежде всего, своими умными браслетами для фитнеса. Как утверждает один из источников, компания прекратила их выпуск и продала остатки готовой продукции одному из дистрибуторов.

Фитнес-браслет Jawbone

Кроме того, по информации другого источника, Jawbone ищет возможность продать бизнес, связанный с выпуском мобильных акустических систем. Устройство Jawbone Jambox было одним из первых в своей категории и достаточно успешным, но за последний год производитель не выпусти ни одной новой модели.

Возможно, в Jawbone оценили свои перспективы на рынке массовых фитнес-трекеров и решили сосредоточиться на специализированном изделии, на выпуск которого в январе удалось привлечь инвестиции в размере 165 млн долларов. К сожалению, представитель компании не стал давать комментарий источнику.

Источники: TechInsider, Fortune

/28 мая, 14:35/ автор: Accent (iXBT.com) сайт: www.ixbt.com

Компания Colorful Technology представила 3D-карту iGameGTX1080 X-TOP-8G, отличающуюся от референсного образца GeForce GTX 1080 системой охлаждения и повышенной макисмальной частотой GPU (до 1847 МГц против 1733 МГц у референсного образца).

Цена новинки — $649

По словам производителя, охладитель iGame-Modular Structure Design (i-MSD) имеет модульную конструкцию. Она, в частности, включает усиливающую пластину на тыльной стороне платы. Модульность позволяет менять эту пластину и кожух, не затрагивая другие функциональные элементы. Так пользователи могут придавать своим 3D-картам индивидуальные черты и добиваться гармоничного сочетания с другими компонентами системы. В перспективе производитель планирует выпуск дополнительных сменных модулей для i-MSD, расширяющих возможности Colorful iGameGTX1080 X-TOP-8G.

Цена новинки — $649

Другой особенностью изделия является настраиваемая светодиодная подсветка.

Цена новинки — $649.

Источник: Colorful

/28 мая, 14:01/ автор: Accent (iXBT.com) сайт: www.ixbt.com

На сайте коллективного финансирования Indiegogo идет сбор средств на выпуск беспроводной гарнитуры Pilot, которая даст возможность пользователю понимать речь на иностранном языке. Проект стартовал совсем недавно, но его авторам уже удалось привлечь более 1,5 млн долларов. Это в 20 больше первоначальной цели.

На выпуск гарнитуры-переводчика Pilot собрано более 1,5 млн долларов

Гарнитура «на лету» переводит слова и фразы, сказанные пользователем, и проговаривает их его собеседнику. Конечно, перевод выполняет не гарнитура, а смартфон с помощью специального приложения и сетевого подключения. Очевидно, если собеседник не владеет языком пользователя, для равноценного общения ему тоже понадобится Pilot, так что разработчики включили в комплект два «вкладыша». Кроме того, можно использовать смартфон в режиме громкой связи.

В наушнике с интерфейсом Bluetooth находится массив из двух микрофонов, схема шумоподавления и другие компоненты, включая аккумулятор, обеспечивающий работу электроники в течение 4-6 часов. Уточним, что Pilot и смартфон пытаются перевести не все звуки, окружающие пользователя, а только его речь.

На выпуск гарнитуры-переводчика Pilot собрано более 1,5 млн долларов

Первоначально приложение для Pilot будет поддерживать английский, испанский, французский, итальянский и португальский языки. В будущем список предполагается расширить, добавив, в том числе, немецкий и русский языки.

Взнос, позволяющий надеяться на получение гарнитуры-переводчика, равен 199 долларам. Можно выбрать красный, белый или черный вариант устройства. Разработчики рассчитывают начать отгрузку устройств в мае 2017 года.

Источник: Indiegogo

/28 мая, 13:59/ автор: Dexter (iXBT.com) сайт: www.ixbt.com

Компания Asus готовит к выпуску 15-дюймовый ноутбук Zenbook Flip UX560 (каталожный номер — UX560UA), который за счет большого угла вращения крышки способен принимать форму планшета. Подробностями об устройстве делится источник.

Asus Zenbook Flip UX560

Первое, что обращает на себя внимание во внешнем исполнении ноутбука — выпуклые петли. Будто две бочки разного диаметра поставили друг на друга. Хотя в том же ZenBook Flip UX360, представленном пару месяцев тому назад, используются совершенно обычные плоские петли.

Asus Zenbook Flip UX560

В конфигурацию Zenbook Flip UX560 входит процессор Intel Core i7-6500U (2,5-3,1 ГГц), 8 ГБ оперативной памяти (при максимуме ОЗУ 16 ГБ) и SSD объемом до 512 ГБ. Сенсорный дисплей IPS характеризуется диагональю 15,6 дюйма и разрешением Full HD.

Asus Zenbook Flip UX560

Также лэптоп получил клавиатуру с подсветкой, звуковую систему Bang & Olufsen ICEpower, адаптеры Wi-Fi 802.11ac и Bluetooth 4.1, web-камеру разрешением 1 Мп, слот для карт microSD, видеовыход HDMI, три порта USB 3.0 и один USB 3.1 Type-C.

Asus Zenbook Flip UX560

Габариты и масса Asus Zenbook Flip UX560 — 380 x 254 x 18 мм и 2,2 кг соответственно. В устройстве используется четырехъячеечная аккумуляторная батарея емкостью 50 Вт·ч.

Asus Zenbook Flip UX560

Ожидается, что официальный анонс Zenbook Flip UX560 состоится на специальном мероприятии Asus Zenvolution 30 мая в преддверии открытия выставки Computex 2016. Тогда же будет объявлена и стоимость устройства.

Источник: Notebook Italy

/28 мая, 12:20/ автор: Dexter (iXBT.com) сайт: www.ixbt.com

Компания ECS подготовила к выставке Computex 2016 новую системную плату для процессоров Intel Skylake — она получила обозначение Z170-Lightsaber. На текущий момент устройство стало флагманским решением серии системных плат ECS Leet.

ECS Z170-Lightsaber

ECS Z170-Lightsaber получила продвинутую подсистему питания, которая насчитывает 14 фаз. Для услады глаз любителя моддинга предусмотрена полоска из светодиодов, отделяющая звуковую подсистему от основной части платы. Она может светиться одним из семи цветов. А для удобства энтузиастов производитель разместил на текстолите кнопки включения и перезагрузки, доступа в BIOS, обновления и резервного копирования настроек BIOS, индикатор кодов POST. На интерфейсную панель вынесена кнопка обнуления BIOS.

ECS Z170-Lightsaber

ECS Z170-Lightsaber располагает четырьмя слотами для модулей оперативной памяти DDR4, тремя слотами PCI Express x16 и четырьмя PCI Express x1, шестью SATA 6 Гбит/с и одним SATA Express. Поддерживается также установка SSD M.2 — предусмотрен соответствующий разъем, подключенный к двум линиям шины PCI Express.

На заднюю панель платы выведены видеовыходы HDMI и DisplayPort, а также два порта USB 3.1.

Одновременно с материнской платой ECS анонсировала мини-ПК LIVA Pro, в основе которого лежит системная плата типоразмера mini-STX. Подробностей о новинке пока мало. Так, разработчики сообщили, что устройство поддерживает процессоры Intel Core последнего поколения и оперативную память SO-DIMM DDR4 объемом до 32 ГБ, HDD или SSD типоразмера 2,5 дюйма. Среди интерфейсных разъемов компьютера — HDMI, DisplayPort и USB 3.0 Type-C.

ECS LIVA Pro


ECS LIVA Pro

Больше подробностей о LIVA Pro появится на следующей неделе.

Источник: ECS

/28 мая, 11:27/ автор: Accent (iXBT.com) сайт: www.ixbt.com

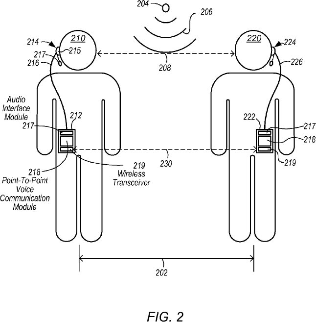
В базе данных американского патентного бюро появилась заявка на патент №20160150575, поданная Apple в ноябре 2014 года. В ней описана голосовая связь по подключению «точка-точка» в беспроводной динамической сети (ad hoc).

Заявка была подана Apple в ноябре 2014 года

По замыслу изобретателей, устройство с беспроводным интерфейсом, способное подключаться к беспроводной динамической сети (такую сеть еще называют децентрализованной, самоорганизующейся или сетью ad hoc), может использовать подключение для обмена голосовыми данными с другим совместимым устройством.

Заявка была подана Apple в ноябре 2014 года

Пользователь сможет выбирать собеседника на экране своего устройства, где в графической форме будут представлены доступные варианты.

Заявка была подана Apple в ноябре 2014 года

Для взаимодействия с устройством также могут использоваться голосовые команды. Устройство может быть укомплектовано гарнитурой или даже несколькими гарнитурами, которые могут работать от одного источника или использоваться для связи между несколькими пользователями.

Источник: USPTO

/28 мая, 10:20/ автор: Jin (iXBT.com) сайт: www.ixbt.com

В базе данных китайского регулятора TENAA опубликовали характеристики нового смартфона Xiaomi, который получил кодовый номер 2016030. Источники считают, что эта модель станет преемником смартфона Xiaomi Redmi 3 Pro, на который она очень похожа внешне.

Стали известны характеристики преемника смартфона Xiaomi Redmi 3 Pro

Если мы ничего не упустили из виду, то главным отличием новой модели станет представленная в начале года однокристальная система Snapdragon 435, восемь ядер Cortex-A53 которой работают на частоте 1,4 ГГц. Данная SoC должна заменить на рынке серию Snapdragon 600 (в Xiaomi Redmi 3 Pro используется Snapdragon 616).

Остальные характеристики довольно стандартны для бюджетного устройства: пятидюймовый дисплей разрешением 1280 х 720 пикселей, 2 ГБ оперативной и 16 ГБ флэш-памяти, слот для карт microSD, камеры разрешением 13 и 5 Мп, аккумулятор емкостью 4000 мА•ч и дактилоскопический датчик.

Стали известны характеристики преемника смартфона Xiaomi Redmi 3 Pro

Смартфон работает под управлением Android 6.0.1.

/28 мая, 10:15/ автор: Accent (iXBT.com) сайт: www.ixbt.com

Компания Gigabyte объявила о выпуске 3D-карты GeForce GTX 1080 G1 Gaming (GV-N1080G1 Gaming-8GD).

3D-карта GeForce GTX 1080 G1 Gaming (GV-N1080G1 Gaming-8GD) украшена полноцветной подсветкой логотипа

Карта оснащена системой охлаждения WindForce 3X, конструкция которой включает три медные тепловые трубки, непосредственно контактирующие с GPU, и три вентилятора. Как утверждается, форма лопастей позволяет обеспечить высокую эффективность при низком уровне шума. Более того, функция 3D Active Fan включает вентиляторы только при необходимости, так что под небольшой нагрузкой изделие работает практически бесшумно. Светодиодные индикаторы позволяют сразу увидеть, вращаются ли вентиляторы в данный момент.

3D-карта GeForce GTX 1080 G1 Gaming (GV-N1080G1 Gaming-8GD) украшена полноцветной подсветкой логотипа

Отдельного упоминания в описании новинки удостоились настраиваемая полноцветная подсветка логотипа, усилительная пластина на тыльной стороне платы, функция быстрого разгона Xtreme Engine, а также восьмифазная подсистема питания. Для дополнительного питания на плате есть один восьмиконтактный разъем.

3D-карта GeForce GTX 1080 G1 Gaming (GV-N1080G1 Gaming-8GD) украшена полноцветной подсветкой логотипа

Интересно, что частоты GPU и памяти в описании 3D-карты на сайте производителя не указаны. Напомним референсные значения: базовая частота GPU — 1607 МГц, повышенная — 1733 МГц, эффективная частота памяти GDDR5X — 10 ГГц. Объем памяти равен 8 ГБ, а подключена она к 256-разрядной шине.

3D-карта GeForce GTX 1080 G1 Gaming (GV-N1080G1 Gaming-8GD) украшена полноцветной подсветкой логотипа

На монтажной планке два карты расположен один выход DVI-D, один HDMI 2.0b и три выхода DisplayPort 1.4. Данные о цене новинки производитель не приводит.

Источник: Gigabyte

/28 мая, 09:50/ автор: Jin (iXBT.com) сайт: www.ixbt.com

Компания VKworld сообщила о поступлении в продажу нового смартфона VKworld T3, который при цене всего 80 долларов претендует на звание рекордсмена. Производитель заявляет, что устройство оснащено самым большим громкоговорителем среди всех доступных на рынке смартфонов.

VKworld T3 за $80 позиционируется как смартфон с самым большим и громким динамиком

Размеры динамика VKworld T3 составляют 35 х 25 мм, по словам представителей VKworld, он обеспечивает самый громкий звук при высоком качестве воспроизведения. Если, например, iPhone 6s и HTC One M9 имеют динамики громкостью около 78 и 93 дБ соответственно, то динамик VKworld T3 выдает 146 дБ. При этом динамический диапазон громкоговорителей этих моделей составляет 84, 99 и 150 дБ соответственно.

VKworld T3 оснащен пятидюймовым дисплеем с разрешением 1280 х 720 пикселей, который покрыт защитным стеклом 2.5D, четырехъядерной однокристальной системой MediaTek MT6735, 2 ГБ оперативной и 16 ГБ флэш-памяти.

VKworld T3 за $80 позиционируется как смартфон с самым большим и громким динамиком

Обе камеры устройства разрешением 13 и 5 Мп оснащены светодиодной вспышкой, емкость аккумулятора равна 2500 мА•ч.

/28 мая, 09:37/ автор: Accent (iXBT.com) сайт: www.ixbt.com

В базе данных TENAA появился смартфон Samsung Galaxy J3 (2017), что дает возможность составить представление об основных характеристиках устройства и его внешнем виде.

Смартфон Samsung Galaxy J3 (2017) оснащен дисплеем Super AMOLED размером 5,1 дюйма

Устройство начального уровня с поддержкой LTE будет предложено в двух вариантах: SM-J3110 — для мирового рынка; SM-J3119 — для оператора China Telecom. Интересно, что первый получит экран разрешением 1280 х 720 пикселей, а второй — 1920 х 1080 пикселей. Размер экрана в обоих случаях равен 5,1 дюйма, тип экрана — Super AMOLED. Совпадают и другие характеристики устройств.

Смартфон Samsung Galaxy J3 (2017) оснащен дисплеем Super AMOLED размером 5,1 дюйма

В частности, основой SM-J3110 и SM-J3119 служит неназванная однокристальная система с четырехъядерным процессором, работающим на частоте 1,2 ГГц под управлением Android 5.1 Lollipop. Объем оперативной памяти равен 1 ГБ, флэш-памяти — 16 ГБ. Есть слот microSD.

Смартфон Samsung Galaxy J3 (2017) оснащен дисплеем Super AMOLED размером 5,1 дюйма

Оснащение аппарата включает камеры разрешением 8 и 5 Мп. Емкость аккумулятора равна 2600 мА∙ч.

Смартфон Samsung Galaxy J3 (2017) оснащен дисплеем Super AMOLED размером 5,1 дюйма

При габаритах 142,23 × 71,3 × 8 мм устройство весит 138 г.

Источники: TENAA, TENAA

/28 мая, 09:32/ автор: Jin (iXBT.com) сайт: www.ixbt.com

В ходе выставки Computex 2016, которая откроется на следующей неделе, компания Acer намеревается представить несколько новинок, включая безрамочный монитор Acer BM320.

Монитор Acer BM320 получил высококачественный дисплей диагональю 32 дюйма с разрешением 3840 x 2160 пикселей, который отличается точной цветопередачей. Производитель заявляет, что новинка обеспечивает охват 100% цветового пространства Adobe RGB, это должны оценить фотографы и дизайнеры. Кроме того, Acer BM320 охватывает 100% цветового пространства Rec. 709 и 90% DCI-P3, что понравится профессионалам, работающим с видеоконтентом. Функция Uniformity Compensation помогает снизить неравномерность яркости и цвета по всему экрану.

Acer BM320 является еще одним монитором, который выполнен в дизайне ZeroFrame. Точная толщина рамок по бокам и в верхней части дисплея не сообщается, однако производитель утверждает, что практически полное их отсутствие способствует формированию конфигураций из нескольких мониторов.

Безрамочный монитор Acer BM320 охватывает 100% цветового пространства Adobe RGB и Rec. 709

Подставка ErgoStand обеспечивает несколько степеней свободы, позволяя настроить положение монитора под нужды конкретного пользователя.

Остальные характеристики будут озвучены на Computex 2016.

/28 мая, 09:17/ автор: Jin (iXBT.com) сайт: www.ixbt.com

В ходе очередного раунда финансирования Snapchat привлекла инвестиции на сумму 1,8 млрд долларов, после чего рыночная стоимость компании, по ценке специалистов, составляет от 18 до 20 млрд долларов.

Инвесторы, среди которых оказались General Atlantic, Sequoia Capital, T. Rowe Price, Lone Pine и Fidelity, продолжает выражать интерес к Snapchat, несмотря на то, что пока что компания не получает прибыль. Возможно, причина заключается в уверенном темпе роста дохода. Только в прошлом году квартальная выручка Snapchat подскочила с 4 до 33 млн долларов, в итоге за 2015 год компания получила доход 59 млн долларов. В текущем календарном году ожидается, что доход компании составит 250-350 млн долларов. А в 2017 году Snapchat рассчитывает на рост оборота до 1 млрд долларов.

Snapchat рассчитывает за пару лет увеличить доход с $60 млн до $1 млрд

Еще одной причиной называется рост пользовательской базы одноименного сервиса. Если в конце 2014 года Snapchat пользовались 74 млн человек, то через год база активных пользователей увеличилась до 110 млн человек.

В 2013 году Facebook пыталась купить Snapchat за 3 млрд долларов, но предложение было отвергнуто.

/28 мая, 08:52/ автор: Accent (iXBT.com) сайт: www.ixbt.com

Компания Nvidia завершила эту неделю рассылкой напоминания о начале продаж 3D-карты Nvidia GeForce GTX 1080 Founders Edition.

Напомним, анонсированное в начале месяца изделие стоимостью $699 по производительности превосходит две 3D-карты GeForce GTX 980 в режиме SLI.

Видеокарта Nvidia GeForce GTX 1080, оцененная в $599, опережает по производительности две GeForce GTX 980 в режиме SLI

О том, что продажи Nvidia GeForce GTX 1080 стартуют 27 мая, было известно в день анонса. Новой информацией являются цены для России и Украины.

Итак, рекомендованная цена Nvidia GeForce GTX 1080 Founders Edition для России составляет 54 990 рублей, для Украины — 21490 гривен.

Модель Nvidia GeForce GTX 1070 Founders Edition будет доступна в продаже, начиная с 10 июня. Рекомендованная цена Nvidia GeForce GTX 1070 Founders Edition для России составляет 34990 рублей, для Украины — 13690 гривен.

Производитель отмечает, что драйверах уже появилась поддержка GPU, используемых в 3D-картах GeForce GTX 10X0. Кроме того, свежая версия драйвера содержит профили для игр Overwatch, обновлений War Thunder и World of Tanks.

Источник: Nvidia

/28 мая, 08:44/ автор: Jin (iXBT.com) сайт: www.ixbt.com

Компания Huawei является одним из немногих китайских производителей, которые нацелены на средний и высокий ценовой сегменты, не скрывая своего желания конкурировать с Apple и Samsung, в итоге опередив эти компании по объемам поставок смартфонов.

Однако это не значит, что компания не будет выпускать бюджетные смартфоны. Согласно информации, которая появилась в базе данных TENAA, к выпуску готовятся два бюджетных устройства, Huawei Honor 5A и 5A Plus.

В базе данных TENAA замечены бюджетные смартфоны Huawei Honor 5A и 5A Plus В базе данных TENAA замечены бюджетные смартфоны Huawei Honor 5A и 5A Plus

Huawei Honor 5A получил пятидюймовый дисплей диагональю 1280 х 720 пикселей, четырехъядерную однокристальную систему с частотой 1,3 ГГц, 2 ГБ оперативной и 16 ГБ флэш-памяти. Камера смартфона имеет разрешение 13 Мп, тогда как прошлогодняя модель Honor 4A была оснащена восьмимегапиксельной камерой. Фронтальная камера разрешением 2 Мп осталась неизменной. Емкость аккумулятора составляет 2200 мА•ч, смартфон работает в сетях четвертого поколения под управлением Android 5.1 Lollipop.

Huawei Honor 5A Plus отличается увеличенной до 5,5 дюйма диагональю дисплея того же разрешения, восьмиядерной SoC с частотой 1,8 ГГц, аккумулятором емкостью 3000 мА•ч и фронтальной камерой разрешением 8 Мп. Основная камера, а также объемы памяти у этой модели такие же, как у Honor 5A.

В базе данных TENAA замечены бюджетные смартфоны Huawei Honor 5A и 5A Plus В базе данных TENAA замечены бюджетные смартфоны Huawei Honor 5A и 5A Plus

Ожидается, что цена Huawei Honor 5A составит около 100 долларов.

/28 мая, 08:39/ автор: Accent (iXBT.com) сайт: www.ixbt.com

Источник опубликовал изображение, на котором, как утверждается, запечатлен новый смартфон Lenovo Droid в трех вариантах. Анонс этого устройства ожидается 9 июля.

Анонс нового смартфона Lenovo Droid ожидается 9 июля

Кроме того, опубликовано изображение трех сменных накладок на заднюю крышку аппарата (MotoMods). Каждая из них выполняет определенную функцию. В левую накладку встроен проектор, в среднюю — акустическая система JBL, в правую — камера Hasselblad.

Анонс нового смартфона Lenovo Droid ожидается 9 июля

О цене смартфона и накладок пока данных нет.

Источник: @evleaks

/28 мая, 08:30/ автор: MPAK (iXBT.com) сайт: www.ixbt.com

Нам уже известны все параметры видеокарты GeForce GTX 1070 и даже её ориентировочный уровень производительности. Вчера в Сети появились фотографии печатной платы этого графического ускорителя.

Появились фото печатной платы видеокарты GeForce GTX 1070

С фотографиями, а заодно и возможностями, видеокарты GeForce GTX 1080 можно ознакомиться из нашего обзора. Там же есть фото печатной платы флагманской 3D-карты. Нет необходимости долго рассматривать решения, чтобы понять, что они используют одну и ту же печатную плату, только у младшей модели не распаяна часть элементов. На изображении ниже обведены места, которые отличаются у устройств.

Появились фото печатной платы видеокарты GeForce GTX 1070

Напомним, GeForce GTX 1070 получит 1920 ядер CUDA и 8 ГБ памяти GDDR5.

/28 мая, 08:00/ автор: MPAK (iXBT.com) сайт: www.ixbt.com

Никого уже давно нельзя удивить смартфонами, в названии которых имеется слово Mini. Причём далеко не всегда это означает, что аппарат компактный. Но вот использование этого слова в названии услуги или сервиса выглядит несколько странным.

Между тем, это не помешало компании Samsung использовать имя Samsung Pay Mini. Из названия ясно, что речь о платёжном сервисе, но вот совершенно непонятно, что же в нём изменили.

Платёжный сервис Samsung Pay Mini ориентирован на онлайн-платежи

По сути, Samsung Pay Mini практически не имеет отношения к оригинальному сервису. Во-первых, он нацелен на работу со смартфонами других производителей, включая iPhone. Во-вторых, новый сервис ориентирован на онлайн-платежи, а не на оплату товаров в магазине. Samsung утверждает, что доля онлайн-платежей в сервисе Samsung Pay составляет 20% и компания рассчитывает на большее. Сервис Mini как раз должен обеспечить приток новых пользователей, так как для его использования достаточно лишь установить соответствующее приложение и привязать к нему банковскую карту. К тому же, работать приложение должно на любом современном смартфоне, ибо ему не требуется наличие модуля NFC или MST.

/28 мая, 07:30/ автор: MPAK (iXBT.com) сайт: www.ixbt.com

Как сообщают источники, компания Xiaomi пополнила ассортимент настольной лампой Mi Smart LED стоимостью $26.

Xiaomi представила светодиодную настольную лампу Mi Smart LED

Xiaomi представила светодиодную настольную лампу Mi Smart LED

Из названия ясно, что устройство оснащёно светодиодным источником света. Подобные пока не очень распространены на рынке из-за достаточно высокой стоимости. К примеру, можно вспомнить Dyson CSYS, за которую просят до $900.

Xiaomi представила светодиодную настольную лампу Mi Smart LED

Xiaomi представила светодиодную настольную лампу Mi Smart LED

Стоимость новинки Xiaomi вполне сопоставима с обычными настольными лампами. Устройство имеет четыре режима работы: режим фокусировки, режим чтения, детский режим и режим для работы за компьютером. Кроме этого, ПО позволяет регулировать цветовую температуру и яркость лампы, так как новинка, что тоже ясно из названия, ещё и умная.

/28 мая, 07:00/ автор: MPAK (iXBT.com) сайт: www.ixbt.com

Спор Google и Oralce, касающийся ОС Android, длится уже не один год. Недавно стало известно, что стороны не смогли договориться, что привело к очередному судебному разбирательству.

И оно завершилось победой Google. Суд решил, что поисковый гигант может без всяких лицензионных отчислений использовать Java согласно положению о добросовестном использовании, являющимся частью Закона об Авторском праве.

Суд признал Google невиновной в нарушении патентов Oracle

Напомним, Oracle оценивала ущерб, нанесённый нарушением авторских прав, более чем в 9 млрд долларов. При подсчёте учитывался 21 млрд долларов прибыли Google с продаж смартфонов с ОС Android за всё время.

Поиск по сайту
Обратная связь
Разработчикам
Реклама на сайте

Политика конфиденциальности
Пользовательское соглашение

 

Filebox.ru каталог архив программного обеспечения для Windows, работает с 2003 года.
Copyright © 2003-2026 Filebox.ru All Rights Reserved.

Яндекс.Метрика