Apple запатентовала смартфон со сгибающимся в обоих направлениях дисплеем : Лента технологий : Filebox.ru новостные ленты, мобильные технологии и интернет  Программы | Новости | ТОП-100 программ | Статьи

Apple запатентовала смартфон со сгибающимся в обоих направлениях дисплеем : Лента технологий : Filebox.ru новостные ленты, мобильные технологии и интернет
23 ноя 2016, 12:34г. автор Jin (iXBT.com) сайт www.ixbt.com

Apple запатентовала смартфон со сгибающимся в обоих направлениях дисплеем

Как стало известно, компания Apple подала в патентное ведомство США (U.S. Patent and Trademark Office, USPTO) документы, описывающие мобильное устройство со сгибающимся дисплеем.

По задумке дизайнеров, в верхней части такой «раскладушки» могут располагаться камеры, контроллер дисплея, громкоговоритель и датчик освещенности. Нижняя часть складывающегося корпуса может включать однокристальную систему, микрофон, а также вибромотор и прочие комплектующие, характерные для смартфонов.

Apple запатентовала смартфон со сгибающимся в обоих направлениях дисплеем

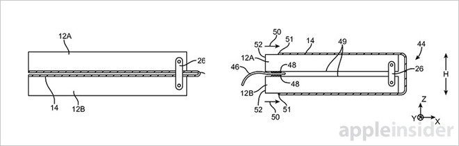
Части смартфона соединяются друг с другом при помощи сложного шарнирного механизма, который позволяет складывать смартфон в двух направлениях. Первый вариант, традиционный для «раскладушек», предназначен для режима ожидания, когда дисплеи спрятаны и защищены. Также предусмотрен вариант обратного раскрытия, когда вы получаете устройство с дисплеями, расположенными с обеих его сторон (как YotaPhone).

Apple запатентовала смартфон со сгибающимся в обоих направлениях дисплеем

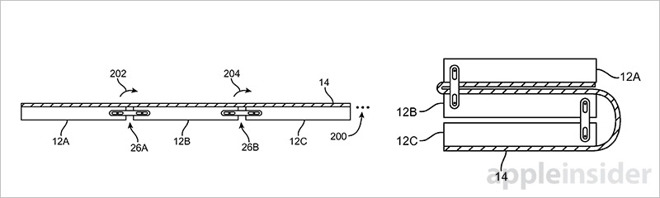
Наконец, в патенте описано устройство, состоящее их трех частей с двумя шарнирами, для которого также можно придумать различные сценарии использования.

Смотри так же другие новости из Лента технологий




Поиск по сайту
Обратная связь
Разработчикам
Реклама на сайте

Политика конфиденциальности
Пользовательское соглашение

 

Filebox.ru каталог архив программного обеспечения для Windows, работает с 2003 года.
Copyright © 2003-2026 Filebox.ru All Rights Reserved.

Яндекс.Метрика