Лента технологий за 14/02/2017, Вторник - Filebox.ru  Программы | Новости | ТОП-100 программ | Статьи

Лента технологий за 14/02/2017, Вторник - Filebox.ru

Лента технологий | Подборка за 14 февраля 2017 г. 00:00:00

/14 фев, 21:18/ автор: Jin (iXBT.com) сайт: www.ixbt.com

Испанский интернет-магазин Phone House создал страничку для смартфона Huawei P10 Plus, отметив, что он будет продаваться по цене 799 евро.

Ранее сообщалось, что Huawei P10 получит 4 ГБ оперативной памяти, а старшая версия Huawei P10 Plus будет оснащена 4 или 6 ГБ оперативной памяти. Если верить источнику, смартфон Huawei P10 Plus получит целых 8 ГБ ОЗУ. Там же упоминаются 512 ГБ доступного пространства, однако в данном случае речь, скорее всего, идет о поддерживаемых картах памяти.

По предварительной информации, Huawei P10 Plus получит однокристальную систему Kirin 960, дисплей диагональю 5,5 дюйма разрешением 2560 x 1440 пикселей, сдвоенную камеру разрешением 12 Мп и Android 7.0 Nougat.

Смартфону Huawei P10 Plus приписывают 8 ГБ ОЗУ

Утром мы публиковали первый рекламный ролик смартфона Huawei P10.

/14 фев, 19:10/ автор: MPAK (iXBT.com) сайт: www.ixbt.com

На прошлогодней выставке CES на одном из стендов можно было увидеть занятное устройство под названием Ehang 184. Это первый в мире пассажирский дрон, предназначенный для транспортировки одного человека.

Можно было подумать, что такой аппарат будет добираться до серийного производства и запуска в эксплуатацию много лет, но прокатиться на дроне можно будет уже летом. Только для этого нужно будет оказаться в Дубае.

Летом в Дубае начнут курсировать пассажирские дроны Ehang

Подробностей немного, но сообщается, что в крупнейшем городе ОАЭ эти дроны начнут выполнять функцию летающего беспилотного такси уже в июле. Будет ли это полноценный сервис или же пока пилотный проект, неясно.

Дрон Ehang 184 способен транспортировать одного человека массой не более 100 кг и его небольшую поклажу. Суммарная мощность электромоторов в 142 л.с. позволяет аппарату разгоняться до скорости более 100 км/ч. Заряда аккумуляторов должно хватить на 50 км пути. Остаётся надеяться, что дроны окажутся надёжными и безопасными. Тут можно отметить, что эти аппараты в прошлом году прошли испытания в Неваде.

/14 фев, 18:54/ автор: Accent (iXBT.com) сайт: www.ixbt.com

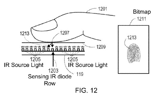
Сегодня американское патентное бюро выдало компании Apple патент №9570002. В нем описан дисплей с миниатюрными светодиодами для излучения света и инфракрасными фотодиодами для сенсорного ввода.

Патент №9570002 выдан USPTO сегодня

Дисплей включает элементы для вывода изображения в виде субпикселей. Управляющие ими цепи также обеспечивают регистрацию сигнала фотодиодов. Заявку на патент подала в 2014 году компания LuxVue, в том же году купленная Apple.

По замыслу изобретателей, запатентованная технология может найти применение в дисплеях для мобильных и носимых устройств, а также в персональных компьютерах, мониторах, телевизорах и камерах.

Источник: USPTO

/14 фев, 18:52/ автор: MPAK (iXBT.com) сайт: www.ixbt.com

Компания Samsung объявила о запуске в Сан-Паулу (Бразилия) проекта Samsung Design Latin America. В рамках этой инициативы корейский гигант будет проводить опросы потребителей по всему региону, чтобы получить представление об их потребностях и затем использовать эту информацию для разработки продуктов различных категорий.

Причём Samsung уточняет, что сбор информации о потребностях потребителей местного региона может привести не только к выпуску адаптированных соответствующим образом продуктов, но и полностью уникальных решений.

Проще говоря, на рынках Латинской Америки в итоге смогут появляться смартфоны, телевизоры, стиральные машины и прочая техника, которой не будет больше ни на каких рынках.

Samsung хочет знать больше о потребностях рядовых пользователей

В планах команды проекта опросы не только обычных потребителей, но и так называемых «экстремальных пользователей». К этой категории относятся, к примеру, шеф-повара.

Samsung утверждает, что она хочет сделать больше, чем просто инновации ради инноваций. Компания стремится производить новые решения, которые смогут очаровать потребителей и оказать положительное влияние на их повседневную жизнь.

/14 фев, 18:37/ автор: Accent (iXBT.com) сайт: www.ixbt.com

Компания Sony Mobile напомнила, что двумя составляющими здорового образа жизни являются физические упражнения и правильное питание. Помочь пользователю придерживаться сбалансированной диеты призвано новое мобильное приложение, созданное специалистами Sony.

Чтобы с его помощью оценить калорийность блюда, достаточно сфотографировать последнее. Программа Meal Image Analysis распознает блюда и показывает их питательные свойства.

Программа может вырабатывать рекомендации относительно диеты

Основываясь на персональных целях пользователя, его истории и других данных, программа может вырабатывать рекомендации относительно диеты.

Пока программа доступна только в Японии, в рамках решения Work Performance Plus, помогающего предприятиям организовать правильное питание сотрудников.

Источник: Sony

/14 фев, 18:08/ автор: MPAK (iXBT.com) сайт: www.ixbt.com

Недавно мы узнали, что Toshiba собирается выделить полупроводниковый бизнес в отдельную компанию и продать её часть. Такая необходимость у компании появилась из-за огромных убытков в бизнесе, связанном с ядерной энергетикой.

Как сообщают источники, японский гигант, вероятно, объявит о чистом убытке в размере около 3,5 млрд долларов по итогам девяти месяцев с апреля по декабрь 2016 года. Это тоже будет обусловлено списанием 5,26-6,14 млрд долларов в ядерном бизнесе, которое связано с обесцениванием гудвилла (деловой репутации).

Чистый убыток Toshiba по итогам девяти месяцев составит 3,5 млрд долларов

Из-за этой ситуации собственный капитал Toshiba может стать отрицательным, что ещё больше усугубит положение компании. Также в связи с проблемами компания отсрочила публикацию очередного финансового отчёта.

/14 фев, 17:48/ автор: MPAK (iXBT.com) сайт: www.ixbt.com

Компания HTC опубликовала отчёт, содержащий информацию о результатах четвёртого квартала 2016 финансового года и всего года в целом.

Выручка по итогам квартала составила примерно 720 млн долларов. Для сравнения, годом ранее она составляла 836 млн. По итогам всего года HTC выручила 3,35 млрд долларов, тогда как в 2015 году показатель был равен 4,2 млрд.

HTC отчиталась за 2016 год

Но важнее то, что компания всё ещё теряет деньги. Операционные убытки по итогам последней четверти года составили 117 млн долларов, а по итогам всего года — 340 млн. Правда, показатели соответствующих периодов прошлого года в обоих случаях были ещё хуже.

/14 фев, 17:40/ автор: Accent (iXBT.com) сайт: www.ixbt.com

Компания Huawei показала, в каких цветовых вариантах будет предложен смартфон P10. Всего планируется выпуск трех вариантов, которые несколько отличаются от тех, которые упоминались раньше.

По словам производителя, яркие цвета перекликаются с цветами модной одежды

Говоря более конкретно, покупатель сможет выбирать между золотистым, синим и зеленым.

По словам производителя, яркие цвета перекликаются с цветами модной одежды

По словам производителя, яркие цвета перекликаются с цветами модной одежды.

По словам производителя, яркие цвета перекликаются с цветами модной одежды

Анонс устройства ожидается на MWС 2017.

Источник: Huawei

/14 фев, 17:34/ автор: MPAK (iXBT.com) сайт: www.ixbt.com

Moda 245C7QJSB — новый монитор в ассортименте Philips. Необычное название тут не зря. Новинка выделяется дизайном, располагая не только тонкими рамками, но и оригинальной подставкой.

Монитор Philips Moda 245C7QJSB выделяется дизайном и подставкой

Правда, как это зачастую бывает с оригинальными подставками, она позволяет регулировать лишь угол наклона панели.

Монитор Philips Moda 245C7QJSB выделяется дизайном и подставкой

Монитор оснащён панелью IPS диагональю 23,8 дюйма разрешением Full HD. Для устройства заявлен охват цветового пространства NTSC на 101,4%. Значение максимальной яркости составляет 250 кд/м², а время отклика — 5 мс.

Монитор Philips Moda 245C7QJSB выделяется дизайном и подставкой

Набор портов представлен VGA, HDMI и DisplayPort 1.2. Купить монитор можно будет в конце месяца за 220 евро.

/14 фев, 17:14/ автор: MPAK (iXBT.com) сайт: www.ixbt.com

Сегодня мы ознакомились с результатами тестирования процессоров AMD Ryzen в тестовом пакете 3DMark. Недавно мы сообщали данные о ценах на грядущие новинки AMD.

Процессоры Ryzen представят уже через две недели

Теперь же в Сети появились изображения упаковок Ryzen. Кроме того, некоторые онлайн-магазины начали принимать предзаказы на эти продукты. Также подтвердились данные о том, что новые CPU будут представлены 28 февраля, вероятно, во время мероприятия Capsaicin.

Процессоры Ryzen представят уже через две недели

А фото выше показывает, что штатные охладители Ryzen будут иметь подсветку.

/14 фев, 16:37/ автор: MPAK (iXBT.com) сайт: www.ixbt.com

Только мы успели сообщить о подорожании акций Apple до максимального значения, как стало известно, что акции компании Tesla выросли на 4% и достигли рекордного для компании значения: $280,6 за акцию.

Это случилось после того, как глава компании Илон Маск (Elon Musk) запустил приём заказов на модели Model X и Model S в Дубае.

Акции Tesla подорожали и побили прошлогодний рекорд

В целом акции Tesla с начала года подорожали на 31,5%, что указывает на уверенность инвесторов в успешности компании в ближайшее время, несмотря на постоянно звучащие сомнения касательно способности Tesla удовлетворить неимоверный спрос на автомобиль Tesla 3.

/14 фев, 15:40/ автор: MPAK (iXBT.com) сайт: www.ixbt.com

Недавно мы сообщали, что планшет Samsung Galaxy TabPro S2 будет достаточно сильно похож на предшественника, но перейдёт на использование полноценных мобильных CPU Intel Core i5.

Теперь же в Сети появились изображения и параметры планшета Galaxy Tab S3.

Этот аппарат, если верить источнику, получит дисплей диагональю 9,7 дюйма с соотношением сторон 4:3, разрешение которого составит 2048 х 1536 пикселей, SoC Snapdragon 820, 4 ГБ оперативной памяти, от 32 ГБ флэш-памяти и камеры разрешением 12 и 5 Мп.

Планшет Samsung Galaxy Tab S3 получит стилус

Но основное отличие от предшественника будет заключаться в наличии цифрового пера S Pen. Соответственно, у планшета должно быть и фирменное ПО Samsung для работы со стилусом, которому нет равных в мобильном сегменте.

Видимо, у Samsung просто не было выбора, так как кроме более производительной платформы, что мало кто заметит, и лучших камер новый планшет особо не отличается от старого. А вот наличие пера — уже весьма существенное преимущество.

/14 фев, 15:19/ автор: MPAK (iXBT.com) сайт: www.ixbt.com

Компания AMD запланировала очередное мероприятие Capsaicin на 28 февраля. Оно пройдёт во время выставки GDC 2017.

Обычно на таких мероприятиях AMD делает достаточно громкие анонсы, так что мы вполне можем ожидать релиза графических решений поколения Vega или хотя бы какой-то новой информации об этих продуктах.

AMD проведёт очередное мероприятие Capsaicin 28 февраля class=

Напомним, видеокарты с GPU Vega должны выйти на рынок во втором квартале, то есть достаточно скоро. А у нас пока практически нет какой-нибудь внятной информации об этом поколении.

/14 фев, 15:18/ автор: Accent (iXBT.com) сайт: www.ixbt.com

В Microsoft придумали, как сделать облачный сервис Azure более привлекательным для потенциальных пользователей. Компания предлагает бесплатную защиту от патентных троллей.

Предложение Microsoft может быть очень кстати клиентам, работающим в других отраслях

Новички в использовании облачных технологий уязвимы к атакам компаний, занимающихся не разработкой или производством, а зарабатывающих за счет обладания патентами. Патентные тролли получают деньги, договариваясь со своими жертвами о выплате компенсации или выигрывая в судах.

Компания Microsoft дает клиентам, использующим Azure для хранения данных или работы приложений, возможность бесплатно использовать любые из 10 000 патентов, принадлежащих Microsoft, чтобы обезопасить себя от нападок патентных троллей. Более того, Microsoft обещает расширить программу в будущем.

Предложение Microsoft может быть очень кстати клиентам, работающим в других отраслях. Например, автопроизводитель, обладающий большим количеством патентов в своей области, может совсем не иметь защищенных разработок, касающихся мобильных и облачных приложений. Используя Azure, такая компания защищает свои позиции в этой области.

Источник: Reuters

/14 фев, 15:07/ автор: MPAK (iXBT.com) сайт: www.ixbt.com

Ассортимент компании Biostar пополнился системной платой A68N-5100 с интегрированным гибридным процессором AMD A4-5100 поколения Kabini. Это четырёхъядерный APU с частотой 1,55 ГГц и GPU Radeon HD 8330.

Системная плата Biostar A68N-5100 получила пару портов USB 3.0

Так как TDP этого решения составляет всего 15 Вт, системная плата использует небольшой радиатор без вентилятора. Новинка выполнена в форм-факторе Mini ITX, располагает двумя слотами для оперативной памяти DDR3 и одним слотом PCIe x16 2.0 для установки видеокарты.

На панели ввода-вывода расположены разъёмы PS/2 (x2), HDMI, VGA, USB 3.0 (x2), USB 2.0 (x2), Gigabit Ethernet и аудиоразъёмы. Для подключения накопителей имеется пара портов SATA 6 Гбит/с.

/14 фев, 14:53/ автор: Accent (iXBT.com) сайт: www.ixbt.com

Сейчас крупнейшим производителем ноутбуков является компания Lenovo. Однако в этом году она может уступить место лидера. Во всяком случае, это прогнозируют аналитики Digitimes Research, называя потенциальным кандидатом на замену Lenovo компанию HP.

Ноутбук HP Omen

Ожидается, что в этом году HP отгрузит более 36 млн мобильных компьютеров, нарастив объем поставок по сравнению с минувшим годом. Этому будет способствовать оживление спроса в корпоративном сегменте.

Производственными партнерами HP выступают Quanta, Wistron и Compal Electronics, причем Quanta лидирует по объемам заказов на сборку.

Для Lenovo 2017 будет достаточно сложным, поскольку на китайском рынке компанию ждет усиливающаяся конкуренция с Huawei и Xiaomi. Между тем, почти половина ноутбуков Lenovo продается в Китае.

Остается добавить, что всего в прошлом году было выпущено около 150 млн ноутбуков. По мнению Digitimes Research, в этом году объем поставок несколько уменьшится.

Источник: Digitimes

/14 фев, 14:38/ автор: Accent (iXBT.com) сайт: www.ixbt.com

Компании Phase One и LogicKeyboard представили плод своего сотрудничества — специальную клавиатуру для работы с программой Capture One Pro 10 на компьютерах с macOS. Внешне, это клавиатура Apple Pro Keyboard, снабженная новыми колпачками клавиш. Клавиатура обеспечивает быстрый доступ к функциям программы Capture One Pro.

Цена Capture One Pro Keyboard — 139 долларов или 129 евро

Программа Capture One Pro предназначена для профессионального редактирования фотографий и относится к числу наиболее известных в своей категории. Раскладка новой клавиатуры определена по данным, собранным в результате изучения откликов пользователей, участвующих в программе подготовки профессиональных пользователей продукции Phase One (POCP, Phase One Certified Professional). Как утверждается, использование специализированной клавиатуры повышает производительность труда.

Цена Capture One Pro Keyboard — 139 долларов или 129 евро. Продажи уже начались. Предложены варианты на немецком и английском языках (британская и американская версии).

Источник: DP Review

/14 фев, 13:36/ автор: Accent (iXBT.com) сайт: www.ixbt.com

В операционной системе Windows 10 Mobile обнаружена ошибка, позволяющая посторонним получить доступ к изображениям в памяти смартфона в обход экрана блокировки. Как утверждается, ошибка есть в сборках Production и Insider.

Разработчики Windows 10 Mobile уже осведомлены о проблеме

Чтобы получить доступ к фотографиям в обход экрана блокировки, достаточно сделать снимок и воспользоваться функцией предварительного просмотра, доступной по значку в левом нижнем углу экрана. Удалив только что сделанный снимок, следует воспользоваться экранной кнопкой Back для возврата в приложение камеры. Если после этого снова попытаться вызвать предварительный просмотр только что удаленного изображения, экран станет черным. Теперь достаточно третий раз повторить ту же последовательность действий (Back и выбрать миниатюру), чтобы вместо черного экрана увидеть галерею всех снимков и видеозаписей.

Разработчики Windows 10 Mobile уже осведомлены о проблеме. Более того, как утверждается, ошибка исправлена в сборке, доступной для внутреннего тестирования. Выпустит ли Microsoft «заплатку» для обычных пользователей или им придется подождать накопительного обновления — пока неясно.

Источник: WCCFtech.com

/14 фев, 13:30/ автор: Dexter (iXBT.com) сайт: www.ixbt.com

Компания Lenovo представит на выставке MWC 2017, которая скоро откроется в Барселоне, ноутбуки линейки Yoga 720, идущие на смену моделям серии Yoga 710. Однако, как пишет источник, на MWC может дебютировать еще одна серия портативных ПК Lenovo – Yoga 520.

Как сообщается, модели серии Yoga 520 не претерпят серьезных изменений в сравнении с моделями текущей линейки Yoga 510. То есть уместно говорить о модернизации, но не о радикальном обновлении.

Lenovo Yoga 520

Лэптопы Yoga 520 по-прежнему будут представлены в двух версиях – с экранами диагональю 14 и 15,6 дюйма. Внешним отличием от предшественников станут более узкие боковые рамки экрана, хотя в целом узнаваемый облик будет сохранен. Габариты изменяется незначительно, например, толщина Yoga 520-14 составит 19,9 мм против 20,9 мм у Yoga 510-14. Изменений по части массы и вовсе не ожидается.

Lenovo Yoga 520

Модели серии Yoga 510 получили процессоры Intel Kaby Lake некоторое время тому назад, поэтому перемен по этой части не будет. То же касается и экранов: в новых моделях останутся матрицы IPS разрешением Full HD. Дисплеев разрешением 4K Yoga 520, скорее всего, не получат.

Lenovo Yoga 520

Максимальный объем оперативной памяти ноутбуков Yoga 520 составит 16 ГБ, в подсистеме хранения данных будут применяется как SSD с интерфейсом PCIe (объемом до 512 ГБ), так и HDD с интерфейсом SATA (до 1 ТБ). Будут версии и с гибридной подсистемой: с SSD объемом 128 ГБ и HDD объемом 1 ТБ. Некоторые товарные позиции будут предложены с дискретными видеокартами AMD.

Lenovo Yoga 520

Как отмечается, Lenovo поработала над автономностью ноутбуков: она должна достигать 10 часов. Изменился набор интерфейсных разъемов, он включает пару портов USB 3.0 Type A, один USB-C, RJ-45 и видеовыход HDMI. В перечне прочего оснащения – адаптеры Wi-Fi 802.11ac и Bluetooth 4.0, пара микрофонов, web-камера с поддержкой записи видео разрешением 720p, два громкоговорителя. За доплату – дактилоскопический датчик и активное перо.

Lenovo Yoga 520

Ожидается, что ноутбуки поступят в продажу к лету, а их стоимость будет несколько ниже стоимости моделей линейки Yoga 720.

Источник: Notebook Italy

/14 фев, 13:24/ автор: MPAK (iXBT.com) сайт: www.ixbt.com

Компания MSI готовится к выпуску какой-то очень компактной видеокарты. Пока мы располагаем лишь одним рекламным изображением, из которого понятно немногое.

MSI может выпустить короткую видеокарту GTX 1070 или GTX 1080

Во-первых, длина карты действительно будет невелика: около 170-180 мм. Во-вторых, это должна быть карта на основе GPU Nvidia, так как на заднем фоне можно увидеть ускоритель GeForce GTX 1070 или GTX 1080 семейства Aero.

К слову, это же может косвенно указывать на то, что именно одна из указанных моделей и будет представлена MSI в виде компактной карты. На данный момент лишь 3D-карта Gigabyte GeForce GTX 1070 Mini ITX OC имеет подобные габариты, а моделей GTX 1080 такой длины не существует вовсе, так что MSI может стать первой.

/14 фев, 13:08/ автор: MPAK (iXBT.com) сайт: www.ixbt.com

К предыдущим тестам процессора AMD Ryzen в пакете CPU Mark добавился новый. На сей раз три процессора AMD протестировали в пакет 3DMark в тесте Fire Stike (Physics Score). Причём важно то, что в этом тесте поучаствовали CPU из разных сегментов.

Самый младший из подопытных — четырёхъядерный CPU с частотами 3,2-3,4 ГГц. Также имеется шестиядерная модель с частотами 3,3-3,7 ГГц и восьмиядерный CPU с частотами 3,4-3,8 ГГц, работающий как на базовой частоте, так и на частоте 4 ГГц. Результаты можно увидеть на графике ниже.

CPU Ryzen показали себя лучше в тесте 3DMark

К сожалению, младший CPU не противопоставляется никакому решению Intel, но если заглянуть в базу Futuremark, можно увидеть, что прямым конкурентом одному из младших CPU Ryzen в этом тесте будет Core i7-6700. Также видно, что Intel Core i7-7700K на частоте 4,2 ГГц опережает «соперника» на 40%. Зато шестиядерная модель AMD оказывается быстрее флагмана Intel и совсем незначительно отстаёт от него же, но с частотой 4,8 ГГц. Судя по параметрам, речь о модели Ryzen 5 1600X, которая, если верить слухам, будет стоить 260 долларов.

Модель Ryzen 7 1700X, а именно она и присутствует в тесте в качестве восьмиядерного CPU, на родной частоте обходит Core i7-6850K и немного отстаёт от Core i7-6900K. При разгоне этот процессор уступает только монструозному десятиядерному CPU Core i7-6950X стоимостью 1700 долларов. Более того, если посмотреть результаты процессоров Intel непосредственно в базе Futuremark, окажется, что Core i7-6950X всё-таки уступает разогнанному Ryzen 7 1700X, пусть и немного.

CPU Ryzen показали себя лучше в тесте 3DMark

К тому же, напомним, Ryzen 7 1700X — не самый производительный CPU в линейке Ryzen.

/14 фев, 13:01/ автор: Accent (iXBT.com) сайт: www.ixbt.com
Новые разработки включают в себя чат-бота, управляемого системой Watson, и голосового помощника по вопросам безопасности

Подразделение IBM Security, занимающееся вопросами информационной безопасности, представило решение Watson for Cyber Security. По словам производителя, это первая в отрасли «дополненная интеллектуальная технология, разработанная для управления когнитивными центрами информационной безопасности». Решение Watson for Cyber Security интегрировано в новую платформу IBM Cognitive SOC.

Технологию Watson Security уже используют компании из разных отраслей

Система готова помочь специалистам, расследующим инциденты в системе безопасности, предоставляя необходимые сведения на естественном языке. Как утверждается, это позволит реагировать на угрозы, возникающие на конечных устройствах, в сети, у отдельных пользователей и в облаке, существенно сократив время реакции. Основой решения являются знания, полученные Watson за прошлый год в процессе анализа огромного количества документов, касающихся информационной безопасности. Доступ к знаниям обеспечивает центральный компонент платформы — IBM QRadar Advisor with Watson.

По данным IBM, новое приложение уже используется четырьмя десятками компаний и организаций из разных отраслей по всему миру.

Кроме того, IBM включила в свою сеть X-Force Command Center чат-бот, управляемый системой Watson, который служит для взаимодействия с клиентами IBM Managed Security Services. Также запущен исследовательский проект Havyn. Под этим кодовым названием скрывается первый голосовой помощник в области безопасности, эффективно использующий способность системы Watson вести диалог.

Источник: IBM

/14 фев, 12:43/ автор: Accent (iXBT.com) сайт: www.ixbt.com

Как известно, в этом году ожидается выпуск трех моделей смартфонов Apple iPhone следующего поколения. Первой приписывают экран диагональю 4,7 дюйма, второй — 5,5 дюйма, третьей — 5,8 дюйма. Подтверждая ранее прозвучавшие сведения, источник сообщает, что старшая модель получит рамку из нержавеющей стали и панели из закаленного стекла. Младшая модель унаследует у своей предшественницы корпус из алюминиевого сплава. Как утверждается, эти данные поступили от представителей цепочки поставок. Сведениями о материале корпуса модели с экраном размером 5,5 дюйма источник пока не располагает.

Сведениями о материале корпуса модели с экраном размером 5,5 дюйма источник пока не располагает

Поставщиками деталей корпусов из стали и стекла названы компании Foxconn Technology и Jabil Circuit. Корпуса из алюминиевого сплава будет поставлять Catcher Technology. Место поставщика металлических корпусов для устройств Apple активно пытается занять компания Casetek, дочернее предприятие Pegatron Technology. Она отправляет Apple образцы и расширяет производство в надежде получить заказы. Однако пока заинтересовать Apple не удалось.

Источник: Digitimes

/14 фев, 12:30/ автор: Jin (iXBT.com) сайт: www.ixbt.com

Укулеле (ukulele) — это гавайский четырехструнный щипковый музыкальный инструмент, который иногда оснащается сдвоенными струнами, то есть может быть восьмиструнным.

Populele — Xiaomi выпустила умную версию гавайского музыкального инструмента

Компания Xiaomi продолжила расширять ассортимент своей продукции, представив Populele — умную версию укулеле, которая оснащена светодиодами, разъемом micro USB и возможностью работать в связке со смартфонами.

Populele предназначается для тех, кто хочет научиться играть на данном музыкальном инструменте. Производитель утверждает, что вам понадобится всего несколько минут, чтобы начать воспроизводить на Populele первые мелодии.

Populele — Xiaomi выпустила умную версию гавайского музыкального инструмента

Одноименное обучающее приложение устанавливается на смартфоны, которые работают под управлением Android 4.3, iOS 8 и более новых версий этих ОС. В приложении записаны более 100 мелодий, музыкальный инструмент оснащен модулем Bluetooth 4.0 LE и 72 светодиодами, которые загораются в правильной последовательности.

Инструмент изготовлен из индонезийского палисандра, масса Populele составляет всего 500 г. За 58 долларов в комплекте вы также получите футляр для хранения и переноски.

Populele — Xiaomi выпустила умную версию гавайского музыкального инструмента

Поставки должны начаться 28 марта.

/14 фев, 12:14/ автор: Jin (iXBT.com) сайт: www.ixbt.com

По данным Strategy Analytics и IDC, компания Samsung в четвертом квартале прошлого года ослабила свои позиции на рынках смартфонов, планшетов и умных часов. В качестве причин называют фиаско Samsung Galaxy Note7, перенасыщенность рынка и большая конкуренция со стороны китайских производителей.

По данным Strategy Analytics, доля Samsung Electronics на рынке умных часов в четвертом квартале снизилась на 6,2%. В результате компания заняла всего 9,8% рынка, реализовав 800 тыс. умных часов. Аналитик Стивен Уолтер (Stephen Walter) считает, что компания может улучшить свое положение, выпустив более доступные для широкой аудитории модели.

Samsung за последний год ослабила свои позиции на рынках смартфонов, планшетов и умных часов

Если говорить о смартфонах, то позиции Samsung особенно заметно ослабли в Китае, который является крупнейшим рынком данных устройств. В этой стране Samsung переместилась со второго места на пятое. Однако аналитики уверены, что Samsung Galaxy S8 должен помочь компании улучшить свое положение.

Доля Samsung на рынке планшетов снизилась с 16,1 до 15,2% в прошлом году. Поставки планшетов компании снизилась на 20,5% до 26,6 млн устройств. Ситуацию должен исправить планшет Samsung Galaxy Tab S3, анонс которого ожидается на MWC 2017.

/14 фев, 12:04/ автор: Jin (iXBT.com) сайт: www.ixbt.com

Fast Company опубликовала свежий рейтинг самых инновационных компаний, возглавила который Amazon. Первое место Amazon присудили за то, что компания «предлагает еще больше, еще быстрее и умнее».

Второе место занял поисковый гигант Google, третье за развитие технологий самоуправляемых машин присудили компании Uber. Четвертое место досталось Apple, которую похвалили за однокристальные системы A10 Fusion, W1, T1 и S2 собственной разработки компании.

Apple заняла четвертое место в рейтинге самых инновационных компаний, уступив Amazon, Google и Uber

Компания Snap, которая в прошлом году выпустила очки Spectacles со встроенными камерами, оказалась на пятом месте. Шестая позиция досталась Facebook, которую выделили за показ правильной рекламы в нужный момент времени.

Также в десятке оказались Netflix и Spotify. С перечнем 50 самых инновационных компаний вы можете ознакомиться по ссылке ниже.

/14 фев, 12:03/ автор: MPAK (iXBT.com) сайт: www.ixbt.com

Приставка Nintendo Switch уже была представлена и вскоре появится в продаже. Компания рассказала о новинке практически всё, но так и не раскрыла подробностей касательно платформы. Достоверно известно лишь то, что сердцем служит некая SoC Nvidia Tegra.

Различные слухи говорили и об использовании современного решения с GPU Pascal, и о модернизированной Tegra X1 с GPU Maxwell.

Если верить попавшей в Сеть документации, однокристальная система, лежащая в основе Switch, располагает четырёхъядерным процессором с ядрами Cortex-A57 с частотой до 2 ГГц и GPU поколения Maxwell с 256 ядрами CUDA, как и у Tegra X1. То есть приставка получила однокристальную систему, которая примерно соответствует уровню Tegra X1 по графической производительности и отстаёт по производительности CPU.

Nintendo Switch не получила графику Pascal

В остальном документ подтверждает уже известны данные и уточняет не самые важные детали. Информации о техпроцессе нет, но можно предположить, что речь о 20 нм. Почему Nintendo решила не использовать более современные разработки Nvidia, пока остаётся только гадать. С другой стороны, компания никогда не стремилась конкурировать с приставками Sony и Microsoft в вопросе качества графики, так что вряд ли настоящих фанатов Nintendo огорчит тот факт, что Switch могла бы быть несколько производительнее.

Также не исключено, что через несколько лет Nintendo выпустит некую Switch Pro, которая будет использовать новую SoC и сможет запускать игры в разрешении 4K.

/14 фев, 12:03/ автор: Accent (iXBT.com) сайт: www.ixbt.com

На следующей неделе в Японии пройдет выставка фототехники CP+. К таким мероприятиям производители обычно приберегают анонсы новых изделий. По данным источника, компания Sigma представит на CP+ 2017 три модели объективов.

Первая новинка — телеобъектив с фиксированным фокусным расстоянием 135 мм и максимальной диафрагмой F/1,8. Слухи о намерении производителя выпустить эту модель время от времени появляются, начиная с 2013 года. Объектив представляется логичным дополнением нынешней линейки Sigma Art:

Выставка фототехники CP+ пройдет в Японии на следующей неделе

Вторая модель относится к категории зумов. Она будет охватывать диапазон фокусных расстояний 24-70 мм при постоянной максимальной диафрагме F/2,8.

Наконец, третья ожидаемая новинка — широкоугольный объектив с фокусным расстоянием 14 мм и максимальной диафрагмой F/1,8. В отличие от первых двух, он будет не полнокадровым, а рассчитанным на камеры формата APS-C.

Источник: PhotoRumors.com

/14 фев, 11:44/ автор: Jin (iXBT.com) сайт: www.ixbt.com

Свежие данные, опубликованные компанией ComScore, указывают на то, что американцы потратили на покупки в ноябре и декабре прошлого года более 80 млрд долларов, на 17% больше, чем за аналогичный период в 2015 году.

Объем покупок, совершенных с настольных ПК, вырос на 12% до 63 млрд долларов. А вот мобильные устройства укрепили свои позиции значительно заметнее. Если в 2015 году американцы подтвердили с мобильных устройств покупки на сумму менее 12 млрд долларов, то в 2016 сумма увеличилась на 44% и составила более 17 млрд долларов.

Американцы совершили более 20% праздничных покупок с мобильных устройств

Выходит, что 21% всех покупок, совершенных американцами в праздничный период, были произведены со смартфонов и планшетов. В 2015 году соответствующая доля составляла 17%. Это доказывает, что мобильные устройства становятся все более удобными для данных целей.

/14 фев, 11:34/ автор: Jin (iXBT.com) сайт: www.ixbt.com

В базе данных тестового пакета GFXBench появился смартфон Sony Pikachu, характеристики которого мы и предлагаем вашему вниманию. Предположительно, речь идет о смартфоне Sony G3112.

Устройство оснащено восьмиядерной однокристальной системой Helio P20, а также пятидюймовым дисплеем разрешением 1280 х 720 пикселей.

Объем оперативной памяти составляет 3 ГБ, емкость флэш-памяти составляет 32 ГБ. Разрешение основной камеры составляет 23 Мп, фронтальная оснащена восьмимегапиксельным датчиком изображения.

В базе данных GFXBench появился смартфон Sony Pikachu

Из коробки смартфон должен работать под управлением операционной системы Android 7.0 Nougat.

Анонсировать устройство должны на MWC 2017.

/14 фев, 11:30/ автор: Accent (iXBT.com) сайт: www.ixbt.com

Японская компания Veldt, специализирующаяся на устройствах носимой электроники, разработала умные часы, которые автоматически учитывают время, проведенное родителями и детьми вместе.

Помимо этой функции, часы следят за физической активностью пользователя, сообщают ему о поступивших сообщениях и вызовах

В зачет идет время, в течение которого расстояние между родительским смартфоном и маячком в форме браслета на руке ребенка не превышает 30 м.

Помимо этой функции, часы следят за физической активностью пользователя, сообщают ему о поступивших сообщениях и вызовах

Умные часы ежечасно показывают накопительный итог с помощью цветного индикатора.

Помимо этой функции, часы следят за физической активностью пользователя, сообщают ему о поступивших сообщениях и вызовах

Помимо этой функции, часы следят за физической активностью пользователя, сообщают ему о поступивших сообщениях и вызовах. Для связи со смартфоном используется Bluetooth 4.0.

Источник: Nikkei BP

/14 фев, 11:07/ автор: Accent (iXBT.com) сайт: www.ixbt.com

Компания Qualcomm представила однокристальные системы IPQ8074 и QCA6290, поддерживающие Wi-Fi 802.11ax. Первая призвана служить основой оборудования беспроводных сетей, а вторая предназначена для клиентских устройств. По словам производителя, он первым предлагает такой комплект.

Освоение 802.11ax позволяет в четыре раза расширить емкость сетей Wi-Fi, одновременно увеличив время автономной работы мобильных устройств. Новые SoC поддерживают 12-поточное подключение (восемь потоков в диапазоне 5 ГГц и четыре — в диапазоне 2,4 ГГц), конфигурации MU-MIMO, каналы шириной 80 МГц. Еще одной особенностью является поддержка модуляции OFDMA (Orthogonal Frequency Division Multiple Access), применяемой в сотовых сетях, и планировки трафика. Производитель отмечает, что в полной мере преимущества нововведений раскрываются в оборудовании, поддерживающем 802.11ax, однако и устройства предыдущих поколений, поддерживающие 802.11ac и 802.11n, в сетях 802.11ax будут работать лучше.

Ознакомительные образцы IPQ8074 и QCA6290 должны появиться в этом полугодии

В описании IPQ8074 производитель выделяет поддержку 8x8 MU-MIMO и высокую степень интеграции. Конфигурация однокристальной системы включает радиочастотный блок, MAC и процессор сигналов, а также четырехъядерный 64-разрядный процессор ARM Cortex-A53 и двухъядерный сетевой ускоритель. Микросхема рассчитана на выпуск по нормам 14 нм.

В свою очередь, QCA6290 поддерживает 2x2 MU-MIMO и пиковую скорость 1,8 Гбит/с, которая достигается за счет механизма DBS (Dual Band Simultaneous), позволяющего объединять каналы в диапазонах 2,4 и 5 ГГц, и модуляции высокого порядка (1024 QAM). Другим достоинством является фирменная оптимизация энергопотребления, дополняющая встроенные технологии энергосбережения 802.11ax.

Ознакомительные образцы IPQ8074 и QCA6290 должны появиться в этом полугодии.

Источник: Qualcomm

/14 фев, 11:07/ автор: Юрий Гитин (iXBT.com) сайт: www.ixbt.com

В январе была представлена линейка жестких дисков Toshiba N300, которая хотя и была рассчитана на сетевые хранилища, но емкость ее представителей составляла всего 4 и 6 ТБ. С учетом того, что конкуренты предлагают HDD объемом 8 ТБ уже около года, логичным было ожидать выпуск такой модели и от Toshiba. Так и произошло, новинка теперь официально представлена под индексом HDWN180EZSTA.

Серия Toshiba N300 найдет применение в домах и небольших офисах

Накопитель рассчитан на сетевые хранилища, имеющие до восьми отсеков. Разумеется предусмотрена работа в режиме 24/7, при рабочей нагрузке до 180 ТБ в год. Датчики ударов, вибрации и температуры следят за рабочим режимом HDD, технология парковки головок снижает риск повреждения поверхности пластин. Энергопотребление не превышает 9,2 Вт, рабочий температурный диапазон от 0 до 60 °C.

Во всех жестких дисках Toshiba N300 скорость вращения шпинделя составляет 7200 об/мин, а объем кэш-памяти равен 128 МБ. Скорость передачи данных достигает 240 МБ/с. Поддерживается объединение в массивы RAID, используется интерфейс SATA 6 Гбит/с. Накопитель Toshiba HDWN180EZSTA появится в продаже в феврале, срок гарантии составит три года.

/14 фев, 10:44/ автор: Accent (iXBT.com) сайт: www.ixbt.com

Компания Mellanox Technologies, специализирующаяся на решениях для соединений между серверами и хранилищами внутри вычислительных центров, представила адаптер Innova IPsec 40GbE. По словам производителя, указанный сетевой адаптер берет шифрование на себя, обеспечивая трехкратное увеличение пропускной способности и четырехкратное улучшение показателя загрузки CPU по сравнению с программными решениями для платформы x86. Это позволяет шире использовать шифрование с сохранением производительности и масштабируемости. Более того, по подсчетам Mellanox, замена программных решений обеспечивает существенное сокращение расходов (60% и более).

Шифрование силами адаптера позволило увеличить пропускную способность

К достоинствам адаптера относится аппаратная виртуализация, поддержка RDMA over Converged Ethernet, технология ускорения Mellanox PeerDirect, аппаратная разгрузка трафика NVGRE, VXLAN и GENEVE.

Источник: Mellanox

/14 фев, 10:09/ автор: Jin (iXBT.com) сайт: www.ixbt.com

До начала выставки Mobile World Congress 2017 остается менее двух недель, различные производители начинают готовить общественность к анонсам своих новых устройств.

Опубликован первый рекламный ролик смартфона Huawei P10

Исполнительный директор Huawei Ричард Ю (Richard Yu) уже опубликовал первое рекламное изображение умных часов Huawei Watch 2, которые будут работать под управлением операционной системы Android Wear 2.0.

Теперь же мы предлагаем вашему вниманию первый рекламный ролик Huawei P10, в котором присутствует фраза Change the way the world sees you. Она может намекать на то, что сдвоенной будет не только основная, но и фронтальная камера устройства.

Ожидается, что Huawei P10 получит SoC Kirin 960, 4 ГБ оперативной памяти и дисплей диагональю 5,5 дюйма.

/14 фев, 10:01/ автор: Jin (iXBT.com) сайт: www.ixbt.com

В ходе выставки Consumer Electronic Show 2017 посетителям представили складывающуюся клавиатуру Kanex MultiSync Foldable Travel, которая уже поступила в продажу.

Складывающаяся клавиатура Kanex MultiSync Foldable Travel для Windows, iOS и Android стоит менее 50 евро

Эта универсальная клавиатура оснащена модулем Bluetooth 3.0, перечень совместимых операционных систем и устройств довольно широк:

  • iOS 7 и новее
  • Mac OS X и новее
  • Apple TV третьего и четвертого поколений
  • Android 4.0 и новее
  • Windows XP/7/8/10
  • Смартфоны и планшеты, которые поддерживают Bluetooth 3.0

Клавиатура может переключаться между четырьмя подключенными устройствами. Емкость встроенного аккумулятора составляет 110 мА•ч, время работы без подзарядки не сообщается. Масса устройства составляет 172 г, в сложенном состоянии толщина клавиатуры равна 1,3 см.

Складывающаяся клавиатура Kanex MultiSync Foldable Travel для Windows, iOS и Android стоит менее 50 евро

Клавиатура предлагается по цене 49,95 евро.

/14 фев, 09:51/ автор: Jin (iXBT.com) сайт: www.ixbt.com

В ходе выставки Mobile World Congress 2017, которая откроется в конце месяца в Барселоне, компания Huawei проведет пресс-конференцию. На этом мероприятии ожидается анонс флагманского смартфона Huawei P10.

Однако исполнительный директор Huawei Ричард Ю (Richard Yu) уже сообщил, что на выставке компания также представит преемника умных часов Huawei Watch, которые были анонсированы два года назад на том же самом мероприятии.

Умные часы Huawei Watch 2 покажут на MWC 2017?

Умные часы Huawei Watch 2 будут работать под управлением операционной системы Android Wear 2.0. О характеристиках устройства информации пока что нет, однако предыдущие слухи указывали на наличие в часах модема сотовой связи.

/14 фев, 09:41/ автор: Jin (iXBT.com) сайт: www.ixbt.com

Еще в ноябре прошлого года появилась информация о том, что Samsung Electronics за 8 млрд долларов покупает компанию Harman.

Изначально совет директоров Harman одобрил сделку, однако затем стало известно, что один из акционеров выступил против. Чуть позже сразу несколько акционеров Harman подали в суд на членов совета директоров компании, заявив, что на самом деле компания стоит больше.

Источники сообщают, что окончательное решение по этому поводу будет принято 17 февраля при помощи голосования акционеров. Если за продажу Harman проголосуют более 50% акционеров, то все остальные будут обязаны продать свои доли в компании.

17 февраля акционеры Harman решат вопрос о продажи компании

Samsung планирует заплатить по 112 долларов за акцию, на 28% больше, чем они стоили 11 ноября 2016, за день до того, как южнокорейская компания сделала предложение о покупке.

Пресс-атташе Harman заявил, что компания намерена закрыть сделку к середине года. Руководство и около 8000 сотрудников Harman сохранят свои места.

/14 фев, 09:21/ автор: Юрий Гитин (iXBT.com) сайт: www.ixbt.com

Вслед за обновленным смартфоном с аккумулятором рекордной емкости компания Oukitel представила модель U16 Max, в которой сделала акцент на другой параметр — разрешение экрана. Оно составляет шесть дюймов, а сам дисплей произведен компанией Japan Displays Inc по технологии LTPS. Тип используемой матрицы не указан, но известно, что ее разрешение составит 1280 х 720 пикселей.

Основой Oukitel U16 Max станет позапрошлогодняя восьмиядерная SoC

С учетом устаревшей восьмиядерной SoC MediaTek MT6753 важен тот факт, что смартфон Oukitel U16 Max будет сразу поставляться с ОС Android 7.0, ведь для аппаратов на этой платформе даже обновление до Android 6.0 появилось с существенным опозданием. Запросы крупного дисплея и других компонентов должен покрыть аккумулятор емкостью 4000 мА·ч.

Тыльная панель изготовлена из алюминиевого сплава, за исключением вставок сверху и снизу. Датчик тыльной камеры разрешением 13 Мп указан как Micron AR1335 (вероятно, это ON AR1335), сенсор GalaxyCore GC5005 разрешением 5 Мп работает во фронтальной камере; в этот раз обошлось без интерполяции. Модуль распознавания отпечатков пальцев может выполнять роль кнопки для спуска затвора, приема звонков или запуска избранного приложения при выключенном экране. Смартфон Oukitel U16 Max увидит свет в феврале или марте.

/14 фев, 08:00/ автор: Accent (iXBT.com) сайт: www.ixbt.com

Компания Intel представила программируемые пользователем вентильные матрицы (FPGA) Cyclone 10. По словам производителя, их выпуск стал ответом на растущее число приложений интернета вещей. Матрицы, призванные обеспечить быструю и энергетически эффективную обработку данных, предназначены для многочисленных областей применения, включая автомобильную и промышленную электронику, профессиональное аудио- и видеооборудование.

В семейство входят FPGA Cyclone 10 GX и Cyclone 10 LP

В семейство входят FPGA Cyclone 10 GX и Cyclone 10 LP. В первых производитель отмечает поддержку 10G и наличие DSP, работающего с плавающей запятой. По производительности эти матрицы вдвое превосходят своих предшественниц. Они могут найти применение в системах промышленного зрения и приложениях умного города, включая наблюдение за парковками, дорогами и мостами. Корме того, FPGA Cyclone 10 GX хорошо подходят для оборудования для потокового видеовещания, промышленных систем управления двигателями, станками с ЧПУ, электроинструментом и роботами.

В семейство входят FPGA Cyclone 10 GX и Cyclone 10 LP

Что касается Intel Cyclone 10 LP, эти FPGA предназначены для случаев, когда ключевыми приоритетами являются стоимость и энергопотребление, в приложениях, для которых хватает 75K логических элементов, включая внутрисистемные соединения и расширение средств ввода-вывода микропроцессоров. Кроме того, Cyclone 10 LP можно использовать в автомобилях для обработки данных, поступающих от камер заднего вида и датчиков.

Поставки FPGA Cyclone 10 начнутся во втором полугодии. Тогда же станут доступны ознакомительные наборы и платы для разработчиков.

Источник: Intel

/14 фев, 08:00/ автор: MPAK (iXBT.com) сайт: www.ixbt.com

Голосовой помощник Cortana обзавёлся достаточно любопытной функцией. Она называется Suggested Reminders. Так назвали способность искусственного интеллекта определять в тексте пользователя данные кому-то обещания и затем напоминать о них!

К примеру, если кто-то в письме пообещал маме зайти в грядущую субботу на ужин, Cortana поймёт это и напомнит.

Функция основана на технологиях глубокого обучения, так что каких-то специально выверенных фраз не требует.

Функция Suggested Reminders у ПО Cortana ответственна за запоминание обещаний

Всё это пока работает только в Windows 10 и лишь в Office 365 или Outlook, но список программ обещают расширить. Само собой, чтобы Cortana что-то прочла, ей нужно дать соответствующие разрешения. По умолчанию функция, конечно, отключена. Также в ближайшее время она станет доступна и для пользователей Cortana на Android и iOS.

/14 фев, 07:30/ автор: MPAK (iXBT.com) сайт: www.ixbt.com

Известный аналитик KGI Securities Мин-Чи Куо (Ming-Chi Kuo) считает, что смартфоны iPhone нового поколения, которые будут оснащены экранам OLED, получат увеличенный аккумулятор. В частности, модель с экраном диагональю 4,7 дюйма получит АКБ ёмкостью около 2700 мА·ч, что автоматически означает автономность примерно на уровне iPhone 7 Plus или даже выше.

Причём аккумулятор будет состоять из двух ячеек, расположенных так, как можно видеть на изображении ниже.

Apple использует уникальную конструкцию печатной платы в новых смартфонах

Также можно заметить, что печатная плата такого смартфона будет очень маленькой. Это необходимо для того, чтобы при увеличении аккумулятора сохранить габариты и толщину корпуса. А достигнуто это будет за счёт использования специальной печатной платы, состоящей из нескольких отдельных слоёв.

Интересно то, что для iPhone нового поколения с экраном IPS ничего подобного использоваться не будет, что должно означать худшую автономность. Хотя последние события указывают на то, что новых iPhone с экранами IPS может и не появиться.

/14 фев, 07:00/ автор: MPAK (iXBT.com) сайт: www.ixbt.com

Ноутбуки Blade и Blade Stealth компания Razer обновляла в сентябре прошлого года. В частности, модель Blade получила видеокарту GeForce GTX 1060 вместо GTX 970M, что существенно сказалось на производительности в играх. А вот процессор остался неизменным: Intel Core i7-6700HQ. Причина этого заключалась в том, что на тот момент четырёхъядерных мобильных CPU Kaby Lake на рынке ещё не было.

И вот, спустя полгода, Razer снова обновляет модель Blade. На сей раз, не тронув графическую подсистему, производитель обновил платформу. Теперь сердцем обновлённого ноутбука служит Core i7-7700HQ. Напомним, модель Core i7-6700HQ работает на частотах 2,6-3,5 ГГц, тогда как Core i7-7700HQ может похвастать частотами 2,8-3,8 ГГц.

Основой обновлённого Razer Blade стал Intel Core i7-7700HQ

В остальном же никаких отличий нет. Ноутбук доступен в вариантах с экраном Full HD либо 4K UHD, 16 ГБ ОЗУ, SSD объёмом 256, 512 ГБ или 1 ТБ. В конфигурацию входят также адаптеры беспроводных интерфейсов, порты USB 3.0 (x3), Thunderbolt 3, HDMI 2.0, Gigabit Ethernet и аккумулятор ёмкостью 70 Вт·ч. Размеры устройства равны 345 х 235 х 17,9 мм при массе 1,93 кг. Начальная стоимость составляет 1900 долларов, а купить новинку можно уже сегодня.

Поиск по сайту
Обратная связь
Разработчикам
Реклама на сайте

Политика конфиденциальности
Пользовательское соглашение

 

Filebox.ru каталог архив программного обеспечения для Windows, работает с 2003 года.
Copyright © 2003-2026 Filebox.ru All Rights Reserved.

Яндекс.Метрика