Лента технологий за 20/09/2016, Вторник - Filebox.ru  Программы | Новости | ТОП-100 программ | Статьи

Лента технологий за 20/09/2016, Вторник - Filebox.ru

Лента технологий | Подборка за 20 сентября 2016 г. 00:00:00

/20 сен, 20:14/ автор: Accent (iXBT.com) сайт: www.ixbt.com

Шведская компания Handheld обновила планшет в усиленном исполнении Algiz 10X, выпускаемый с 2012 года. От своего предшественника обновленный планшет отличается, в частности, улучшенным экраном и навигационным приемником u-blox NEO-M8N, поддерживающим не только GPS, но и GLONASS.

Производитель отмечает, что цена Handheld Algiz 10X не изменилась

Планшет оснащен экраном размером 10,1 дюйма по диагонали, разрешение которого увеличено с 1366 х 768 до 1920 x 1200 пикселей. Экран — сенсорный, но не резистивного типа, как раньше, а емкостного, способный распознать до десяти одновременных прикосновений. Экраном можно пользоваться в перчатках. Ест и специальный режим для работы под дождем.

Конфигурация планшета включает процессор Intel Celeron N2930, работающий на частоте 1,83 ГГц (разгоняется до 2,16 ГГц), который пришел на смену процессору Intel Atom N2800; 4 ГБ памяти DDR3 и SSD объемом 128 ГБ. Работает устройство под управлением Windows 10 Enterprise LTSB.

В оснащении Algiz 10X появился порт USB 3.0, а модуль беспроводной связи теперь соответствует спецификации Wi-Fi 802.11ac. Планшет также оснащен интерфейсами Bluetooth 4.0, USB 2.0, RS232, сотовым модемом, камерой разрешением 5 Мп, слотом для карт памяти и видеовыходом VGA.

Производитель отмечает, что цена Handheld Algiz 10X не изменилась

Степень защиты планшета — IP65. Кроме того, устройство удовлетворяет требованиям стандарта MIL-STD-810G по части устойчивости к внешним воздействиям. Стандартная аккумуляторная батарея с возможностью горячей замены имеет емкость 5300 мА∙ч (39,22 Вт∙ч), усиленная — 10600 мА∙ч (78,44 Вт∙ч). Габариты и масса устройства остались неизменными: 275 x 171 x 32 мм и 1,3 кг соответственно. Производитель отмечает, что и цена не изменилась, но не называет ее.

Источник: Handheld

/20 сен, 19:45/ автор: Accent (iXBT.com) сайт: www.ixbt.com

Ассортимент Lexar пополнили устройства C1 и M1, предназначенные для работы с карточками памяти microSD. Они очень похожи между собой, но модель Lexar C1 оснащена разъемом USB-C, а модель Lexar M1 — разъемом micro-USB.

Рекомендованная производителем розничная цена C1 равна $13, M1 — $10

C помощью Lexar C1 и M1 можно получить доступ к карточке памяти на ПК, планшете, смартфоне и другом устройстве, оснащенном подходящим портом. Это позволяет, например, быстро перенести на них видеоролики, снятые экшн-камерой. Отметим, что модель Lexar C1 поддерживает скорости USB 3.1 Gen 1.

Рекомендованная производителем розничная цена C1 равна $13, M1 — $10

Рекомендованная производителем розничная цена C1 равна $13, M1 — $10. Пока продажи не начались, увидеть новинки можно на стенде Lexar на выставке Photokina 2016.

Источник: Micron

/20 сен, 19:20/ автор: Accent (iXBT.com) сайт: www.ixbt.com

Ассортимент компании OmniVision Technologies пополнил датчик изображения OV10650, который предназначен для автомобильных систем помощи водителю. По подсчетам производителя, OV10650 — первый датчик изображения разрешением 1,7 Мп с соотношением сторон кадра 2:1 и динамическим диапазоном 120 дБ.

OmniVision OV10650 — первый датчик изображения разрешением 1,7 Мп с соотношением сторон кадра 2:1 и динамическим диапазоном 120 дБ

В датчике применяется технология обратной засветки OmniBSI. Размер пикселя равен 4,2 мкм. Датчик способен формировать видео разрешением 1820 х 940 пикселей с кадровой частотой до 60 к/с. Он совместим с процессорами изображений OV491 и OV495.

Одновременно представлен датчик OV10652, который отличается цветовым фильтром. По словам разработчиков, датчики OV10650 и OV10652 найдут применение в системах обнаружения пешеходов и дорожных знаков, предупреждения о сходе с занимаемой полосы движения и опасности столкновения.

Размеры изделий в исполнении CSP равны 9,5 х 6,8 мм. Ознакомительные образцы OV10650 и OV10652 уже доступны, а серийный выпуск производитель планирует начать в третьем квартале 2017 года.

Источник: OmniVision

/20 сен, 19:03/ автор: Accent (iXBT.com) сайт: www.ixbt.com

Под маркой Lexar представлена карта памяти 633x microSDXC объемом 256 ГБ. Она соответствует спецификациям UHS-I (U3). Предполагается, что карточка найдет применение в экшн-камерах, планшетах и смартфонах.

В режиме чтения карта памяти Lexar 633x microSDXC объемом 256 ГБ развивает скорость до 95 МБ/с

В режиме чтения новый сменный носитель демонстрирует скорость до 95 МБ/с. По подсчетам производителя, на карточке помещается более 36 часов видео высокой четкости или 67600 фотографий или 58100 песен.

В комплект поставки карточки входит устройство для работы с ней, оснащенное интерфейсом USB 3.0. Линейка 633x также включает носители объемом 200, 128, 64, 32 и 16 ГБ.

Источник: Micron

/20 сен, 18:49/ автор: Accent (iXBT.com) сайт: www.ixbt.com

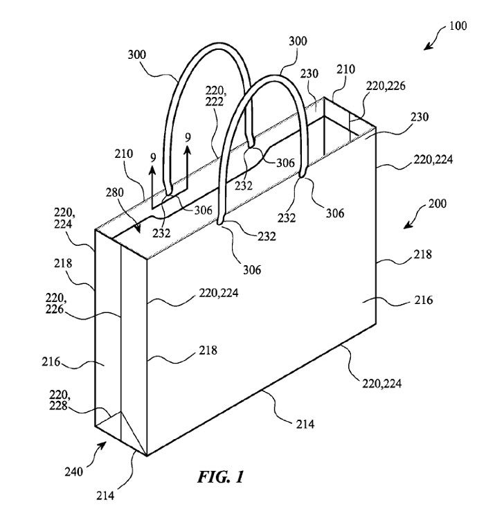
В базе данных американского патентного бюро появилась заявка на патент, поданная Apple в марте этого года. Патентуемое изобретение называется незамысловато — «сумка». В патенте описан «бумажный пакет, который может включать контейнер, сформованный из плотной отбеленной бумаги, не менее чем на 60% изготовленной из вторсырья».

По мнению изобретателей, пакет можно использовать в розничной торговле

Бумажный пакет, описанный в заявке, стал плодом интеллектуальных усилий трех человек. По мнению изобретателей, пакет можно использовать в розничной торговле, складывая в него покупки.

Источник: USPTO

/20 сен, 17:36/ автор: Accent (iXBT.com) сайт: www.ixbt.com

Компания Panasonic синхронизировала с открытием выставки Photokina анонс компактной камеры Lumix DMC-LX10, предварительные сведения о которой появились несколько дней назад.

Продажи Panasonic Lumix DMC-LX10 должны начаться в ноябре по цене $700

Коротко говоря, вся опубликованная ранее информация подтвердилась. В камере используется дюймовый датчик изображения типа BSI CMOS разрешением 20,1 Мп. Диапазон светочувствительности, равный ISO 125-12800, может быть расширен до ISO 80-25600. Изображение на рабочую поверхность датчика проецирует объектив, охватывающий диапазон ЭФР 24-72 мм при максимальной диафрагме F/1,4-F/2,8. Контрастная фокусировка выполняется по 49 точкам. Минимальное расстояние фокусировки равно 30 см, но в режиме макросъемки оно уменьшается до 3 см. Камера оснащена гибридной системой стабилизации изображения.

Продажи Panasonic Lumix DMC-LX10 должны начаться в ноябре по цене $700

В режиме видеосъемки доступно разрешение 4K с частотой 24 или 30 к/с и разрешение Full HD с частотой 24, 30 или 60 к/с. Скорость серийной съемки достигает 10 к/с.

Из элементов оснащения камеры можно упомянуть встроенную вспышку, подвижный трехдюймовый сенсорный дисплей разрешением 1,04 млн точек, интерфейсы Wi-Fi 802.11b/g/n, USB и HDMI. В качестве сменных носителей используются карты SD, SDHC и SDXC. Камера размерами 106 x 60 x 42 мм с аккумулятором весит 310 г. Без подзарядки она может сделать 260 снимков.

Продажи Panasonic Lumix DMC-LX10 должны начаться в ноябре по цене $700.

Источник: Panasonic

/20 сен, 16:47/ автор: MPAK (iXBT.com) сайт: www.ixbt.com

Задолго до официального анонса, благодаря многочисленным утечкам, мы знали, что особенных изменений во внешности смартфонов Apple iPhone 7 не произойдёт, что расстраивало. Но Apple решила пойти достаточно простым путём, показав два новых цвета. Причём большая часть анонса прошла под эгидой цвета Jet Black, который действительно значительно преображает устройство.

Правда, потом стало известно, что такой вариант аппарата легко царапается и быстро покрывается отпечатками пальцев, но вряд ли это остановило желающих.

Смартфон Vivo X7 Obsidian Black Edition похож на iPhone 7 в цвете Jet Black

Не долго думая, компания Vivo решила скопировать подход Apple и представила смартфон X7 Obsidian Black Edition. Несложно догадаться, что специалисты Vivo попытались скопировать цвет нового iPhone. Наверняка там используется иная технология производства, но сути подхода это не меняет. Будет ли царапаться новинка Vivo, пока неизвестно. В продажу такая версия попадёт 26 сентября.

Смартфон Vivo X7 Obsidian Black Edition похож на iPhone 7 в цвете Jet Black

С точки зрения технических характеристики отличий от оригинала нет. То есть используется всё тот же экран Full HD диагональю 5,2 дюйма, SoC Snapdragon 652 и 4 ГБ ОЗУ.

/20 сен, 16:46/ автор: Accent (iXBT.com) сайт: www.ixbt.com

В Кельн, на выставку Photokina 2016, компания Western Digital привезла прототип карты памяти SanDisk SDXC объемом 1 ТБ. Это первая карточка SDXC такого объема. Кстати, предыдущий рекорд — 512 ГБ — тоже принадлежал карточке SanDisk.

Прототип показан на выставке Photokina 2016

Предполагается, что карточки указанного объема будут востребованы у профессионалов фото- и видеосъемки, особенно в случае съемки видео с разрешением 4K и 8K. О скоростных показателях карточки производитель говорить не стал, но напомнил, что 16 лет назад была представлена карточка объемом 64 МБ, то есть объем сменных носителей формата SD за эти годы вырос очень значительно.

Источник: Western Digital

/20 сен, 16:17/ автор: MPAK (iXBT.com) сайт: www.ixbt.com

Обычные мобильные телефоны всё ещё продаются сотнями миллионов в год, хотя далеко не в каждой стране есть хороший выбор таких устройств.

Компания Microsoft неожиданно представила новинку под брендом Nokia — мобильный телефон Nokia 216. Вероятно, это последний аппарат Nokia, созданный редмондским гигантом, так как права на бренд были проданы китайцам.

Мобильный телефон Nokia 216 не поддерживает Wi-Fi

Новинка выполнена в стиле последних аппаратов Nokia и не выделяется никакими особенными функциями. Аппарат работает на основе программной платформы Series 30+, что обуславливает его возможности.

Nokia 216 оснастили экраном диагональю 2,4 дюйма разрешением 320 х 240 пикселей. Объём ОЗУ указан равным 16 МБ, хотя вряд ли это важно для такого устройства. Собственной флэш-памяти аппарат не имеет, так что нужно использовать карты microSD. Любопытно смотрится наличие вспышки у фронтальной камеры разрешением всего 0,3 Мп. Основная, к слову, ровно такая же. Nokia 216 лишён модуля Wi-Fi и поддерживает лишь сети 2.5G.

Мобильный телефон Nokia 216 не поддерживает Wi-Fi

Зато тут достаточно ёмкий аккумулятор — 1020 мА•ч. Его должно хватить для 18 часов в режиме разговора и 47 часов проигрывания музыки. В режиме ожидания мобильный телефон способен продержаться почти месяц. Размеры устройства составляют 118 х 50,2 х 13,5 мм при массе 82,6 г. О стоимости пока не сообщается.

/20 сен, 15:59/ автор: Accent (iXBT.com) сайт: www.ixbt.com

Одновременно с другими новинками компания Olympus представила на выставке Photokina внешнюю вспышку FL-900R. Ее ведущее число равно 58. По словам производителя, работая в паре с камерой OM-D E-M1 Mark II, которую Olympus обещает выпустить до конца года, вспышка поддерживает серийную съемку со скоростью 10 к/с. Время перезарядки между срабатываниями на полной мощности примерно равно 2,5 с. Вспышка совместима с камерами E-M1, E-M1 Mark II и E-M5 Mark II.

Вспышка Olympus FL-900R стоит примерно $580

Подвижная головка вспышки зуммируется, охватывая угол, соответствующий ЭФР объектива 24-200 мм. Встроенный рассеиватель позволяет охватить диапазон 14-20 мм. Вспышка совмещена со светодиодным светильником для видеосъемки. Он обеспечивает освещенность 100 лк на расстоянии 1 м. Вспышка поддерживает беспроводное управление по радиоканалу и работу роли ведомой или ведущей с возможностью управлять другими вспышками по инфракрасному каналу.

Вспышка Olympus FL-900R стоит примерно $580

К плюсам устройства производитель относит защиту от пыли, брызг и воздействия низких температур (вспышка сохраняет работоспособность при температуре до -10°C).

Другие технические подробности, вероятно, станут известны ближе к началу продаж, намеченному на октябрь. Цена новинки примерно равна $580.

Источник: Olympus

/20 сен, 15:58/ автор: MPAK (iXBT.com) сайт: www.ixbt.com

Компания JK Imaging, выпускающая камеры под брендом Kodak, пополнила ассортимент экшн-камер моделью PixPro 4KVR360. Новинка появится в продаже в начале следующего года, хотя её стоимость пока не объявлена.

Экшн-камера Kodak PixPro 4KVR360 появится в продаже в следующем году

Из не очень запоминающегося названия несложно понять, что речь об устройстве, способном снимать видео в разрешении 4K и предоставляющем 360-градусный обзор, что пригодится, к примеру, для создания контента для устройств виртуальной реальности.

Чтобы это реализовать Kodak наделила новинку двумя 20-мегапиксельными датчиками изображения, «смотрящими» в противоположные стороны. Устройство защищено от пыли и влаги, но о полноценной защите от воды речи не идёт.

Экшн-камера Kodak PixPro 4KVR360 появится в продаже в следующем году

Также известно о наличии модулей Wi-Fi, Bluetooth, NFC, слоте для карт microSD и электронной стабилизации изображения. Больше подробностей о камере, видимо, можно будет узнать уже после выхода устройства на рынок.

/20 сен, 15:21/ автор: Accent (iXBT.com) сайт: www.ixbt.com

Одновременно с объективами Sigma 85mm F1.4 DG HSM Art и Sigma 12-24mm F4 DG HSM Art на выставке Photokina, открывшейся в Кельне, был представлен полнокадровый объектив Sigma 500mm F4 DG OS HSM Sport, предварительные данные о котором появились на прошлой неделе. Стабилизированный телеобъектив Sigma 500mm F4 DG OS HSM Sport предназначен, преимущественно, для съемки спортивных событий и живой природы.

Объектив Sigma 500mm F4 DG OS HSM Sport выпускается в вариантах для камер Canon, Nikon и Sigma

Производитель отмечает использование в конструкции объектива деталей из магниевого сплава, защиту от пыли и влаги, а также наличие на переднем элементе покрытия, отталкивающего воду и жир. Бленда изготовлена из пластика, армированного углеродным волокном. В объективе есть слот для поляризующего, ультрафиолетового или другого фильтра. К интересным особенностям Sigma 500mm F4 DG OS HSM Sport относится функция сохранения положения фокусировки для последующего возврата к нему. Объектив совместим с телеконвертором Sigma, приобретаемым отдельно.

Основные технические данные объектива Sigma 500mm F4 DG OS HSM Sport:

  • Фокусное расстояние — 500 мм;
  • Максимальная диафрагма — F/4;
  • Минимальная диафрагма — F/32;
  • Количество лепестков диафрагмы — 9;
  • Оптическая схема — 16 элементов в 11 группах;
  • Минимальная дистанция фокусировки — 3,5 м;
  • Максимальное увеличение — 1:6,5;
  • Диаметр фильтра — 46 мм;
  • Габариты — диаметр 145 мм, длина 380 мм;
  • Масса — будет названа позже.

Запланирован выпуск объектива в вариантах для камер Canon, Nikon и Sigma. Варианты для камер Canon и Sigma появятся в продаже в конце октября. Вариант для камер Nikon, имеющий электромагнитную диафрагму, станет доступен в конце ноября. Рекомендованная розничная цена новинки примерно равна $6000.

Источник: Sigma

/20 сен, 14:25/ автор: MPAK (iXBT.com) сайт: www.ixbt.com

Недавно компания BlackBerry представила «самый защищённый смартфон с Android» — модель DTEK50. На самом деле DTEK50 является немного изменённым внешне аппаратом Alcatel Idol 4, который BlackBerry доработала на уровне ПО и операционной системы.

Смартфон BlackBerry DTEK60 будет новым флагманом компании

Теперь же в Сети появилась информация о модели DTEK60. Судя по всему, это также будет брендированный вариант одной из моделей Alcatel. Только на сей раз уже флагманской, причём пока ещё не существующей в природе. То есть тот аппарат, на основе которого создадут DTEK60, ещё не был представлен.

Смартфон BlackBerry DTEK60 будет новым флагманом компании

Но мы знаем его характеристики благодаря базе данных ПО GFXBench, хотя там он фигурирует под именем TCL 950. То есть новинка BlackBerry (и Alcatel) получит экран диагональю 5,5 дюйма и SoC Snapdragon 820. Согласно новым данным, разрешение дисплея составит 2560 х 1440 пикселей. Кроме того, устройства получат порт USB-C. Когда именно будут представлены смартфоны, пока неизвестно.

/20 сен, 14:12/ автор: Accent (iXBT.com) сайт: www.ixbt.com

Одновременно с объективом Sigma 85mm F1.4 DG HSM Art, компания Sigma представила на выставке Photokina полнокадровый объектив Sigma 12-24mm F4 DG HSM Art. Сверхширокоугольный трансфокатор с постоянной максимальной диафрагмой предназначен, в первую очередь, для съемки пейзажей, архитектурных объектов и интерьеров.

Объектив Sigma 12-24mm F4 DG HSM Art выпускается в вариантах для камер Canon, Nikon и Sigma

В отличие от Sigma 85mm F1.4 DG HSM Art, подробные спецификации Sigma 12-24mm F4 DG HSM Art пока отсутствуют на сайте производителя. Вместе с тем, известно, что продажи объектива должны начаться в конце октября по цене $1600.

Интересный факт: по данным производителя, в оптическую схему Sigma 12-24mm F4 входит самый большой в отрасли литой асферический элемент из стекла. Как утверждается, объектив формирует изображения практически без искажений и артефактов. Минимальная дистанция фокусировки равна 24 см, что расширяет возможности композиции, позволяя снимать объекты крупным планом.

Объектив будет предложен в вариантах для камер Canon, Nikon и Sigma. Вариант для камер Nikon имеет электромагнитное управление диафрагмой.

Источник: Sigma

/20 сен, 13:55/ автор: Accent (iXBT.com) сайт: www.ixbt.com

Компания Sigma приурочила к выставке Photokina выпуск полнокадрового объектива Sigma 85mm F1.4 DG HSM Art, который предназначен для портретной съемки. К его достоинствам производитель относит красивое размытие в зоне нерезкости и увеличенную по сравнению с похожей предшествующей моделью скорость фокусировки. Кстати, что касается фокусировки, фотограф имеет возможность в любой момент вмешаться в работу системы автофокусировки, начав вращать кольцо.

Объектив Sigma 85mm F1.4 DG HSM Art выпускается в вариантах для камер Canon, Nikon и Sigma

Основные технические данные объектива Sigma 85mm F1.4 DG HSM Art:

  • Фокусное расстояние — 85 мм;
  • Максимальная диафрагма — F/1,4;
  • Минимальная диафрагма — F/16;
  • Количество лепестков диафрагмы — 9;
  • Оптическая схема — 14 элементов в 12 группах;
  • Минимальная дистанция фокусировки — 0,85 м;
  • Максимальное увеличение — 1:8,5;
  • Установочный диаметр фильтра — 86 мм;
  • Габариты — диаметр 94,7 мм, длина 126,2 мм;

Объектив выпускается в вариантах для камер Canon, Nikon и Sigma. Вариант для камер Nikon имеет электромагнитное управление диафрагмой. В продаже Sigma 85mm F1.4 Art появится в конце октября по цене $1200.

Источник: Sigma

/20 сен, 13:44/ автор: MPAK (iXBT.com) сайт: www.ixbt.com

Компания HTC представила новые смартфоны Desire 10 Pro и Desire 10 Lifestyle. Стоимость новинок пока неизвестна, так что сложно говорить об их позиционировании. Но тематические издания утверждают, что младший аппарат обойдётся в сумму «менее 300 евро», а старший, соответственно, будет несколько дороже.

Смартфоны выполнены в привычном для последних аппаратов Desire стиле, но за счёт золотистых акцентов и некоторых других элементов выглядят оригинально и достаточно самобытно. Обе версии доступны в четырёх цветовых вариантах: чёрном, белом, тёмно-синем и некоем цвете Valentine Lux, похожем на светло-бирюзовый.

Смартфон HTC Desire 10 Lifestyle получил SoC Snapdragon 400

Выполнены устройства из пластика, но рамка всё-таки металлическая. С точки зрения размеров модели практически не отличаются, так как обе оснащены экранами диагональю 5,5 дюйма. размеры Desire 10 Lifestyle составляют 156,9 х 76,9 х 7,7 мм при массе 155 г, а у Desire 10 Pro габариты равны 156,5 х 76 х 7,86 мм при массе 165 г.

Смартфон HTC Desire 10 Lifestyle получил SoC Snapdragon 400

В остальном смартфоны практически полностью разные. Desire 10 Lifestyle выглядит очень странно. Причиной этому является однокристальная система Snapdragon 400, вышедшая на рынок ещё в начале 2013 года и давно ушедшая на покой. В голову не приходит ни единой внятной причины, по которой HTC решила бы использовать столь устаревшее решение вместо более современных. Конечно, нужно дождаться обзоров, чтобы оценить уровень быстродействия аппарата, но заочно оптимизма такая конфигурация не внушает.

Смартфон HTC Desire 10 Lifestyle получил SoC Snapdragon 400

В остальном серьёзных претензий к аппарату нет. Он получил дисплей разрешением 1280 х 720 пикселей, 2 ГБ ОЗУ и 16 ГБ флэш-памяти либо 3 ГБ ОЗУ и 32 ГБ флэш-памяти в зависимости от конфигурации, слот microSD и аккумулятор ёмкостью 2700 мА•ч. Фронтальная камера основана на пятимегапиксельном модуле, а основная характеризуется разрешением 13 Мп. Модель позволяет установить лишь одну карту SIM, тогда как Desire 10 Pro уже может работать с двумя.

Смартфон HTC Desire 10 Lifestyle получил SoC Snapdragon 400

Также Desire 10 Pro выделяется дисплеем Full HD, SoC MediaTek Helio P10, 4 ГБ ОЗУ и 64 ГБ флэш-памяти. Фронтальная камера имеет разрешение 13 Мп. Основная получила 20-мегапикселный датчик и характеризуется максимальной диафрагмой F/2.2, а также наличием лазерного помощника автофокуса. Ёмкость аккумулятора у этого смартфона больше — 3000 мА•ч. Кроме того, старший аппарат может заинтересовать динамиками BoomSound и сканером отпечатков пальцев. Работают новинки под управлением Android 6.0.

/20 сен, 13:05/ автор: MPAK (iXBT.com) сайт: www.ixbt.com

Не секрет, что в начале следующего года AMD должна выпустить графический процессор Vega и флагманскую видеокарту на его основе. До сегодняшнего дня нельзя было даже приблизительно предположить уровень производительности этого решения, но большинство в качестве ориентира использует GeForce GTX 1080.

Как бы там ни было, в Сеть попали крохи информации о новых GPU AMD. Начнём с самого интересного. GPU Vega 10 и видеокарта на его основе должны появиться на рынке уже в первом квартале следующего года. Источник утверждает, что новый графический процессор будет содержать 64 вычислительных блока, что соответствует 4096 потоковым процессорам. У Radeon RX 480, напомним, таковых 2304. То есть можно ожидать очень внушительную разницу в производительности. А если учесть, что флагманская 3D-карта получит 16 ГБ памяти HBM2 с пропускной способностью 512 ГБ/с, то всё становится ещё интереснее. Уровень энергопотребления должен составить 225 Вт.

В первом полугодии следующего года на рынок выйдет видеокарта с двумя GPU Vega 10

Кварталом позже должна быть анонсирована видеокарта с двумя GPU Vega 10, которая будет ограничиваться TDP 300 Вт. Производиться новые GPU будут, естественно, по 14-нанометровому техпроцессу.

А вот графическому процессору Vega 20 приписывают нормы 7 нм. Якобы он также будет содержать 64 вычислительных блока и уже 32 ГБ памяти HBM2 с пропускной способностью 1 ТБ/с. TDP составит всего 150 Вт. Учитывая тот факт, что GlobalFoundries выпустит первые 7-нанометровые продукты лишь в начале 2018 года, ожидать новую флагманскую видеокарту стоит не ранее середины 2018 года. По этой же причине сравнивать GPU Vega 20 и Vega 10 по количеству вычислительных блоков смысла нет, так как это будут разные поколения архитектуры с кодовым названием GFX9.

Ещё одна любопытная новость заключается в том, что GPU Polaris 10 будет заменён на Vega 11 в следующем году. Но спецификаций этого процессора пока нет. Ну и напоследок источник говорит о том, что GPU поколения Navi появятся на рынке лишь в 2019 году.

/20 сен, 12:44/ автор: MPAK (iXBT.com) сайт: www.ixbt.com

Рынок автомобильной электроники растёт внушительными темпами. К примеру, компания Nvidia уже давно смекнула, что это совершенно новый только зарождающийся сегмент, который в будущем может принести большую выручку.

Теперь и компания ARM решила, что пора разработать что-то, ориентированное именно на автомобильный сегмент. Итогом работы стало процессорное ядро Cortex-R52. На основе таких ядер и должны, по мнению ARM, создаваться автомобильные микропроцессоры, предназначенные для систем автопилотирования. Кроме того, Cortex-R52 ориентированы на медицинскую сферу.

ARM представила ядро Cortex-R52

В основе нового решения лежит архитектура ARMv8-R, представленная ещё в 2013 году. Но лишь сейчас ARM создала первое процессорное ядро с данной архитектурой. Напомним, основной особенностью ARMv8-R является аппаратный гипервизор, позволяющий программистам комбинировать различные операционные системы, задачи реального времени и приложения на одном процессоре. При этом различные «модули» остаются изолированными друг от друга. Ядро соответствует строгим автомобильным стандартам ISO 26262 ASIL D и IEC 61508 SIL 3. Cortex-R52 хорошо подходит для систем, требующих дополнительных функций безопасности.

STMicroelectronics стала первым партнёром ARM, который лицензировал новое ядро для своих однокристальных систем. Однако пройдёт ещё немало времени прежде чем на рынке появятся готовые решения с Cortex-R52, не говоря уже о том моменте, когда эти самые решения найдут применение в серийных автомобилях.

/20 сен, 12:35/ автор: Jin (iXBT.com) сайт: www.ixbt.com

Согласно свежим данным, компания Samsung потратит на замену аккумуляторов в проданных смартфонах Samsung Galaxy Note7 около 1,5 млрд долларов. Что касается рыночной стоимости кампании, которая обвалилась после появления новостей о взрывающихся аккумуляторов, то, как видно на графике, она начала восстанавливаться.

Смартфон Samsung Galaxy Note7 продавался на 25% лучше предшественника перед началом отзывной кампании

Как сообщают различные издания со ссылкой на BayStreet Research, до начала отзывной кампании Samsung Galaxy Note7 продавался на 25% лучше предшественника в лице Samsung Galaxy Note 5.

По оценке той же исследовательской фирмы, итоговый доход от продаж Samsung Galaxy Note7 составит лишь 60% дохода, который принес в свое время Galaxy Note 5. При этом аналитики уверены, что Samsung Galaxy Note7 мог продаваться не хуже Galaxy S7 и Galaxy S7 Edge, которые стали самыми успешными смартфонами производителя.

Смартфон Samsung Galaxy Note7 продавался на 25% лучше предшественника перед началом отзывной кампании

BayStreet Research добавляет, что американские продажи смартфонов Samsung в третьем квартале снизятся на 6% по сравнению со вторым кварталом и составят 7,2 млн единиц.

О том, как выявить потенциально опасные Samsung Galaxy Note7, читайте в нашей предыдущей заметке.

/20 сен, 12:35/ автор: Accent (iXBT.com) сайт: www.ixbt.com

Компания Panasonic представила камеру Lumix DMC-FZ2500, которая на некоторых рынках будет называться DMC-FZ2000. Отметим, что предварительная информация о DMC-FZ2000, которая появилась накануне, полностью подтвердилась.

Камера Panasonic Lumix DMC-FZ2500 поддерживает съемку видео 4K

В камере используется датчик изображения типа CMOS оптического формата 1 дюйм (13,2 x 8,8 мм) разрешением 20,1 Мп. Он работает в паре со стабилизированным объективом Leica DC Vario-Elmarit с ЭФР 24-480 мм. Максимальная диафрагма при изменении фокусного расстояния изменяется в пределах F/2,8-F/4,5. Объектив оснащен стабилизатором и нейтральным фильтром, плотность которого можно выбрать равной 2EV, 4EV или 6EV.

Камера Panasonic Lumix DMC-FZ2500 поддерживает съемку видео 4K

В описании камеры производитель большое внимание уделил функции видеосъемки. Максимальное разрешение видеосъемки — 4096 x 2060 пикселей. При этом кадровая частота равна 24 к/с. Уменьшив разрешение до 3840 x 2160 пикселей, можно повысить частоту до 30 к/с, а при разрешении 1920 x 1080 пикселей кадровая частота может быть выбрана равной 60 к/с. В режиме серийной съемки скорость равна 12 к/с.

Камера Panasonic Lumix DMC-FZ2500 поддерживает съемку видео 4K

Базовый диапазон светочувствительности равен ISO 125-12800, расширенный — ISO 80-25600. Диапазон выдержки простирается от 1/16000 с до 60 с. Фотографу доступно 49 точек фокусировки. Камера оснащена электронным видоискателем OLED разрешением 2,36 млн точек и подвижным сенсорным трехдюймовым жидкокристаллическим дисплеем разрешением 1,04 млн точек. В оснащении устройства также можно отметить встроенную вспышку, горячий башмак, интерфейсы USB, HDMI и Wi-Fi 802.11b/g/n.

Камера Panasonic Lumix DMC-FZ2500 поддерживает съемку видео 4K

При габаритах 138 x 102 x 135 мм камера с аккумулятором весит 915 г. На одной зарядке она может сделать 350 снимков.

Продажи Panasonic Lumix DMC-FZ2500 должны начаться в ноябре по цене $1200.

Источник: Panasonic

/20 сен, 11:50/ автор: MPAK (iXBT.com) сайт: www.ixbt.com

В последние годы на рынке смартфонов можно отметить некую стабильность в одном из вопросов. Речь о качестве дисплеев. Уже несколько поколений подряд флагманские смартфоны Samsung получают титул носителей лучших мобильных экранов на рынке, а модели iPhone — лучших жидкокристаллических экранов. По крайней мере, если верить DisplayMate.

Вот и iPhone 7 заслужил аналогичный титул. У нового дисплея достаточно преимуществ перед экраном в iPhone 6s, несмотря на идентичную диагональ и разрешение.

Apple iPhone 7 — носитель отличного дисплея

К примеру, впервые для смартфонов Apple можно говорить о соответствии не только цветовому пространству sRGB / Rec.709 (104%), но и DCI-P3 (102%). На данный момент только три производителя смартфонов могут похвастаться соответствием гамме DCI-P3 в своих устройствах.

Также источник отметил очень высокую максимальную яркость панели. В ручном режиме она достигает 602 кд/м², а в автоматическом доходит до 705 кд/м².

Что касается точности цветопередачи, то экран в новом смартфоне Apple и вовсе является лидером на рынке. В отчёте сказано, что дисплей, весьма вероятно, лучше, чем на любом мобильном устройстве, мониторе или телевизоре, который у вас есть.

Дополнительно можно выделить очень низкий коэффициент отражения (4,4%) и высокое значение контрастности (1762:1).

/20 сен, 11:31/ автор: Accent (iXBT.com) сайт: www.ixbt.com

Ориентируясь на потребности профессиональных фотографов, компания Fujifilm анонсировала среднеформатную беззеркальную фотосистему GFX. По словам производителя, она обеспечит «несравненное» качество изображения.

Систему откроет камера Fujifilm GFX 50S с датчиком формата Fujifilm G (43,8 x 32,9 мм) разрешением 51,4 Мп и несколько объективов Fujinon GF. Появление новинок на рынке намечено на 2017 год.

Новую фотосистему откроет камера Fujifilm GFX 50S

Камера позволит делать снимки с соотношением сторон кадра 4:3, 3:2, 1:1, 4:5, 6:7 и 6:17. В ней будет использоваться процессор X-Processor Pro. По сравнению с существующими камерами среднего формата Fujifilm GFX 50S будет меньше и легче. Длина рабочего отрезка равна 26,7 мм.

Новую фотосистему откроет камера Fujifilm GFX 50S

Электронный видоискатель сделан съемным. Используя переходник, можно будет устанавливать его под любым углом. Предусмотрено подключение внешнего монитора для визирования, доступа к настройкам и просмотра сделанных снимков.

Новую фотосистему откроет камера Fujifilm GFX 50S

Одновременно с камерой в продаже появится батарейная рукоятка, не только увеличивающая автономность камеры, но и облегчающая съемку в портретной ориентации.

Новую фотосистему откроет камера Fujifilm GFX 50S

Что касается объективов, на первом этапе планируется выпуск шести моделей: нормального объектива GF63mmF2.8 R WR (ЭФР 50 мм), широкоугольного зума GF32-64mmF4 R LM WR (ЭФР 25-51 мм), умеренного телеобъектива для макросъемки GF120mmF4 Macro R LM OIS WR (ЭФР 95 мм, увеличение 1:0,5), светосильного умеренного телеобъектива GF110mmF2 R LM WR (ЭФР 87 мм), сверхширокоугольного объектива GF23mmF4 R LM WR (ЭФР 18 мм) и широкоугольного объектива GF45mmF2.8 R WR (ЭФР 35 мм).

Новую фотосистему откроет камера Fujifilm GFX 50S

Во всех объективах управление диафрагмой будет возможно как с помощью соответствующего кольца, так и с помощью колесика управления на камере. Объективы будут защищены от пыли и атмосферных воздействий. Их можно будет использовать при низких температурах (до -10°C).

Цены производитель обещает назвать позже.

Источник: Fujifilm

/20 сен, 11:13/ автор: Jin (iXBT.com) сайт: www.ixbt.com

Неделю назад компания Apple начала распространение новой версии своей мобильной операционной системы, которая получила название iOS 10.

Свежие данные, предоставленные Mixpanel, указывают на то, что новая операционная система уже установлена на 34% совместимых устройств. В течение первых 24 часов iOS 10 была установлена на 14,5% устройств.

iOS 9 удерживает звание самой популярной операционной системы среди пользователей i-устройств, ее доля пока составляет 62%. Около 5% пользователей предпочитают iOS 8 и более старые версии данной ОС.

iOS 10 установлена на 34% совместимых устройств

Стоит вспомнить, что iOS 9 была установлена на 50% совместимых устройств через неделю после релиза.

Прежде чем делать выводы, стоит дождаться официальных данных от Apple.

/20 сен, 11:09/ автор: MPAK (iXBT.com) сайт: www.ixbt.com

Игровую гарнитуру ROG Centurion компания Asus показала ещё на выставке Computex 2016. Но, как это часто бывает в таких случаях, прошло несколько месяцев прежде чем устройство добралось до прилавков.

Игровая гарнитура Asus ROG Centurion получила усилитель ESS 9601

Итак, ROG Centurion — гарнитура, способная воспроизводить звук в формате 7.1. Но в данном случае нельзя говорить, что вся «многоканальность» эмулируется только лишь программным образом. Дело в том, что в каждой чашке наушников размещены по пять излучателей. Asus вообще называет свою новинку первой настоящей восьмиканальной гарнитурой.

Более того, в комплекте с гарнитурой поставляется специальная док-станция, выступающая в роли пульта управления и усилителя. В данном случае используется решение ESS 9601, что должно обеспечить лучшее качество звука.

Игровая гарнитура Asus ROG Centurion получила усилитель ESS 9601

Микрофон гарнитуры, как заявляет производитель, способен отсеять до 90% посторонних шумов. Что же касается наушников, для них заявлен частотный диапазон 20-20000 Гц, а импеданс составляет 32 Ом. Подключается вся связка к порту USB. Весит гарнитура 450 г, что нужно учитывать перед покупкой. К сожалению, стоимость новинки пока неизвестна.

/20 сен, 10:51/ автор: Jin (iXBT.com) сайт: www.ixbt.com

Напомним, компания Samsung в данный момент проводит кампанию по отзыву 2,5 млн смартфонов Samsung Galaxy Note7, аккумуляторы которых могут перегреваться, что приводит к возгоранию и/или взрыву устройства.

Некоторые пользователи уже получили возможность обменять свои Samsung Galaxy Note7 из стартовой партии на новые смартфоны, которые также скоро появятся в различных странах мира.

В Сети появилась простая инструкция, которая позволяет отличить потенциально опасные смартфоны от новых устройств, оснащенных проверенными аккумуляторами от надежного поставщика.

Достаточно посмотреть на иконку аккумулятора, которая должна быть зеленой в информационной панели в верхней части экрана (Status Bar), в режиме Always on Display и при отключении устройства. Если иконка не зеленая, то смартфон подпадает под действие отзывной кампании.

Samsung Galaxy Note7: как отличить потенциально опасные смартфоны от устройств из новых партий

Кроме того, наклейка с серийным номером на коробке с новыми Samsung Galaxy Note7 имеет небольшой черный квадрат.

Samsung Galaxy Note7: как отличить потенциально опасные смартфоны от устройств из новых партий

По словам различных источников, к провалу Samsung Galaxy Note7 привели спешка, усталость сотрудников и желание Samsung обойти Apple.

Возобновление продаж Samsung Galaxy Note7 запланировано на 28 сентября.

/20 сен, 10:35/ автор: Jin (iXBT.com) сайт: www.ixbt.com

Как сообщили сразу несколько источников, компания Google разослала по каналам СМИ приглашение на пресс-конференцию, которая пройдет 4 октября этого года.

Одновременно с этим был запущен сайт madeby.google.com, на котором нам демонстрируют различные фотографии. Последние появляются в рамке, которая соответствует форме большинства смартфонов, представленных на рынке.

Google подтвердила дату анонса смартфонов Pixel

Таким образом, компания косвенно подтвердила слухи о том, что 4 октября будут представлены новые смартфоны, которые должны называться Google Pixel и Google Pixel Plus. Как мы уже отмечали, их цена должна стартовать с отметки 650 долларов.

Кроме того, на пресс-конференции могут состояться анонсы новых поколений плеера Chromecast и планшета Pixel C.

/20 сен, 09:55/ автор: Jin (iXBT.com) сайт: www.ixbt.com

Компания Yi Technology представила беззеркальную камеру Yi M1, которая рассчитана в основном на обычных пользователей и новичков.

Представлена беззеркальная камера Yi M1 по цене от $330

Корпуса камеры и сменных объективов практически полностью выполнены из пластика. Видоискателя у камеры нет, его заменяет трехдюймовый дисплей разрешением 720 х 480 пикселей, рядом с которым располагаются кнопки управления различными функциями устройства.

Представлена беззеркальная камера Yi M1 по цене от $330

Yi M1 соответствует стандарту Micro Four Thirds (Микро 4/3), камера получила датчик изображения Sony IMX269 разрешением 20,16 Мп. Она характеризуется механическим затвором, возможностью серийной съемки со скоростью 5 к/с, сенсорным автофокусом, поддержкой формата RAW, возможностью записи видео в разрешении 4К при 30 к/с, а также поддержкой ISO от 100 до 25 600. Для связи с другими устройствами предусмотрены модули Bluetooth и Wi-Fi.

Представлена беззеркальная камера Yi M1 по цене от $330

Одновременно с камерой были анонсированы два объектива: с фокусным расстоянием 12-40 мм и максимальной диафрагмой F/2,5-5,6, а также с фиксированным фокусным расстоянием 42,5 мм и максимальной диафрагмой F/1,8.

Представлена беззеркальная камера Yi M1 по цене от $330

На выбор пользователям предложат два цветовых решения, запечатленных на изображениях. Камера с зум-объективом обойдется в $330, за комплект с двумя объективами придется отдать $450.

Представлена беззеркальная камера Yi M1 по цене от $330

Габариты новинки составляют 113,5 × 64,3 × 33,6 мм. В продажу Yi M1 поступит уже 23 сентября.

/20 сен, 09:34/ автор: Jin (iXBT.com) сайт: www.ixbt.com

Смартфон Xiaomi Mi5 поступил в продажу в начале марта по цене около 300 долларов, спустя пять с половиной месяцев производитель снизил рекомендованную розничную цену устройства до 270 долларов.

Meizu Pro 6, который является одним из конкурентов Xiaomi Mi5, вышел на рынок месяцем позже, поэтому и о снижении цены производитель решил объявить не одновременно с конкурентом, а только сейчас. Цена снизилась на те же 30 долларов, сейчас смартфон предлагается за 360 долларов.

Смартфон Meizu Pro 6 подешевел на $30 следом за Xiaomi Mi5

Согласно данным Price.ru, средняя цена Meizu Pro 6 в России сегодня составляет 27 995 руб. (102 предложения), а Xiaomi Mi5 — 22 747 руб. (55 предложений). Но, что интересно, в российской и украинской рознице смартфоны часто можно найти по очень похожим ценам, а в некоторых магазинах Meizu Pro 6 еще до снижения цены является более доступным вариантом.

/20 сен, 09:24/ автор: Accent (iXBT.com) сайт: www.ixbt.com

Специалисты Chipworks на днях разобрали не только смартфон Apple iPhone 7, добравшись до кристалла SoC Apple A10, но и смартфон Samsung Galaxy Note7.

Специалисты Chipworks обнаружили в смартфоне Samsung Galaxy Note7 три камеры и аккумулятор вьетнамской сборки

Основой экземпляра, попавшего к препараторам, служила однокристальная система Exynos 8 Octa (Exynos 8890) с восьмиядерным процессором. Конфигурация процессора включает четыре ядра M1 собственной разработки Samsung, работающих на частоте 2,3 ГГц, и четыре ядра ARM Cortex-A53, работающих на частоте 1,6 ГГц. Графический процессор ARM Mali-T880 MP12 имеет 12 ядер. Корме того, в SoC интегрирован модем LTE Category12/13. Изготовлена микросхема с использованием техпроцесса 14LPP finFET.

Специалисты Chipworks обнаружили в смартфоне Samsung Galaxy Note7 три камеры и аккумулятор вьетнамской сборки

Поверх SoC расположена микросхема памяти LPDDR4 SDRAM объемом 4 ГБ производства Samsung. Производителем модуля флэш-памяти объемом 64 ГБ, соответствующего спецификации USF 2.0, является Toshiba.

В смартфоне установлено не две камеры, как обычно, а три. Все они — производства Samsung.

На плате основной камеры разрешением 12 Мп виден гороскоп STMicroelectronics L2GIS (небольшая микросхема в центре), используемый в схеме оптической стабилизации изображения.

Специалисты Chipworks обнаружили в смартфоне Samsung Galaxy Note7 три камеры и аккумулятор вьетнамской сборки

Фронтальная камер имеет разрешение 5 Мп. Третья камера используется для сканирования радужной оболочки глаза.

Специалисты Chipworks обнаружили в смартфоне Samsung Galaxy Note7 три камеры и аккумулятор вьетнамской сборки

В свете истории с возгораниями интерес вызывает аккумулятор устройства. На иллюстрации он показан слева. Надписи свидетельствуют, что ячейка изготовлена в Китае, а сборка выполнена во Вьетнаме. Справа показан аккумулятор из смартфона, разобранного iFixit. Он изготовлен в Китае. Модель левого источника питания — EB-BN930ABE, правого — EB-BN930ABA. Вероятно, один из них изготовлен компанией Samsung SDI, поставляющей 70% аккумуляторов для Note7, а другой — китайской компанией ATL, поставляющей оставшиеся 30%.

Специалисты Chipworks обнаружили в смартфоне Samsung Galaxy Note7 три камеры и аккумулятор вьетнамской сборки

Источник: Chipworks

/20 сен, 09:20/ автор: MPAK (iXBT.com) сайт: www.ixbt.com

В начале лета компания AMD представила мобильные процессоры поколения Bristol Ridge. О начале поставок настольных производитель сообщил 5 сентября. Они используют процессорный разъём AM4, который также будет использоваться и решениями поколения Zen.

С архитектурной точки зрения Bristol Ridge не несут ничего нового. Они содержат процессорные ядра Excavator, знакомые нам по мобильным APU Carrizo, а также привычный уже GPU GCN 1.2. В принципе, не очень понятно, зачем вообще AMD выпустила это поколение с учётом скорого выхода Zen, но имеем что имеем.

На момент анонса никаких характеристик AMD не называла. APU Bristol Ridge ещё недоступны для покупки в розницу, но в Сети появились тесты гибридного процессора A12-9800. Начнём с его параметров. APU несёт четыре процессорных ядра с частотой 3,8/4,2 ГГц и GPU с 512 потоковыми процессорами, который работает на частоте до 1108 МГц, что очень немало для гибридного процессора. TDP при этом ограничивается всего 65 Вт. То есть над энергоэффективностью AMD явно поработала.

В Сети появились тесты процессора Bristol Ridge

Чего не скажешь о производительности, если судить по тестам. Но тут и не должно было произойти никакого чуда, учитывая архитектуру.

Итак, новинка сравнивалась с APU A10-7870K, который содержит четыре ядра с частотой 3,9/4,1 ГГц и GPU с теми же 512 потоковыми процессорами, но с частотой 866 МГц. И потребляет этот гибридный процессор 95 Вт, так что разница впечатляет. С результатами тестов можно ознакомиться благодаря диаграммам ниже.

В Сети появились тесты процессора Bristol Ridge

В Сети появились тесты процессора Bristol Ridge

В Сети появились тесты процессора Bristol Ridge

В Сети появились тесты процессора Bristol Ridge

В Сети появились тесты процессора Bristol Ridge

В Сети появились тесты процессора Bristol Ridge

В Сети появились тесты процессора Bristol Ridge

Как видно, в процессорной производительности разница невелика, а вот в производительности GPU более заметна, что хорошо объясняется внушительной разницей в частотах. Также обращает на себя внимание заметно меньшая температура нового APU под нагрузкой и действительно достаточно низкий TDP, как для гибридного процессора со столь производительным графическим ядром. Жаль, что поколение Bristol Ridge не вышло пару лет назад.

/20 сен, 09:11/ автор: Jin (iXBT.com) сайт: www.ixbt.com

Китайские источники опубликовали изображение, которое запечатлело основные характеристики Xiaomi Mi Note 2 Pro — старшей версии нового планшетофона компании Xiaomi.

Неделю назад мы публиковали изображения и характеристики Xiaomi Mi Note 2, отмечая, что объем оперативной памяти устройства будет составлять 4 или 6 ГБ, а флэш-памяти в нем может быть установлено 64, 128 или 256 ГБ.

Если верить источнику, то старшая версия смартфона под названием Xiaomi Mi Note 2 Pro будет оснащена 8 ГБ ОЗУ и 256 ГБ флэш-памяти. В качестве однокристальной системы будет выступать Snapdragon 821, а работать устройство будет под управлением Android 7.0 Nougat с оболочкой MIUI 8 6.9.8.

Смартфон Xiaomi Mi Note 2 Pro может получить SoC Snapdragon 821, 8 ГБ ОЗУ и 256 ГБ флэш-памяти

Вряд ли Xiaomi Mi Note 2 будет представлен в этом месяце, учитывая то, что что уже 27 сентября компания должна анонсировать Xiaomi Mi5s и Mi5s Plus.

/20 сен, 08:57/ автор: Jin (iXBT.com) сайт: www.ixbt.com

Вчера мы публиковали заметку о смартфоне Huawei Mate 9, в которой говорилось о том, что его анонс состоится в четвертом квартале этого года. Конкретно высказывалось предположение об анонсе в декабре 2016.

Однако свежие слухи из Поднебесной утверждают, что устройство представят уже 8 ноября этого года, предложив потенциальным покупателям четыре версии на выбор.

Базовая версия получит 4 ГБ ОЗУ и 64 ГБ флэш-памяти, которой у второй версии будет вдвое больше. Также будут предусмотрены версии с 6 ГБ ОЗУ и 256 ГБ флэш-памяти, которые будут отличаться материалами отделки корпуса и комплектацией. Источник также пишет о сканере радужной оболочки глаза, не называя конкретные версии.

Четыре версии смартфона Huawei Mate 9 со сканером радужной оболочки глаза могут представить 8 ноября

Цена Huawei Mate 9 будет стартовать с отметки $480, за вторую версию будут просить $584, старшая обойдется в $704, а топовое издание (Monarch Version), которое будет включать второе поколение умных часов Huawei, обойдется в $1108.

Смартфон получит шестидюймовый дисплей, сдвоенную 20-мегапиксельную камеру с системой оптической стабилизации, SoC Kirin 960 и Android 7.0 Nougat.

/20 сен, 08:45/ автор: MPAK (iXBT.com) сайт: www.ixbt.com

Компания Google объявила о приобретении стартапа Api.ai, занимающегося инструментами для распознавания речи и понимания естественного языка.

В активе Api.ai также присутствует диалоговый помощник с более чем 20 млн пользователей. Кроме того, уже более 60 000 разработчиков воспользовались инструментами этой компании.

Стартап Api.ai стал частью Google

Google никак не комментирует планы по использованию разработок Api.ai, но тут и так всё понятно. Поисковый гигант активно работает над своим собственным помощником Google Now, а недавно анонсировал более совершенный инструмент под названием Assistant. Так что наработки молодой компании явно пригодятся Google для работы в этих направлениях.

Финансовая сторона сделки не раскрыта.

/20 сен, 08:42/ автор: Jin (iXBT.com) сайт: www.ixbt.com

Несколько дней назад было опубликовано рекламное изображение, которое указывает на то, что компания Xiaomi готовится представить очередной внешний аккумулятор.

На тот момент было известно, что устройство получит разъемы USB-C и Micro USB. Исполнительный директор компании Xiaomi Лэй Цзюнь (Lei Jun) подтвердил, что анонс устройства состоится совсем скоро, а также опубликовал фотографию новинки.

Новый внешний аккумулятор Xiaomi емкостью 10000 мА•ч поддерживает одновременную быструю зарядку двух устройств

На данный момент Xiaomi предлагает портативные аккумуляторы емкостью 5000, 10000 и 20000 мА•ч. Новое устройство не будет рекордсменом в плане емкости. Однако, как сообщил Лэй Цзюнь, этот аккумулятор будет отличаться от предшественников возможностью одновременной быстрой зарядки двух устройств, которые поддерживают данную технологию.

Анонс ожидается завтра, 21 сентября.

/20 сен, 08:30/ автор: Dexter (iXBT.com) сайт: www.ixbt.com
Сегодня компания HTC представит два новых смартфона, Desire 10 Lifestyle и Desire 10 Pro, однако уже сейчас можно оценить внешний вид и характеристики модели Desire 10 Lifestyle — подробностями об устройстве делится немецкий источник.
HTC Desire 10 Lifestyle
В Европе стоимость новинки составит 350 евро. За эти деньги пользователь получит версию с 3 ГБ оперативной и 32 ГБ встроенной флэш-памяти. Но в зависимости от региона будут и другие модификации — с 2 ГБ ОЗУ и модулем eMMC объемом 16 ГБ. В основе аппаратной платформы лежит SoC Qualcomm c четырехъядерным CPU, работающим на частоте 1,6 ГГц.
HTC Desire 10 Lifestyle
HTC Desire 10 Lifestyle получил большой дисплей Super LCD (IPS) диагональю 5,5 дюйма, однако разрешение его невелико — 1280 х 720 пикселей. Также в конфигурации устройства слот для карт памяти microSD (поддерживаются носители объемом до 2 ТБ), модем LTE, адаптеры Wi-Fi, Bluetooth 4.1 и NFC, дактилоскопический датчик. По данным источника, в странах Восточной Европы будет продаваться версия с поддержкой двух карт SIM.
HTC Desire 10 Lifestyle
Разрешение основной камеры HTC Desire 10 Lifestyle составляет 13 Мп. Она снабжена лазерным помощником автофокуса и вспышкой на основе двух светодиодов. Разрешение фронтальной камеры традиционно скромнее — 5 Мп, однако обе способны записывать видео Full HD.
HTC Desire 10 Lifestyle
Емкость аккумуляторной батареи HTC Desire 10 Lifestyle составляет 2700 мА·ч, но за счет энергоэффективного процессора и экрана невысокого разрешения автономность должна быть на приемлемом уровне. Сообщается также, что у HTC Desire 10 Lifestyle нет порта USB Type-C — для зарядки и подключения к ПК используется обычный Micro-USB, а толщина изделия равняется 7,7 мм.

Источник: WinFuture

/20 сен, 08:10/ автор: MPAK (iXBT.com) сайт: www.ixbt.com

Согласно последним слухам, в ближайшее время нас ожидает анонс двух смартфонов Google Pixel, которые придут на смену аппаратам семейства Nexus. Новинки должны дебютировать 4 октября и это будут флагманские решения.

По крайней мере, на это указывает база данных Geekbench. А согласно новым данным, платить за смартфоны Pixel придётся тоже как за флагманские.

Смартфоны Google Pixel не будут дешёвыми

Источник сообщает, что младший аппарат Google Pixel обойдётся в $650, что сопоставимо с ценой нового Apple iPhone 7 и многих других флагманских смартфонов. Само собой, Pixel XL будет стоить ещё больше, хотя пока неизвестно, сколько именно.

Возникает вопрос, как именно Google хочет реализовать новое семейство, чтобы это стоило отказа от Nexus. Но, конечно, эти слухи могут оказаться ошибочными и смартфоны в итоге могут оказаться дешевле.

/20 сен, 07:45/ автор: Dexter (iXBT.com) сайт: www.ixbt.com

Ассортимент 3D-карт компании MSI пополнился четырьмя моделями линейки Armor: Radeon RX 480 Armor 8G, Radeon RX 480 4G, Radeon RX 480 Armor 8G OC и Radeon RX 480 4G OC. Все они оснащены одинаковыми охладителями, вентиляторы которых отключаются при температуре GPU менее 60°C, но модели с буквами OC в названии работают на слегка повышенных частотах.

MSI Radeon RX 480 Armor 8G OC


Radeon RX 480 Armor 4G OC


Radeon RX 480 Armor 8G OC

Если максимальная частота GPU моделей Radeon RX 480 Armor 8G и Radeon RX 480 4G составляет 1266 МГц, то максимальная частота моделей Radeon RX 480 Armor 8G OC и Radeon RX 480 4G OC достигает 1291 МГц. Эффективная частота памяти во всех случаях составляет 8 ГГц.

Все видеокарты оснащены пятью видеовыходами (двумя DisplayPort 1.4, двумя HDMI 2.0 и одним DVI-D) и занимают в корпусе ПК пространство двух слотов. Габариты и масса видеокарт также не имеют различий: 269 x 125 x 38 мм и 653 грамма. Дополнительное питание на устройства подается при помощи восьмиштырькового разъема.

О цене новинок не сообщается, но можно думать, что в рознице они будут стоить на $20-30 дешевле аналогичных по объему памяти моделей линейки Gaming.

Источник: MSI

/20 сен, 07:40/ автор: MPAK (iXBT.com) сайт: www.ixbt.com

Как сообщает источник, ссылаясь на данные аналитиков IHS, компания Samsung постепенно догоняет Intel в сегменте полупроводникового производства.

Intel, оставаясь лидером, по итогам второго квартала текущего года заняла 14,7% рынка и выручила 12,27 млрд долларов. Samsung же смогла заработать 9,45 млрд долларов, заняв 11,3% рынка.

То есть разница составила 3,4 процентных пункта, тогда как в 2012 году она составляла 5,3, а в 2013 — 4,2 процентных пункта. В прошлом году разница была ещё меньше — 3,2 пункта, но текущий год ещё не завершился, так что делать окончательные выводы рано.

Intel занимает 14,7% рынка полупроводниковой продукции

Samsung сокращает разрыв благодаря увеличению производства флэш-памяти типа NAND. Напомним, корейский гигант вообще является лидером рынка SSD, что сказывается на уровне производства соответствующих микросхем.

Правда, можно вспомнить, что буквально месяц назад Intel удивила заявлением о заключении сделки с ARM и тем, что будет производить для клиентов полупроводниковые решения с архитектурой ARM. Так что это может очень значительно сказаться на расстановке сил.

Также можно отметить, что Qualcomm и Broadcom занимают 4,6% и 4,3% рынка соответственно, а замыкает первую пятёрку SK Hynix с 4%.

/20 сен, 07:15/ автор: MPAK (iXBT.com) сайт: www.ixbt.com

С мыслью о том, что в 2020 году на дорогах США и Европы появятся первые серийные беспилотные автомобили мы уже свыклись, хотя нужно дождаться этого момента и оценить всё в действии.

Но вот у Нидерландов родилась своя идея транспорта, который передвигается без помощи водителя. Уже в следующем году в Амстердаме появятся беспилотные лодки. Как известно, столицу пронизывает более 100 км каналов, построенных ещё XVII веке.

Нидерланды хотят запустить в каналы Амстердама флот беспилотных платформ

Уже в следующем году институт Amsterdam Institute for Advanced Metropolitan Solutions совместно с Massachusetts Institute of Technology и Delft University of Technology and Wageningen University and Research начнёт экспериментировать с беспилотными водными транспортными средствами, которые будут передвигаться по каналам, перевозя людей и грузы.

Всё это будет происходить в рамках пятилетней программы Roboat, которая получила финансирование в размере 25 млн евро. На самом деле цель проекта гораздо шире. Roboat — это программа по исследованию возможностей использования автономных плавательных средств в черте города. Да, стартует она с Амстердама, но на нём не ограничится. К примеру, программа коснётся и Бостона, который испытывает проблемы из-за постоянных приливов и отливов.

На изображениях видно, что речь пока скорее о беспилотных плавучих платформах либо плотах, а не о лодках в привычном понимании. Но у такой конструкции есть свои плюсы. К примеру, за короткий промежуток времени из множества таких платформ можно построить мост, а затем также быстро его «разобрать».

Нидерланды хотят запустить в каналы Амстердама флот беспилотных платформ

Кроме прочего, платформы смогут выполнять и другие задачи. К примеру, исследовать воду каналов на предмет загрязнения, лоцировать дно в поисках крупного мусора и так далее.

/20 сен, 07:10/ автор: Dexter (iXBT.com) сайт: www.ixbt.com

Несмотря на то, что официальная премьера настольных процессоров Intel семейства Kaby Lake состоится только через несколько месяцев, некоторые онлайновые магазины уже начинают пополнять свой ассортимент представителями новой линейки. Так, например, на одной из эстонских площадок засветился флагманский CPU Intel Core i7-7700K, идущий на смену Intel Core i7-6700K.

Эстонский онлайновый магазин уже предлагает оформить предзаказ на процессор Intel Core i7-7700K

Характеристики Intel Core i7-7700K уже особого секрета не представляют, нас больше интересует стоимость. Магазин оценил процессор в 360 евро, что примерно соответствует цене модели Core i7-6700 в начале продаж. Хотя рекомендованная производителем стоимость CPU наверняка будет немного отличаться.

Источник: faun.ee

/20 сен, 07:00/ автор: MPAK (iXBT.com) сайт: www.ixbt.com

Весной мы узнали, что компания Intel отказывается от дальнейших разработок в области однокристальных систем для мобильных устройств и закрывает все рабочие проекты в этом направлении. Процессорный гигант оставил лишь решения Apollo Lake, но они ориентированы на планшеты и гибридные мобильные ПК.

Недавно просочившаяся в Сеть дорожная карта также подтверждает отсутствие в планах Intel каких-либо смартфонных SoC. Однако не факт, что работы в этом направлении не ведутся вовсе.

В интервью с Венкатой Рендучинталой (Venkata Renduchintala) источник узнал кое-что интересное. Напомним, Рендучинтала занял пост главы нового подразделения Client and Internet of Things Businesses and Systems Architecture Group, а ранее он работал в Qualcomm.

Intel может вернуться на рынок однокристальных систем для смартфонов

Так вот на вопрос касательно отказа от сегмента мобильных SoC он ответил, что у Intel было несколько мобильных однокристальных систем, но они вряд ли были достойными получить продолжение. При этом Рендучинтала отметил, что это вовсе не означает, будто бы Intel более не работает над мобильными платформами. Но «когда у нас будет, что сказать, мы об этом расскажем».

Эти слова можно трактовать по-разному, но наиболее вероятно, Intel работает над совершенно новыми однокристальными системами, но работа находится на ранней стадии, так что пока никакой конкретикой компания делиться не хочет. Возможно, через год или даже два процессорный гигант снова попытает счастья в этом сегменте.

/20 сен, 00:52/ автор: Accent (iXBT.com) сайт: www.ixbt.com

Ассортимент компании EVGA пополнила серия блоков питания SuperNOVA G2L, отличающихся от блоков питания SuperNOVA G2 наличием белой светодиодной подсветки. Серию SuperNOVA G2L открыли модели 220-GL-0750 и 220-GL-0850 мощностью 750 и 850 соответственно.

Гарантийный срок эксплуатации EVGA SuperNOVA G2L — десять лет

Новые блоки питания EVGA имеют сертификаты 80 Plus Gold. К достоинствам этих БП производитель относит модульные кабельные системы, использование японских конденсаторов с твердым электролитом и практически бесшумную работу при небольших и средних нагрузках. Последний пункт обеспечивается включением вентилятора только после того, как температура внутри блока превысит заданный порог.

Гарантийный срок эксплуатации EVGA SuperNOVA G2L — десять лет

В новых БП предусмотрена защита от разнообразных нештатных ситуаций. Гарантийный срок эксплуатации EVGA SuperNOVA G2L — десять лет.

Источник: EVGA

/20 сен, 00:40/ автор: Accent (iXBT.com) сайт: www.ixbt.com

Компания Sony анонсировала продажи своего первого проигрывателя Ultra HD Blu-ray. Конечно, устройство под названием Sony UBP-X1000ES способно воспроизводить Blu-ray, CD и DVD, причем видео 1080p можно преобразовывать в 4K 60p. О цене новинки пока данных нет.

О цене Sony UBP-X1000ES пока данных нет

Напомним, разработка стандарта Ultra HD Blu-ray была завершена в мае прошлого года. Помимо высокого разрешения — до 3840 х 2160 пикселей, он отличается поддержкой расширенного цветового пространства и HDR, а также новых форматов многоканального звука. При этом обязательной для проигрывателей Ultra HD Blu-ray является обратная совместимость с обычными дисками Blu-ray. Первый проигрыватель Ultra HD Blu-ray — Samsung UBD-K8500 — появился в продаже в феврале текущего года.

Источник: Pocket-lint

/20 сен, 00:21/ автор: Accent (iXBT.com) сайт: www.ixbt.com

Как и ожидалось, компания Olympus представила объектив Olympus M.Zuiko Digital ED 30mm f3.5 Macro, предназначенный для макросъемки, предварительные сведения о котором появились в начале месяца. При минимальной дистанции фокусировки, когда расстояние от края объектива до объекта составляет 14 мм, обеспечивается увеличение 1,25х. Конечно, объектив с ЭФР 60 мм можно использовать и для других видов съемки. По словам производителя, новый объектив фокусируется на 20-30% быстрее, чем предыдущие макрообъективы Olympus.

Объектив Olympus M.Zuiko Digital ED 30mm f3.5 Macro обеспечивает увеличение 1,25х

Основные технические данные объектива Olympus M.Zuiko Digital ED 30mm f3.5 Macro:

  • Фокусное расстояние — 30 мм (ЭФР 60 мм);
  • Максимальная диафрагма — F/3,5;
  • Минимальная диафрагма — F/22;
  • Количество лепестков диафрагмы — 7;
  • Оптическая схема — 7 элементов в 6 группах;
  • Минимальная дистанция фокусировки — 0,1 м;
  • Максимальное увеличение — 1,25х;
  • Установочный диаметр фильтра — 46 мм;
  • Габариты — диаметр 57 мм, длина 60 мм;
  • Масса — 128 г.

Продажи Olympus M.Zuiko Digital ED 30mm f3.5 Macro должны начаться в октябре. Примерная цена изделия — $300.

Источник: Olympus

/20 сен, 00:01/ автор: Accent (iXBT.com) сайт: www.ixbt.com

Одновременно с объективом Olympus M.Zuiko Digital ED 25mm F1.2 Pro японский производитель, упорно продвигающий фотосистему Micro Four Thirds, представил объектив этой системы, охватывающий диапазон ЭФР 24-200 мм при постоянной максимальной диафрагме F/4. Новинка получила название Olympus m.Zuiko Digital ED 12-100mm F4.0 IS Pro.

Объектив Olympus m.Zuiko Digital ED 12-100mm F4.0 IS Pro не боится пыли, брызг и мороза

По словам Olympus, охватить широкий диапазон фокусных расстояний, обеспечив высокое разрешение и сохранив небольшие размеры объектива, позволило использование большого количества особых оптических элементов. Например, элементов DSA (Dual Super Aspherical), HR (с высоким индексом рефракции) и Super HR (со сверхвысоким индексом рефракции). Объектив оснащен стабилизатором, который можно использовать одновременно со стабилизатором в камере.

Основные технические данные объектива Olympus m.Zuiko Digital ED 12-100mm F4.0 IS Pro:

  • Фокусное расстояние — 12-100 мм (ЭФР 24-200 мм);
  • Максимальная диафрагма — F/4;
  • Минимальная диафрагма — F/22;
  • Количество лепестков диафрагмы — 7;
  • Оптическая схема — 17 элементов в 11 группах;
  • Минимальная дистанция фокусировки — 0,15 м;
  • Максимальное увеличение — 0,3х;
  • Установочный диаметр фильтра — 72 мм;
  • Габариты — диаметр 78 мм, длина 117 мм;
  • Масса — 561 г.

Объектив имеет защиту от пыли и брызг, а также от воздействия низких температур (до -10°C). В продаже он должен появиться в начале ноября по цене $1300.

Источник: Olympus

Поиск по сайту
Обратная связь
Разработчикам
Реклама на сайте

Политика конфиденциальности
Пользовательское соглашение

 

Filebox.ru каталог архив программного обеспечения для Windows, работает с 2003 года.
Copyright © 2003-2026 Filebox.ru All Rights Reserved.

Яндекс.Метрика