Лента технологий за 29/08/2016, Понедельник - Filebox.ru  Программы | Новости | ТОП-100 программ | Статьи

Лента технологий за 29/08/2016, Понедельник - Filebox.ru

Лента технологий | Подборка за 29 августа 2016 г. 00:00:00

/29 авг, 20:20/ автор: Dexter (iXBT.com) сайт: www.ixbt.com

В Европе стартуют продажи мини-версии смартфона ZTE Axon 7. ZTE Axon 7 Mini уже доступен для заказа в онлайновых магазинах Германии по цене 300 евро за версию с 32 ГБ встроенной флэш-памяти. Поставки предварительно забронированных устройств начнутся 31 августа. Таким образом, ZTE Axon 7 Mini оказался на 150 евро дешевле старшей модели.

ZTE Axon 7 Mini


ZTE Axon 7 Mini


ZTE Axon 7 Mini


ZTE Axon 7 Mini

Что касается характеристик ZTE Axon 7 Mini, то предварительные данные, которые также появились на немецком сайте, полностью подтвердились. Аппарат построен на однокристальной платформе Qualcomm Snapdragon 617 и работает под управлением ОС Android 6.0. Он наделен модемом LTE и двумя слотами для карт SIM, 3 ГБ оперативной памяти, камерами разрешением 8 и 13 Мп, аккумуляторной батареей емкостью 2705 мА·ч.

Источник: redcoon.de

/29 авг, 19:55/ автор: Accent (iXBT.com) сайт: www.ixbt.com

По данным DRAMeXchange, цены на клиентские SSD для ПК стабилизируются. В текущем квартале контрактные цены для OEM в случае накопителей на флэш-памяти MLC NAND даже немного выросли — примерно на 0,5%, а цены на накопители на флэш-памяти TLC NAND снизились примерно на 1%.

В этой ситуации аналитики компании TrendForce, дочерним предприятием которой является DRAMeXchange, прогнозируют дальнейшее увеличение доли SSD в ноутбуках.

Как полагают специалисты TrendForce, по итогам 2016 года доля ноутбуков с SSD превысит 30%

По подсчетам экспертов, в минувшем квартале было отгружено 28,3 млн клиентских SSD, что на 15-20% больше, чем за квартал до этого, и соответствует наличию SSD примерно в каждом третьем ноутбуке.

Как полагают специалисты TrendForce, по итогам 2016 года доля ноутбуков с SSD превысит 30%

Как полагают специалисты TrendForce, по итогам года доля ноутбуков с SSD превысит 30%, а в 2018 году она достигнет 50%. Аналитики отмечают, что наиболее распространенными будут накопители на флэш-памяти TLC NAND. Внедрение моделей с интерфейсом PCIe пока только начинается, а наибольшим спросом пользуются модели с интерфейсом SATA 6 Гбит/с.

Источник: TrendForce

/29 авг, 19:41/ автор: Accent (iXBT.com) сайт: www.ixbt.com

По данным источника, ссылающегося на сведения, опубликованные DRAMeXchange, компания Apple столкнулась с проблемами при размещении заказов на микросхемы оперативной памяти для смартфонов iPhone 7 и iPhone 7 Plus. Один из крупнейших производителей этой продукции не смог пройти сертификацию Apple и потому исключен из списка поставщиков. Речь идет о компании SK Hynix. Теперь Apple может надеяться только на Micron и Samsung.

Анонс смартфонов Apple iPhone нового поколения ожидается в сентябре

Источник уточняет, что основная часть заказа, который предполагалось разместить у SK Hynix, перейдет к Micron, так как на Samsung и так уже приходится примерно половина всего объема поставок. Поскольку Apple закупает комплектующие изделия в больших количествах, производителям придется расширять производство. Пока неясно, как ситуация с памятью отразится на доступности смартфонов iPhone 7 и iPhone 7 Plus.

Напомним, анонс смартфонов Apple iPhone нового поколения ожидается в сентябре.

Источник: WCCFtech.com

/29 авг, 19:35/ автор: Dexter (iXBT.com) сайт: www.ixbt.com

Известный сетевой информатор Эван Блэсс (Evan Blass) опубликовал на своей странице в Twitter изображение смартфона HTC One A9s — преемника той самой прошлогодней модели One A9, которую многие упрекали в подражании iPhone. Однако если One A9 еще отличался от актуального на тот момент смартфона Apple исполнением тыльной панели, то новая модель, кажется, и вовсе утратила индивидуальность — она еще больше походит на iPhone 6s. Интересно и другое: будто желая подражать Apple до конца, HTC назвала преемника в полном соответствии с номенклатурными традиции фирмы из Купертино.

HTC One A9s

О характеристиках HTC One A9s пока мало что известно. Сообщается лишь, что разрешение датчика основной камеры останется прежним, а вот разрешение датчика фронтальной камеры доберется до отметки 5 Мп.

Официальная премьера HTC One A9s ожидается первого сентября накануне официального открытия выставки IFA 2016.

Источник: evleaks

/29 авг, 19:15/ автор: Dexter (iXBT.com) сайт: www.ixbt.com

Wintel-планшет Samsung Galaxy TabPro S дебютировал в самом начале года, поэтому нет ничего удивительного в том, что компания уже начала работу над его сменщиком. Как пишет источник, новая модель сохранит преемственность в названии и выйдет в ближайшие месяцы.

Samsung Galaxy TabPro S2, вероятно, будет похож на модель Samsung Galaxy TabPro S

Galaxy TabPro S2 будет работать под управлением ОС Windows 10. Он унаследует 12-дюймовый дисплей Super AMOLED разрешением 2160 х 1440 пикселей от предшественника, но в основу аппаратной платформы ляжет процессор Intel Core M нового седьмого поколения. У Galaxy TabPro S2 будут четыре модификации: SM-W728, SM-W727, SM-W723 и SM-W720. Различия между ними будут заключаться, скорее всего, в кое-каких аппаратных компонентах, а также в наборе адаптеров беспроводной связи.

Источник: Sammobile

/29 авг, 16:45/ автор: Dexter (iXBT.com) сайт: www.ixbt.com

Ранее мы уже писали о том, что Elephone готовит к выпуску смартфон R9 с очень тонкими рамками экрана, а сейчас в распоряжении источника появилось больше изображений, демонстрирующих потенциальную новинку во всей красе.

Elephone R9


Elephone R9


Elephone R9


Elephone R9


Elephone R9

Как пишет источник, металлические корпуса Elephone R9 будут фрезероваться на станке с ЧПУ из цельной заготовки. Аппарат также получит дактилоскопический датчик, встроенный в кнопку Home и прикрытый стеклом, и качественный дисплей JDI, созданный с применением технологии in-cell.

По слухам, Elephone R9 получит SoC MediaTek Helio X20, 3 ГБ оперативной памяти и камеру разрешением 16 Мп.

Источник: Gizmochina

/29 авг, 15:15/ автор: Dexter (iXBT.com) сайт: www.ixbt.com

Пару недель тому назад Microsoft выпустила очередной видеоролик в духе рекламной концепции Mac vs. PC — тогда под прицел попал iPad Pro, который, конечно же, оказался хуже планшета Surface Pro 4. И вот новый ролик, в котором досталось MacBook Air от все того же Surface Pro 4.

Как видим, в Microsoft сочли тонкий ноутбук Apple «медленным и тяжелым», а также менее полезным, чем шляпа для кота.

Следует думать, что появление в августе сразу двух роликов Microsoft, высмеивающих продукцию конкурента, связано с началом сезона «обратно в школу» и возобновлением потребительской активности на домашнем рынке после летнего спада.

Источник: Microsoft Surface Youtube

/29 авг, 14:50/ автор: Dexter (iXBT.com) сайт: www.ixbt.com

Как пишет источник, портфель смартфонов компании Archos пополнился защищенной моделью 50 Saphir. Премьерный показ новинки состоится на выставке IFA 2016, ну а продажи в Европе стартуют в октябре — аппарат оценен в 220 евро.

Archos 50 Saphir

За эти деньги покупатель получает, в общем-то, бюджетную модель, аппаратным базисом которой послужила однокристальная система MediaTek MT6737 с четырехъядерным CPU ARM Cortex-A53 частотой до 1,5 ГГц. Объем оперативной памяти составляет 2 ГБ, объем встроенной флэш-памяти — 16 ГБ. Угловатый корпус новинки защищает компоненты в соответствии со степенью IP67.

Archos 50 Saphir

В конфигурации устройства также 5-дюймовый экран разрешением 1280 х 720 точек c защитой в виде закаленного стекла Gorilla Glass 4, слот для карт памяти microSD, камеры разрешением 5 и 13 Мп. Емкость аккумуляторной батареи смартфона составляет 5000 мА·ч, быструю зарядку ее должна обеспечить технология Mediatek Pump Express Plus.

Источник: HDBlog

/29 авг, 13:55/ автор: Dexter (iXBT.com) сайт: www.ixbt.com

Ассортимент клавиатур компании Corsair, ориентированных на компьютерных игроков, пополнился тремя моделями линейки Lux: K70 Lux RGB, K65 Lux RGB и K70 Lux. Как можно понять из названия, две клавиатуры из трех оснащены настраиваемой светодиодной подсветкой RGB. В K70 Lux клавиши подсвечиваются красным.

Corsair K70 Lux RGB, K65 Lux RGB и K70 Lux

Как отмечают создатели, во всех трех моделях используются «стопроцентные немецкие переключатели» Cherry MX — MX Blue, MX Brown или MX Red. Также все клавиатуры поддерживают такие необходимые для игрового устройства функции, как Anti-ghosting и Full N-Key Rollover для определения любого количества клавиш, нажатых одновременно.

Corsair K70 Lux RGB


Corsair K70 Lux

Новинки оснащены портом USB 2.0, к которому можно подключать любую периферию или, например, USB-накопители. Дополнительный комфорт при длительной игре должна обеспечить подставка под запястья.

Corsair K70 Lux RGB

Если не брать во внимание подсветку, то K70 Lux RGB и K70 Lux совершенно одинаковы: они оснащены цифровым блоком и позволяют регулировать громкость при помощи колеса. K65 Lux RGB — усеченный вариант модели K70 Lux RGB, имеющий 87 клавиш вместо 104. Регулировка подсветки в K65 Lux RGB решена при помощи кнопок.

Corsair K65 Lux RGB

Габариты и масса Corsair K65 Lux RGB — 355 x 165 x 38 мм и 860 граммов. Габариты и масса моделей K70 Lux RGB и K70 Lux — 436 x 165 x 38 мм и 1,2 кг. Стоимость новинок уже известна: K70 Lux RGB — $160, K65 Lux RGB — $130, K70 Lux — $120.

Источник: Corsair

/29 авг, 12:35/ автор: Accent (iXBT.com) сайт: www.ixbt.com

Компания Taiwan Semiconductor Manufacturing Co (TSMC) по итогам этого года займет 58% рынка контрактного производства полупроводниковой продукции, сохранив за собой звание лидера. Такой прогноз дают аналитики IC Insights.

Доля TSMC немного сократится по сравнению с 2015 годом

Выручка TSMC прогнозируется на уровне 28,57 млрд долларов, что на 8% больше, чем в прошлом году. При этом доля рынка TSMC немного сократится по сравнению с прошлым годом, когда тайваньский производитель изготовил 59% всей полупроводниковой продукции в мире, выпускаемой по контракту.

Доля компании GlobalFoundries, занимающей второе место, за год не изменится, сохранившись на уровне 11%, прогнозируют аналитики. Замыкает первую тройку UMC с прогнозируемым показателем 9%. В прошлом году UMC принадлежало 10% рынка.

Источник: IC Insights

/29 авг, 12:16/ автор: MPAK (iXBT.com) сайт: www.ixbt.com

Не секрет, что LG V20 станет первым смартфоном на рынке с Android 7.0. Аппарат представят уже 6 сентября, хотя пока неизвестно, когда он поступит в продажу.

LG хвастается многозадачностью Android 7.0 на смартфоне V20

В преддверии анонса производитель решил опубликовать рекламное видео, которое в первую очередь показывает преимущества как раз новой операционной системы Google, а вовсе не смартфона.

В частности, акцент сделан на многозадачность, которая может помочь, к примеру, на кухне во время приготовления какого-либо кулинарного шедевра. Также LG заявляет, что само видео было снято как раз на V20. Если вспомнить предшественника, то можно предположить, что новинка получит точно такую же камеру, как у G5, то есть одну из лучших на рынке.

/29 авг, 12:13/ автор: Accent (iXBT.com) сайт: www.ixbt.com

В базе данных Bluetooth Special Interest Group (SIG) замечен смартфон Lenovo с индексом модели P2a42. Аппарат, прошедший сертификацию, построен на однокристальной системе Snapdragon 625 и оснащен дисплеем размером 5,5 дюйма.

Упоминание об этом устройстве также появилось на сайте агентства Postel

Упоминание об этом устройстве также появилось на сайте агентства Postel (индонезийский аналог FCC). Судя по опубликованным данным, смартфон оснащен камерами разрешением 5 и 13 Мп. Другой информации о новинке пока нет.

Источник: Bluetooth SIG

/29 авг, 12:11/ автор: Jin (iXBT.com) сайт: www.ixbt.com

Менеджер по продажам MediaTek Финбарр Мониган (Finbarr Moynihan) в ходе свежего интервью заявил, что в этом году доля компании на рынке производителей процессоров для мобильных устройств должна увеличиться до 35-40%. В прошлом году MediaTek досталось 30% данного рынка.

Рост поставок объясняется популярностью MediaTek на рынках Китая, Тайваня и Юго-Восточной Азии. С другой стороны, в США дела компании идут не так хорошо, в этой стране MediaTek смогла занять не более 5% рынка.

Финбарр Мониган также признал, что компания сталкивается с проблемами, пытаясь найти оптимальный баланс между производительностью своих однокристальных систем и потребляемой мощностью.

В 2016 году MediaTek планирует занять 35-40% рынка производителей процессоров для мобильных устройств

Говоря о десятиядерных SoC MediaTek, он отметил, что компания не гналась за количеством ядер. Акцент делался на использовании трехкластерной архитектуры, которая позволяет SoC подстраиваться под нужды пользователей, потребляя меньше энергии.

/29 авг, 12:05/ автор: Accent (iXBT.com) сайт: www.ixbt.com

Источник опубликовал очередную порцию информации о складном смартфоне Samsung Galaxy Folder 2, который в начале месяца был замечен в базе данных TENAA. Новая утечка может говорить о скором анонсе складного смартфона Samsung Galaxy Folder 2, поскольку изображения явно позаимствованы из официальных рекламных материалов.

В оснащение изделия под индексом SM-G1600 входит слот microSD

Напомним, устройство форм-фактора «раскладушка» построено на SoC Qualcomm Snapdragon 425. Объем оперативной памяти равен 2 ГБ, флэш-памяти — 16 ГБ. Аппарат оснащен дисплеем размером 3,8 дюйма, разрешение которого составляет 800 х 480 пикселей.

В оснащение изделия под индексом SM-G1600 входит слот microSD

В оснащение изделия под индексом SM-G1600 входит слот microSD, камеры разрешением 5 и 8 Мп, модем LTE Category 4. Емкость аккумулятора составляет 1950 мА∙ч.

В оснащение изделия под индексом SM-G1600 входит слот microSD

Смартфон будет поставляться с ОС Android 6.0 Marshmallow. Покупателям будут предложены три варианта цветового оформления: серый, золотистый и розовое золото. О цене новинки пока данных нет.

Источник: Weibo

/29 авг, 11:56/ автор: MPAK (iXBT.com) сайт: www.ixbt.com

Ассортимент Samsung в скором времени пополнится ещё одним бюджетным смартфоном. Сейчас он скрывается за каталожным номером SM-G5510. Предположительно, это может быть новая модель Galaxy On5.

Смартфон Samsung SM-G5510 оснастят 2 ГБ ОЗУ

Стоимость аппарата сейчас неизвестна, но она явно должна быть невысока, по крайней мере, по меркам Samsung. Это обусловлено и экраном разрешением 1280 х 720 пикселей, и однокристальной системой Snapdragon 425, в конфигурацию которой входят четыре процессорных ядра Cortex-A53 и GPU Adreno 308.

Оперативной памяти в аппарате 2 ГБ, а флэш-памяти установлено 16 ГБ. Также ПО сообщает о камерах разрешением 13 и 5 Мп. В качестве ОС выступит Android 6.0.1.

/29 авг, 11:48/ автор: Jin (iXBT.com) сайт: www.ixbt.com

В китайской социальной сети Weibo опубликовали фотографию аккумулятора, который будет использоваться в новых умных часах Apple Watch 2 с высотой корпуса 42 мм.

Источник отмечает, что емкость аккумулятора равна 334 мА•ч, при этом оригинальные часы Apple Watch с таким корпусом оснащены аккумулятором емкостью 246 мА•ч (обе запечатлены на фотографии). Таким образом, увеличение емкости составит около 36%, однако насколько повысится время работы часов, пока сказать сложно.

Версия Apple Watch с корпусом высотой 38 мм оснащается аккумулятором на 205 мА•ч. Информации об аналогичном улучшении аккумулятора для данной версии Apple Watch 2 у источника нет.

Фотография аккумулятора умных часов Apple Watch 2 подтверждает повышенную емкость

Аналитик KGI Securities Минг-Чи Куо (Ming-Chi Kuo) ранее также сообщал, что Apple Watch 2 получат аккумулятор повышенной емкости.

Анонс часов ожидается в сентябре вместе с новым iPhone.

/29 авг, 11:34/ автор: Accent (iXBT.com) сайт: www.ixbt.com

На выставке Touch Taiwan 2016 компания AUO показала прототип гибкого дисплея AMOLED.

У AUO готов прототип гибкого дисплея AMOLED, выдерживающий более миллиона сгибаний-разгибаний

Размер прототипа равен пяти дюймам по диагонали. Разрешение составляет 1280 х 720 пикселей. Этим параметрам соответствует плотность 295 пикселей на дюйм. Толщина дисплея равна всего 0,1 мм. При этом в дисплей интегрирован сенсорный экран. По словам производителя, панель выдерживает более миллиона циклов сгибания-разгибания с радиусом изгиба 4 мм. Экран охватывает 100% цветового пространства NTSC.

Источник: OLED-Info

/29 авг, 11:23/ автор: Accent (iXBT.com) сайт: www.ixbt.com

Источник опубликовал первое изображение полнокадрового объектива Tokina FiRIN 20mm F2 FE MF.

Анонс объектива Tokina FiRIN 20mm F2 FE MF ожидается на сентябрьской выставке Photokina

Объектив откроет новую линейку в ассортименте японского производителя. Модели линейки FiRIN будут оснащены креплением Sony E. Объектив, показанный на иллюстрации, рассчитан на ручную фокусировку.

Анонс новинки ожидается на сентябрьской выставке Photokina.

Источник: Nokishita

/29 авг, 11:14/ автор: Accent (iXBT.com) сайт: www.ixbt.com

Специалисты аналитической компании Jon Peddie Research (JPR) подготовили отчет по итогам второго квартала текущего года на рынке 3D-карт для ПК.

По подсчетам аналитиков, указанный рынок сократился по сравнению с предшествующим кварталом на 20,8%, что во многом объясняется сезонным фактором. Интересно, что рынок ПК при этом увеличился на 2,5%.

Рынок 3D-карт сокращается

На фоне сокращения рынка происходит перераспределение долей между его участниками. Компания AMD, занимавшая в первом квартале 22,8% рынка, увеличила свою долю до 29,9%. Год назад ее доля была равна 18%.

Доля Nvidia, год назад составлявшая 81,9%, сократилась в первом квартале до 77,2%, а по итогам второго стала равна 70%.

Аналитики отмечают сохраняющуюся тенденцию уменьшения количества графических решений (дискретных и интегрированных) по отношению к общему количеству ПК. Если в 2008 году графических решений было отгружено на 63% больше, чем ПК, в минувшем квартале этот показатель составил всего 34%. Это может быть объяснено возросшими возможностями встроенных GPU и уменьшением интереса к конфигурациям с несколькими GPU, работающими в режимах AMD CrossFire или Nvidia SLI.

Источник: JPR

/29 авг, 11:13/ автор: MPAK (iXBT.com) сайт: www.ixbt.com

Ассортимент устройств умного дома компании Philips пополнился датчиком движения. Он относится к семейству Hue и появится в продаже в октябре по цене $40.

Датчик предназначен для того, чтобы взаимодействовать с умными лампами и включать свет при обнаружении движения. Углы обзора устройства достигают 100 градусов, а дальность — почти пять метров.

Philips оценила датчик движения для умного дома в $40

Возможности фирменного ПО позволяют значительно расширить варианты использования датчика. К примеру, можно установить под кроватью или у двери в спальню умную лампу Philips, настроить её яркость на минимум и задать датчику движения временной интервал срабатывания, соответствующий тёмному времени суток. Таким образом, если кто-то проснётся ночью и захочет сходить в туалет или на кухню, датчик зафиксирует движение и включится неяркий свет, который поможет человеку сориентироваться в помещении, но не разбудит спящего рядом.

/29 авг, 10:58/ автор: Accent (iXBT.com) сайт: www.ixbt.com

Одновременно с цифровой зеркальной камерой Canon EOS 5D Mark IV и объективом Canon EF 16-35mm F2.8L III USM компания Canon представила полнокадровый объектив Canon EF 24-105mm F4L IS II USM. Это универсальный трансфокатор, охватывающий один из наиболее востребованных диапазонов фокусных расстояний. Он оснащен ультразвуковым приводом автоматической фокусировки и стабилизатором изображения, эффективность которого производитель оценивает в четыре ступени экспозиции.

Объектив Canon EF 24-105mm F4L IS II USM оценен в $1100

Технические данные объектива Canon EF 24-105mm F4L IS II USM:

  • Фокусное расстояние — 24-105 мм;
  • Оптическая схема — 17 элементов в 12 группах;
  • Максимальная диафрагма — F/4;
  • Минимальная диафрагма — F/22;
  • Число лепестков диафрагмы — 10;
  • Минимальная дистанция фокусировки — 45 см;
  • Максимальное увеличение — 0,24х;
  • Установочный диаметр фильтра — 77 мм;
  • Размеры — диаметр 84 мм, длина 118 мм;
  • Масса — 795 г.

Объектив Canon EF 24-105mm F4L IS II USM комплектуется блендой EW-83M. Начало его продаж запланировано на октябрь, а рекомендованная производителем розничная цена примерно равна $1100.

Источник: Canon

/29 авг, 10:50/ автор: Accent (iXBT.com) сайт: www.ixbt.com

Innolux, ведущий тайваньский производитель плоских панелей, считает, что местные компании не могут конкурировать с китайскими и южнокорейскими производителями в создании и выпуске дисплеев OLED. Причиной этого в Innolux называют недостаточную финансовую поддержку со стороны государства.

В Innolux считают недостаточной государственную поддержку желающих освоить выпуск панелей OLED

По словам генерального директора Innolux, китайские компании, поддерживаемые государством, имеют возможность осваивать технологии OLED, даже работая в убыток.

Китайские, тайваньские и японские производители пытаются догнать компанию Samsung Display, контролирующую примерно 95% мирового рынка панелей OLED. Южнокорейский производитель начал поставлять панели OLED для смартфонов примерно в 2010 году. Считается, что в будущем году к числу ее заказчиков добавится Apple. Что касается компании Innolux, она в будущем году планирует начать выпуск панелей OLED небольшого размера для устройств носимой электроники. Технические характеристики этих панелей пока неизвестны.

Источник: Nikkei Asian Review

/29 авг, 10:45/ автор: Jin (iXBT.com) сайт: www.ixbt.com

Глава Volkswagen Герберт Дайс (Dr Herbert Diess) в интервью немецкому изданию Wiwo.de подтвердил, что электромобиль компании будет представлен в ходе ежегодного Парижского автосалона, который пройдет в октябре.

Главной особенностью автомобиля станет быстрое время зарядки, всего за 15 минут он будет пополнять запас хода на 480 км. Об электромобиле пока известно совсем немного, однако еще в феврале говорилось о дальности хода всего 300 км, а также о том, что речь идет о самом доступном электромобиле на рынке.

Источник пишет, что по размеру новая машина будет сравнима с Volkswagen Golf, а места в салоне будет примерно как в Passat. Если при этом цена действительно будет находится на доступном уровне, автомобиль может стать настоящим хитом.

Электромобиль Volkswagen сможет пополнять запас хода на 480 км за 15 минут

Говоря о скорости зарядки, нужно отметить, что владельцы Tesla могут пополнять запас батареи емкостью 85 кВт•ч на 50% за 20 минут, но только на зарядных станциях Supercharger. При использовании же стандартного зарядного устройства Mobile Connector время полной зарядки составляет 29 часов.

/29 авг, 10:20/ автор: Accent (iXBT.com) сайт: www.ixbt.com

На прошлой неделе одновременно с цифровой зеркальной камерой Canon EOS 5D Mark IV был представлен объектив Canon EF 16-35mm F2.8L III USM. Как несложно догадаться по обозначению, это обновление модели Canon EF 16-35mm F2.8L II USM. Производитель отмечает использование в новинке литого стеклянного элемента большого диаметра с двумя асферическим поверхностями. Как и его предшественник, новый полнокадровый объектив имеет защиту от пыли и влаги.

Объектив Canon EF 16-35mm F2.8L III USM должен появиться в продаже в октябре

Технические данные объектива Canon EF 16-35mm F2.8L III USM:

  • Фокусное расстояние — 16-35 мм;
  • Оптическая схема — 16 элементов в 11 группах;
  • Максимальная диафрагма — F/2,8;
  • Минимальная диафрагма — F/22;
  • Число лепестков диафрагмы — 9;
  • Минимальная дистанция фокусировки — 28 см;
  • Максимальное увеличение — 0,25х;
  • Установочный диаметр фильтра — 82 мм;
  • Размеры — диаметр 89 мм, длина 128 мм;
  • Масса — 790 г.

Объектив Canon EF 16-35mm F2.8L III USM должен появиться в продаже в октябре. Рекомендованная производителем розничная цена примерно равна $2200.

Источник: Canon

/29 авг, 10:19/ автор: Jin (iXBT.com) сайт: www.ixbt.com

Компания E Ink еще в прошлом году обновила ассортимент своих электронных ценников, представив модель Spectra, которая способна отображать желтый цвет.

На тот момент сообщалось о том, что доход E Ink от продажи электронных ценников вырос вдвое за год. Исполнительный директор E Ink Фрэнк Ко (Frank Ko) на днях отметил, что этот товар продолжает набирать популярность. В 2015 году компания отгрузила более 60 млн электронных ценников, а в этом году прогноз составляет более 100 млн единиц.

Поставки электронных ценников E Ink в этом году должны вырасти до 100 млн штук

Описывая преимущества электронных ценников, Фрэнк Ко говорит о том, что для смены информации на них нужно немного времени, на них реже допускаются ошибки, да и стоят они сегодня относительно немного. Подобную инновацию уже внедрили сети Carrefour во Франции, Media Markt в Германии и различные американские магазины.

/29 авг, 10:09/ автор: Accent (iXBT.com) сайт: www.ixbt.com

Компания Samsung Electronics сообщила о начале продаж мониторов серий CFG70 и CF791. В серию CFG70 вошли модели с экранами размерами 24 и 27 дюймов, а серия CF791 представлена моделью с экраном размером 34 дюйма. Общей чертой новинок является вогнутая форма экрана. В случае мониторов CFG70 радиус кривизны составляет 1800 мм, у CF791 он равен 1500 мм. Новые мониторы поддерживают технологию AMD FreeSync и ориентированы на любителей игр.

Названы цены на игровые мониторы Samsung CFG70 и CF791 с вогнутыми экранами на квантовых точках

В панелях мониторов Samsung CFG70 и CF791 нашла применение технология квантовых точек, повышающая качество изображения: охват цветового пространства sRGB составляет 125%.

Мы уже сообщали, что 24-дюймовую модель Samsung C24FG70 был показан некоторое время назад на выставке Gamescom 2016. Примерно тогда же появились сведения о 43-дюймовой модели Samsung CF791.

Разрешение экрана CFG70 составляет 1920 х 1080 пикселей, CFG71 — 3440 x 1440 пикселей. Время реакции пикселя заявлено равным 1 и 4 мс, а максимальная кадровая частота — 144 и 100 Гц соответственно. Углы обзора во всех случаях равны 178°. Каждый монитор имеет один вход DisplayPort и два входа HDMI. Оснащение 34-дюймовой модели также включает два громкоговорителя мощностью по 7 Вт и концентратор USB.

Модель CFG70 с 24-дюймовым экраном оценена производителем в $399, с 27-дюймовым экраном — в $499. Монитор CF791 стоит $999.

Источник: Samsung

/29 авг, 09:50/ автор: Jin (iXBT.com) сайт: www.ixbt.com

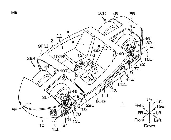
В японском патентном бюро появилось описание транспортного средства, над которым работает компания Yamaha. Данный автомобиль будет отличаться возможностью также перемещаться по поверхности воды.

Yamaha работает над автомобилем-амфибией

В патенте говорится о том, что инженеры нашли способ полностью убирать колеса внутрь корпуса, который при этом не требует увеличение ширины, по сравнению с корпусами обычных автомобилей. Представленные сегодня плавающие автомобили, которые выпускаются ограниченными сериями, не могут похвастать убирающимися в корпус колесами. Гладкий корпус с отсутствием выступающих частей и колесных арок приведет к снижению расхода топлива и увеличению скорости.

Yamaha работает над автомобилем-амфибией

Стоит добавить, что подробности о силовой установке и других составляющих машины-амфибии Yamaha пока не сообщаются, поэтому в итоге никакого топлива в ней может не оказаться, если Yamaha предпочтет изначально использовать электрический двигатель. В документах лишь упоминается некий водный движитель, возможно, речь идет о водомете.

/29 авг, 09:32/ автор: Accent (iXBT.com) сайт: www.ixbt.com

По словам источника, ссылающегося на публикацию японского делового ежедневника Nikkei, компания Sharp надеется объединить усилия, направленные на выпуск органических светодиодных дисплеев (OLED), с соответствующими усилиями своего конкурента Japan Display Inc. Совместно японские компании рассчитывают догнать южнокорейских производителей, лидирующих в технологии OLED.

Sharp и Japan Display хотят догнать южнокорейских производителей

«Давайте соберем все японские таланты в жидкокристаллических дисплеях, разработаем {технологию OLED} и совместно будем ее использовать», — приводит источник слова нового генерального директора компании Sharp, сказанные им в интервью Nikkei.

Компании Sharp и Japan Display планируют начать массовое производство панелей OLED лишь в 2018 году, сильно отставая в этом отношении от компании Samsung Display, которая уже несколько лет серийно выпускает такие панели. Эти панели использует в своих мобильных устройствах компания Samsung Electronics. По мнению специалистов DisplayMate, смартфон Samsung Galaxy Note7 имеет самый лучший из когда-либо протестированных ими дисплеев мобильных устройств.

Источник: Reuters

/29 авг, 09:28/ автор: Jin (iXBT.com) сайт: www.ixbt.com

В июле появилась информация о том, что единственным поставщиком SoC Apple A10 и Apple A11 станет компания TSMC, Samsung в этом принимать участие не будет.

Однако, как полагают аналитики, уже в 2018 году конкуренцию TSMC составит Intel, которая начнет заниматься поставками процессоров для будущих смартфонов iPhone.

Напомним, пару недель назад стало известно о том, что Intel подписала лицензионное соглашение с ARM и планирует начать производство соответствующих однокристальных систем для своих партнеров.

Apple может начать использовать SoC Intel в iPhone уже через два года

На тот момент специалисты предположили, что Intel не сможет начать производство SoC для iPhone до 2019 года, однако теперь Nikkei утверждает, что процессоры с архитектурой ARM в исполнении Intel дебютируют, как минимум, годом раньше.

Источник пишет, что Intel переманит от TSMC одного или двух очень крупных клиентов, добавляя, что переговоры с Apple уже идут.

/29 авг, 09:16/ автор: Jin (iXBT.com) сайт: www.ixbt.com

Исполнительный директор Apple Тим Кук (Tim Cook) на днях продал 334 тыс. акций возглавляемой им компании, выручив около 36 млн долларов.

Данная информация была зафиксирована Комиссией США по ценным бумагам и биржам (SEC), которая также подтвердила, что для покрытия налогов было продано еще 656 тыс. акций на сумму более 70 млн долларов.

Кук воспользовался правом продажи акций Apple на прошлой неделе, когда он отметил пять лет на посту главы компании. В честь этого Тим Кук получил 1,26 млн акций на сумму около 135 млн долларов. Большую часть акций он получил за руководство компанией, дополнительный бонус в виде 280 тыс. акций полагался ему за высокие котировки Apple в течение последних лет.

Тим Кук продал часть акций Apple на сумму около $36 млн

На данный момент у Тима Кука осталось более 1,3 млн акций, которые оцениваются примерно в 140 млн долларов.

/29 авг, 09:16/ автор: Accent (iXBT.com) сайт: www.ixbt.com

Компания Micro-Star International (MSI), отгрузившая в первой половине 2016 года два миллиона 3D-карт, в течение всего года, скорее всего, сможет отгрузить пять миллионов этих изделий. Этот показатель будет соответствовать росту поставок на 31,6% по сравнению с 2015 годом. Операционная прибыль MSI при этом достигнет 47,2 млн долларов. Такой прогноз дают отраслевые источники. Напомним, совсем недавно они полагали, что MSI в этом году отгрузит не четыре, а пять миллионов 3D-карт.

MSI наращивает поставки 3D-карт

Рост поставок 3D-карт производства MSI будет в основном обеспечен за счет моделей на графических процессорах Nvidia, на которые сейчас приходится около 80% всех поставок 3D-карт в мире. Кроме того, сыграет роль популярность игровых ноутбуков. MSI планирует в 2016 году продать 1,2 млн этих изделий, что на 33,3% больше, чем в прошлом году.

Источник: Digitimes

/29 авг, 09:00/ автор: Accent (iXBT.com) сайт: www.ixbt.com

Источник обнаружил в базе данных теста GFXBench информацию о смартфоне Motorola Moto Z Play, подтверждающую предварительные сведения об этом устройстве.

Анонс Мото Z Play ожидается 6 сентября

Как видно на иллюстрации, основой смартфона служит SoC Snapdragon с восьмиядерным процессором, работающим на частоте 2,0 ГГц. Аппарат оснащен дисплеем Full HD размером 5,5 дюйма. Объем оперативной памяти равен 3 ГБ, флэш-памяти — 32 ГБ.

На данный момент также известно, что разрешение камер смартфона составит 5 и 16 Мп, а емкость аккумулятора будет равна 3510 мА∙ч. При габаритах 156,4 х 76,4 х 6,99 мм устройство будет весить 165 г. Анонс Мото Z Play ожидается 6 сентября.

Источник: Mobilexpose

/29 авг, 07:45/ автор: MPAK (iXBT.com) сайт: www.ixbt.com

Компания AMD в текущем году решила ограничится бюджетными и среднебюджетными графическими ускорителями, полностью оставив сегмент очень производительных видеокарт конкуренту.

Соперник топовым решениям Nvidia Pascal называется Vega и в Сети постоянно ходят разные слухи о том, когда же 3D-карты с данным GPU выйдут на рынок.

AMD намерена выпустить Vega в первом полугодии 2017 года

Очередной слайд AMD указывает, что ожидать новые ускорители стоит в первом полугодии следующего года. То есть, возможно, речь о втором квартале, хотя ранее в дорожных картах фигурировал первый.

GPU Vega должен принести рынку память HBM второго поколения. Вероятно, конкурировать решение будет с GeForce GTX 1080/1070, хотя к тому моменту Nvidia вполне может вывести на рынок GTX 1080 Ti, основанную на GPU GP102.

/29 авг, 07:15/ автор: MPAK (iXBT.com) сайт: www.ixbt.com

Японский сайт компании Scythe пополнился новой моделью процессорного охладителя — Byakko. Новинка относится к бюджетному сегменту и оценивается примерно в $30. Причём в Японии цены на электронику выше, чем в Европе или США, так что на других рынках охладитель будет ещё дешевле.

Кулер Scythe Byakko получил лишь три тепловые трубки

Устройство совместимо только с процессорами Intel в исполнении LGA 775/1150/1155/1156/1366/1151. Габариты Byakko составляют 102 х 130 х 83 мм при массе 460 г. Кулер оснащается 92-миллиметровым вентилятором, который вращается со скоростью 300-2300 об /мин. Уровень шума при этом не должен превышать 28,3 дБА, а воздушный поток достигает 79 м³/ч.

Конструктивно новинка представляет собой обычный башенный охладитель, в данном случае располагающий тремя тепловыми трубками.

/29 авг, 07:15/ автор: MPAK (iXBT.com) сайт: www.ixbt.com

Японский сайт компании Scythe пополнился новой моделью процессорного охладителя — Byakko. Новинка относится к бюджетному сегменту и оценивается примерно в $30. Причём в Японии цены на электронику выше, чем в Европе или США, так что на других рынках охладитель будет ещё дешевле.

Кулер Scythe Byakko получил лишь три тепловые трубки

Устройство совместимо только с процессорами Intel в исполнении LGA 775/1150/1155/1156/1366/1151. Габариты Byakko составляют 102 х 130 х 83 мм при массе 460 г. Кулер оснащается 92-миллиметровым вентилятором, который вращается со скоростью 300-2300 об /мин. Уровень шума при этом не должен превышать 28,3 дБА, а воздушный поток достигает 79 м³/ч.

Конструктивно новинка представляет собой обычный башенный охладитель, в данном случае располагающий тремя тепловыми трубками.

/29 авг, 07:00/ автор: MPAK (iXBT.com) сайт: www.ixbt.com

Идея использовать две разные видеокарты в одной связке далеко не нова. К примеру, можно вспомнить, что API DirectX 12 позволяет совместно использовать совершенно разные карты, однако реализация оставлена на усмотрение разработчиков игр.

А вот установить в систему Radeon RX 480 и RX 470 — задача попроще, так как это возможно благодаря особенностям технологии CrossfireX. Работоспособность такой парочки и решили проверить наши коллеги с ресурса WCCF Tech. Они взяли адаптеры XFX RX 480 и MSI RX 470 Gaming X. Обе карты оснащались 4 ГБ памяти.

Полученные результаты можно увидеть ниже.

Видеокарты Radeon RX 480 и RX 470 отлично работают в паре

Видеокарты Radeon RX 480 и RX 470 отлично работают в паре

Видеокарты Radeon RX 480 и RX 470 отлично работают в паре

Видеокарты Radeon RX 480 и RX 470 отлично работают в паре

Видеокарты Radeon RX 480 и RX 470 отлично работают в паре

Как видно, прирост производительности достаточно велик, но, как всегда, сильно зависит от оптимизации конкретной игры. Правда, сложно представить реальную ситуацию, когда пользователь собирает именно такую систему. Разве что, когда подвернётся возможность купить по очень выгодной цене один из адаптеров Radeon RX при уже имеющемся подобном.

Поиск по сайту
Обратная связь
Разработчикам
Реклама на сайте

Политика конфиденциальности
Пользовательское соглашение

 

Filebox.ru каталог архив программного обеспечения для Windows, работает с 2003 года.
Copyright © 2003-2026 Filebox.ru All Rights Reserved.

Яндекс.Метрика