|
Лента технологий | Подборка за 27 июля 2016 г. 00:00:00
Компания LG Display, поставляющая дисплеи для смартфонов Apple iPhone, сообщила о намерении инвестировать 1,75 млрд долларов в производство гибких дисплеев для смартфонов. Конечно, речь идет о дисплеях OLED. Источник называет этот шаг залогом того, что больше производителей смартфонов верхнего сегмента смогут использовать такие дисплеи в своей продукции. ![]() По словам LG Display, серийный выпуск гибких дисплеев начнется в конце 2018 года. Объем выпуска составит 3 млн дисплеев размером 5,7 дюйма в месяц. Компания Apple пока использует в своих смартфонах жидкокристаллические дисплеи, тогда как лидер отрасли Samsung и другие производители, включая китайских конкурентов Apple, уже используют дисплеи OLED. Отраслевые наблюдатели ожидают, что Apple постарается нагнать их в будущем году, выпустив модель iPhone с дисплеем OLED. Источник: Спустя несколько часов после того, как был анонсирован ноутбук , компания Lenovo представила очень похожее решение под названием Lenovo Air 13 Pro, которое будет предлагаться по цене 750 долларов. Очевидно, что Lenovo заранее все спланировала, решив немного смазать впечатление он анонса Xiaomi Mi Notebook Air. ![]() В оснащение Lenovo Air 13 Pro входят дисплей IPS диагональю 13,3 дюйма с разрешением 1920 х 1080 пикселей, процессор Intel I5-6200U или Intel Core i7-6500U, видеокарта Nvidia GeForce 940MX с 2 ГБ памяти, 4 или 8 ГБ оперативной памяти, а также твердотельный накопитель емкостью 256 или 512 ГБ. Напомним, в Xiaomi Mi Notebook Air предусмотрен слот для установки дополнительного SSD, чего нет у Lenovo Air 13 Pro. Толщина ноутбука составляет 1,48 см, а его масса равна 1,29 кг, в этом плане ноутбуки также очень похожи. ![]() Кроме того, Lenovo Air 13 Pro получил дактилоскопический датчик, которого нет у Xiaomi Mi Notebook Air. Ноутбук работает под управлением Windows 10, в распоряжении пользователей будут порты USB 3.0, USB-C, а также громкоговорители JBL. ![]() Стоит отметить, что за 750 долларов покупатели получают младшую версию с 4 ГБ ОЗУ, тогда как Xiaomi Mi Notebook Air предлагает за те же деньги вдвое больше оперативной памяти. Производитель добавил, что после стадии приема предварительных заказов цена увеличится до 825 долларов. Напомним, флагманский смартфон оснащен цельнометаллическим корпусом, дисплеем диагональю 5,5 дюйма с разрешением 1920 x 1080, однокристальной системой Mediatek Helio P10, 4 ГБ оперативной и 32 ГБ флэш-памяти. Камера получила 13-мегапиксельный датчик Panasonic. Устройство поступило в продажу только в конце прошлого месяца по цене 220 долларов. Теперь же источники раскопали информацию о том, что производитель намеревается выпустить улучшенную версию Umi Super. Кроме того, были опубликованы первые фотографии смартфона. ![]() Главным отличием станет вторая 13-мегапиксельная камера, расположенная на задней панели. Кроме того, ожидается, что новый Umi Super получит десятиядерную однокристальную систему и 64 ГБ энергонезависимой памяти. ![]() Цена и дата выхода новой модели пока не сообщаются. В декабре прошлого года появилась информация, что . Вчера о сделке было объявлено официально. ![]() Сделка включает направление деятельности Osram, связанное с выпуском ламп. Покупателем выступил китайский консорциум. Как и ожидалось, в него вошла компания MLS, занимающаяся выпуском осветительных приборов. Кроме того, в консорциум входят инвестиционные компании IDG и Yiwu. Сумма сделки превышает 400 млн евро. Как обычно а таких случаях, необходимо получение одобрения регулирующих органов. Завершение сделки ожидается до конца 2017 финансового года. Источник: Компания UMC, , отчиталась за минувший квартал. Отчетный период принес одному из крупнейших контрактных производителей полупроводниковой продукции доход в размере 1,15 млрд долларов. Это на 7,5% больше по сравнению с предшествующим кварталом, но на 2,7% меньше, чем во втором квартале 2015 года. ![]() Загрузка мощностей UMC в минувшем квартале составляла 89%. В абсолютном выражении это означает обработку 1,51 млн эквивалентных 200-миллиметровых пластин. При этом валовая прибыль, позволяющая судить о рентабельности производства, оказалась равна 22,4%. Производитель отмечает, что улучшение показателей по сравнению с первым кварталом обусловлено сезонным фактором. На выпуск 28-нанометровой продукции (наиболее передовой техпроцесс, освоенный UMC) приходится 20% дохода. Устойчивым остается спрос на 40-нанометровую продукцию. В компании планируют расширить производство 28-нанометровой продукции за счет ввода в строй до конца года новой фабрики на Тайване, рассчитанной на 300-миллиметровые пластины. Источник: Компания TP-Link представила точки доступа EAP330 и EAP320, предназначенные для офисов, отелей, ресторанов и учебных заведений. Они рассчитаны на монтаж на стенах и потолке. ![]() Обе модели соответствуют спецификации 802.11ac и работают в диапазонах 2,4 и 5 ГГц. Пропускная способность EAP330 равна 1900 Мбит/с (600 Мбит/с в диапазоне 2,4 ГГц и 1300 Мбит/с в диапазоне 5 ГГц). Пропускная способность EAP320 равна 1200 Мбит/с (300 Мбит/с в диапазоне 2,4 ГГц и 867 Мбит/с в диапазоне 5 ГГц). В точках доступа EAP330 и EAP320 нашла применение технология формирования луча, улучшающая качество связи. Модель EAP330 оснащена двумя портами Gigabit Ethernet с поддержкой агрегации. ![]() К другим достоинствам новых точек доступа Wi-Fi можно отнести простоту установки, поддержку Multi-SSID и 802.3at PoE, пассивное охлаждение и наличие крепления для замка Kensington. Габариты устройств равны 220,5 х 193,5 х 36,5 мм. Точка доступа EAP320 стоит $150, EAP330 — $200. Источник: Компания ARM Holdings опубликовала отчет за второй квартал 2016 финансового года, завершившийся к нее 30 июня. За отчетный период компании удалось получить 276,6 млн фунтов стерлингов дохода. Это на 17% больше показателя , равного 228,5 млн фунтов стерлингов. Поскольку за год курс обмена валют сильно изменился, при пересчете в доллары рост оказывается равен 9% (с 357,1 до 387,6 млн долларов). ![]() Операционные расходы за год выросли с 99,3 до 130,7 млн фунтов стерлингов или на 32%. Прибыль до уплаты налогов увеличились со 123,9 до 130,1 млн фунтов стерлингов или на 5%. Операционная рентабельность за год уменьшилась с 52,9% до 47,6%. Составители отчета подсчитали, что за квартал было подписано 25 договоров о лицензировании процессоров. Микросхем на архитектуре ARM за это же время было выпущено 3,6 млрд штук, что на 9% больше, чем год назад. Источник: По подсчетам компании Nikon, суммарный объем выпуска сменных объективов Nikkor превысил 100 миллионов штук. Уточним, что производитель считает как объективы для зеркальных камер, так и объективы для беззеркальных камер системы Nikon 1. В настоящее время ассортимент объективов Nikkor включает более 90 моделей — с фиксированным и переменным фокусным расстоянием, от сверхширокоугольных до супертелеобъективов, включая объективы для макросъемки и объективы с коррекцией перспективы. Интересно, что японский производитель сообщил в ноябре 2014 года, а . Другими словами, темп замедляется. ![]() Напомним, сегодня был , показанный на иллюстрации. Источник: Компания Vido представила трансформируемый планшет Vido W10 Elite, который по ряду характеристик напоминает модель . В данном случае диагональ экрана уменьшилась с 10,8 до 10,1 дюйма, а его разрешение составляет 1920 x 1200 пикселей. Используется матрица IPS, воздушного зазора между защитным стеклом и матрицей нет, что уменьшает количество бликов. ![]() Планшет Vido W10 Elite основан на четырехъядерной SoC Intel Atom x7-Z8700, работающей на частоте до 2,4 ГГц и поддерживающей ОЗУ LPDDR3 объемом до 8 ГБ. В данном случае распаяно ОЗУ емкостью 4 ГБ, так что есть почва для появления более дорогих модификаций. Зато модуль флэш-памяти eMMC объемом 128 ГБ существенно превосходит все то, что устанавливается в более доступных планшетах, вдобавок можно установить карту памяти microSD (до 64 ГБ). Имеются адаптеры Wi-Fi 802.11 a/b/g/n/ac и Bluetooth, используемые камеры не поражают воображение: тыльный и фронтальный модуль разрешением 5 и 2 Мп соответственно. Для подключения периферии есть один порт USB 3.0 Type-C, внешний дисплей подключается посредством MicroHDMI. Встроен аккумулятор емкостью 7300 мА·ч, габариты планшета составляют 26,2 х 16,7 х 0,92 мм при массе 645 г. Клавиатура и перо в комплект не входят и докупаются отдельно. Источник опубликовал изображение 3D-карты Sapphire Radeon RX 460 Nitro OC. Эта карта на GPU Polaris 11, отличающаяся от референсного образца, будет представлена менее чем через две недели. ![]() Внешне RX 460 Nitro напоминает модель . Наиболее заметным отличием является набор разъемов на монтажной планке. Младшая модель имеет всего три видеовыхода. В то же время, судя по надписям на коробке, она получит 4 ГБ памяти — вдвое больше, чем у референсного образца. Конечно, карта будет разогнана, на что указывают буквы ОС в обозначении, но конкретные значения частот пока неизвестны. Анонс 3D-карты AMD Radeon RX 460 ожидается 8 августа. Источник: Как и ожидалось, компания Nikon представила о котором появились накануне. По словам производителя, это единственный на рынке объектив с фокусным расстоянием 105 мм, автоматической фокусировкой и максимальной диафрагмой f/1,4. Новинка ориентирована на портретную съемку. ![]() К особенностям изделия производитель относит диафрагму с девятью скругленными лепестками и электромагнитным приводом, который гарантирует исключительную стабильность автоматического контроля экспозиции даже при высокоскоростной серийной съемке, и нанокристаллическое покрытие Nano Crystal Coat, обеспечивающее высокую контрастность изображения и отсутствие бликов даже в сложных условиях освещения. Технические данные объектива AF-S Nikkor 105mm f/1.4E ED:
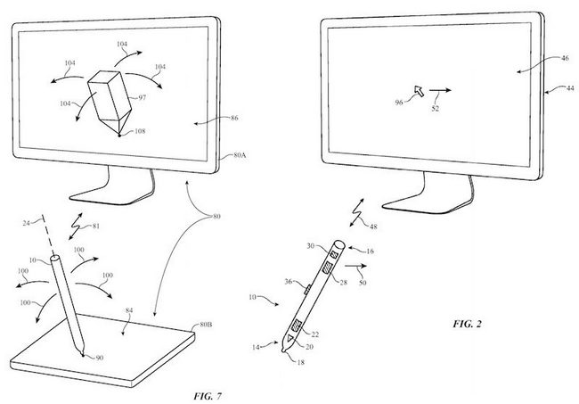
На сайте Indiegogo начат сбор средств на выпуск изделия Cowarobot R1. Создатели называют Cowarobot R1 первым в мире роботом-чемоданом. Наряду с другими способностями, R1 может следовать за своим хозяином, обходя препятствия. Поскольку чемодан движется самостоятельно, руки пользователя остаются свободными. ![]() Переключение между автономным и ручным режимами выполняется с помощью ручки, в которую встроена камера и другие датчики. Скорость движения R1 достигает 7,2 км/ч, что больше средней скорости пешехода, равной 4-5 км/ч. Запас хода на одной зарядке аккумулятора емкостью 96,5 Вт∙ч составляет 20 км. Габариты «чемобота» — 55 х 38 х 20 см, масса — 4,8 кг, из которых на аккумулятор приходится 462 г. Чемодан может отыскать своего владельца и вернуться к нему в радиусе 50 м. Для этого у пользователя есть браслет, работающий на частотах 2,4 и 6,5 ГГц. ![]() Чемодан оборудован умным замком, сигнализацией, срабатывающей при удалении от пользователя, и приемником GPS, позволяющим отыскать забытый или утерянный багаж. Стоит отметить наличие отделения для электронных устройств со встроенным зарядным устройством. Для управления умными замками, записи маршрута и выполнения других функций служит мобильное приложение. ![]() Минимальный взнос составляет $429. Хотя сбор средств начался только вчера, уже собрано более трех четвертей из намеченных $100 000. Отгрузку готовых чемоданов R1 разработчики обещают начать в октябре. Источник: , Indiegogo На сегодняшней пресс-конференции Xiaomi был представлен не только , но и смартфон Xiaomi Redmi Pro, который получил сдвоенную камеру. ![]() Прежде всего, начать нужно с того, что основная камера получила два разных датчика изображения: 13-мегапиксельный Sony IMX258 и пятимегапиксельный разработки Samsung. Диафрагма может находиться в пределах от F/0,95 до F/5,6. Xiaomi Redmi Pro использует данные, полученные обоими датчиками изображения, позволяя менять глубину резкости и степень размытия на готовых снимках. На лицевой панели располагается пятимегапиксельная камера с углом обзора 85°. ![]() Смартфон получил металлический корпус, дисплей OLED диагональю 5,5 дюйма с разрешением 1920 х 1080 пикселей, однокристальную систему Helio X25, 4 ГБ оперативной и 128 ГБ флэш-памяти, которая пригодится поклонникам мобильной фотографии. При желании вместо второй карты SIM можно вставить карту памяти microSD. В кнопку Home встроен дактилоскопический датчик, смартфон получил разъем USB-C. Данная модель будет стоить 300 долларов. ![]() В продажу также поступит младшая версия с однокристальной системой Helio X20, 3 ГБ оперативной и 32 ГБ флэш-памяти по цене около 225 долларов. А за 254 доллара можно будет приобрести версию с Helio X25, 3 ГБ оперативной и 64 ГБ флэш-памяти. Емкость аккумулятора во всех случаях равна 4050 мА•ч. Начало продаж ожидается 6 августа, на начальном этапе смартфон будет доступен только в Китае. Только что на пресс-конференции в Пекине компания Xiaomi представила свой первый ноутбук, который получил название Xiaomi Mi Notebook Air (в другом варианте перевода — Xiaomi Mi Laptop Air). ![]() Заключенный в алюминиевый корпус Xiaomi Mi Notebook Air оснащен процессором Intel Core i5-6200U, который работает на частоте до 2,7 ГГц, видеокартой Nvidia GeForce 940MX, а также 8 ГБ оперативной памяти и твердотельным накопителем емкостью 256 ГБ. В ноутбуке предусмотрен слот для подключения еще одного SSD. ![]() Старшая модель имеет дисплей диагональю 13,3 дюйма с разрешением 1920 х 1080 пикселей. Xiaomi заявила, что популярная игра Dota 2 работает на этом ноутбуке с частотой 85 к/с. ![]() Габариты ноутбука равны 309 х 210,9 х 14,8 мм при массе 1,28 кг. В оснащение входят два порта USB 3.0, разъемы HDMI, 3,5 мм и USB-C, который служит для зарядки. Емкость аккумуляторной батареи составляет 40 Вт•ч, ее хватает на 9,5 часов работы. ![]() Также была анонсирована младшая модель с дисплеем диагональю 12,5 дюйма толщиной 12,9 мм и массой 1,07 кг. Дискретного GPU в ней нет, приходится довольствоваться встроенным в процессор Intel Core-M графическим процессором. Кроме того, объем оперативной памяти уменьшен до 4 ГБ, а емкость SSD составляет 128 ГБ. Данная модель превосходит старшую в автономности, она может работать до 11,5 часов. ![]() В качестве ОС выступает Windows 10 Home. Xiaomi пока что планирует продавать ноутбук только в Китае по цене $525 и $750 за младшую и старшую модели соответственно. Официальный портал Мэра и Правительства Москвы сообщает о разработке мобильного приложения «Узнай Москву. Фото», которое предлагает пользователям догнать виртуальных двойников культовых и исторических личностей, чтобы сфотографироваться с ними. Приложение будет работать по принципу ставшего крайне популярным за последние недели Pokemon GO, положение персонажей на местности будет отображаться геометкой. Когда пользователь будет оказываться в радиусе 50 м от персонажа, на смартфон будут скидываться точные координаты для обнаружения Виктора Цоя, Юрия Гагарина, Александра Пушкина, Петра Чайковского, Петра I, Ивана Грозного и других знаменитых личностей. ![]() Ожидается, что приложение, которое появится в Play Market и AppStore до конца августа, будет способствовать росту популярности мобильного сервиса «Узнай Москву». В Великобритании было проведено сравнение четырех моделей телевизоров, в котором приняли участие «незаинтересованные зрители». Один телевизор был оснащен экраном типа OLED, остальные три — жидкокристаллическими экранами. Результат сравнения может неприятно удивить сторонников OLED, поскольку 80% зрителей предпочли жидкокристаллические телевизоры, посчитав, что они обеспечивают более высокое качество изображения. ![]() Все телевизоры предварительно были тщательно откалиброваны. На них выводились одни и те же видеозаписи с широким динамическим диапазоном (HDR). На первом месте оказалась модель Samsung UE65KS9500 (в США она называется UN6KS9800) с жидкокристаллическим экраном. На втором — тоже жидкокристаллическая модель Panasonic TX-65DX902 (65DX900). И только на третьем — LG OLED65E6 с экраном OLED. Четвертое место заняла модель Sony KD-85XD9405 (XBR-75X940D). ![]() Объясняя свой выбор, зрители отмечали сравнительно низкую пиковую яркость OLED. В то же время, в OLED им понравились насыщенные цвета и полное отсутствие неоднородности подсветки, от которой в разной степени страдали все жидкокристаллические модели. Сравнение было организовано сайтом HDTVtest.co.uk, торговой компанией Crampton & Moore и одним из британских университетов. Источник: В Бюро по регистрации патентов и торговых марок США (United States Patent and Trademark Office, USPTO) появилось описание «стилуса со встроенными датчиками», которое зарегистрировала компания Apple. Патентная заявка была подана еще в ноябре 2014, однако опубликована только в мае этого года. В патенте говорится о совместном использовании электронного пера Apple Pencil и сенсорной панели Magic Trackpad, которая сможет воспринимать электромагнитные сигналы электрода, расположенного на кончике стилуса, и отображать их графическое представление в совместимых программах. ![]() Специалисты считают, что тем самым Apple планирует предложить владельцам своих настольных компьютеров возможность заниматься рисованием и дизайном — то же, что доступно владельцам iPad Pro и Apple Pencil. Входящие в оснащение сенсоры нового Apple Pencil должны позволить использовать аксессуар для жестового управления приложениями, в качестве «воздушной мыши» (air mouse)) или джойстика в играх. ![]() В очередной раз добавим, что факт существования патента вовсе не гарантирует, что Apple анонсирует такой продукт в обозримом будущем. На прошлой неделе был представлен новый смартфон , теперь же производитель уточнил характеристики и озвучил свою ценовую политику в отношении данной модели. Ранее было известно, что экран будет иметь диагональ 5,5 дюйма при разрешении 1280 х 720 пикселей, теперь сообщается, что он будет покрыт защитным стеклом 2.5D. В качестве доступных цветов были выбраны довольно популярные Сhampagne Gold, Space Grey и Rose Gold. ![]() Основная камера получила 13-мегапиксельный датчик изображения и объектив с максимальной диафрагмой F/2,0, а также быстрым автофокусом. Фронтальная камера имеет разрешение 5 Мп. Дактилоскопический датчик, расположенный на задней панели, срабатывает под любым углом. Емкость аккумулятора равна 2500 мА•ч, габариты устройства составляют 157,6 x 78,4 x 9,5 мм. Кроме того, в оснащение смартфона также войдут SoC MediaTek MT6737, 2 ГБ оперативной и 16 ГБ флэш-памяти. ![]() На стадии предзаказа приобрести Oukitel U7 Plus можно будет по цене $70, затем цена увеличится до $90. В начале июня южнокрейское издание The Korea Herald, ссылаясь на UBI Research, первым о том, что Samsung оснастит смартфон Samsung Galaxy S8 дисплеем AMOLED диагональю 5,5 дюйма с разрешением 4K. Компания Samsung является одним из крупнейших поставщиков гарнитур виртуальной реальности. В немалой степени этому способствует акция, согласно которой покупатели Samsung Galaxy S7 получают Samsung Gear VR. Свежая информация, поступившая из Китая, указывает на то, что следующий флагманский смартфон, который проходит под кодовым названием Project Dream, продолжит движение в данном направлении. Новый информатор подтверждает, что Samsung Galaxy S8 и Samsung Galaxy S8 edge получат дисплеи разрешением 3840 x 2160. Однако для улучшения качества мобильной виртуальной реальности одним лишь повышением разрешения не обойтись. Поэтому в новых смартфонах ожидается появление однокристальной системы Snapdragon 830 с мощной графической составляющей. Анонс Samsung Galaxy S8 состоится в начале следующего года, смартфон должен получить алюминиевый корпус, покрытый с обоих сторон защитным стеклом Gorilla Glass 5. Корейские СМИ утверждают, что в 2017 году Samsung выпустит , включая Samsung Galaxy X со сгибающимся дисплеем. Компания Western Digital поделилась успехом в разработке флэш-памяти с объемной компоновкой (3D NAND). Новая память BiCS3 включает 64 слоя ячеек, каждая из которых может хранить три бита. Память BiCS3 была разработана совместно с Toshiba. Пробный выпуск этой памяти уже начат на фабрике в Йоккайчи (Япония), принадлежащей совместному предприятию компаний Toshiba и SanDisk. Последняя, как известно, . ![]() Плотность первых кристаллов BiCS3 — 256 Гбит. Планируется выпуск микросхем объемом до 512 ГБ. В Western Digital собираются начать поставки образцов заказчикам из числа OEM уже в текущем квартале, а массовые поставки памяти для продукции, предназначенной для розничной продажи, должны начаться в четвертом квартале 2016 года. Производитель отмечает, что поставки памяти предыдущего поколения BiCS2 тоже продолжатся. Источник: Компания Thermaltake сообщила о появлении блоков питания , оснащенных разноцветной светодиодной подсветкой. Полное название серии звучит как Toughpower DPS G RGB, новинки оснащаются вентилятором с 256-цветной подсветкой. Ее яркость настраивается, можно выбрать конкретный оттенок или плавную смену цветов, а можно и вовсе отключить. ![]() Благодаря встроенному микроконтроллеру STMicro STM32F302 пользователь может отслеживать изменения токов и напряжений, а также регулировать обороты вентилятора и полностью отключать его (он включится сам при повышении нагрузки). Следить за состоянием БП можно дистанционно (с помощью мобильных устройств), в случае потенциальных неполадок ПК можно выключить или перезагрузить удаленно. ![]() В новой серии предусмотрены модели мощностью 650, 750 и 850 Вт, причем вся она может быть отдана по единственной линии напряжения 12 В. Эффективность оценена сертификатом 80 Plus Gold, в схеме используются только японские конденсаторы. Вентилятор типоразмера 140 мм имеет сдвоенные шарикоподшипники, вращается со скоростью до 1500 об/мин и оснащен резиновыми крепежными прокладками для снижения вибрации. Все кабели отсоединяемые, есть от четырех до шести восьмиконтактных коннекторов для питания видеокарт. Цена новинок зависит от мощности и составляет 140, 160 или 190 евро. Пресс-служба соцсети «Елицы», созданной по благословению Патриарха Московского и всея Руси Кирилла, сообщает о том, что в данный момент ведется разработа мессенджера, который будет запущен при поддержке Русской православной церкви (РПЦ). В небольшом пресс-релизе говорится о том, что православный мессенджер должен удовлетворить потребностей верующих в интерактивном общении и непрерывной связи прихожан с Церковью. Он также станет важным звеном единой коммуникационной платформы РПЦ. ![]() Пользователи смогут обмениваться текстовыми сообщениями, а также аудио- и видеозаписями. А священнослужители также получат доступ к расширенным возможностям, которые позволят им оперативно доносить информацию до широкой аудитории. Директор по развитию сети «Елицы» Иван Суслин заявил, что новым мессенджером будут пользоваться от 7 до 10 млн человек. В начале недели стало о том, что доход компании Huawei в первой половине текущего календарного года вырос на внушительные 40% и составил около 37 млрд долларов. Вице-президент Huawei Юй Чэндун (Yu Chengdong) на своей страничке в китайской социальной сети Weibo добавил, что за тот же период поставки смартфонов компании составили 60,56 млн единиц. А это на 25% больше, чем за аналогичный период годом ранее. Доход компании от продажи смартфонов в первом полугодии вырос на 41% и составил 11,59 млрд долларов. Компании сегодня принадлежит 11,4% рынка смартфона, она находится на третьем месте в общем рейтинге, уступая Samsung и Apple. ![]() Компания также сообщила о том, что за последний год продажи Huawei в таких странах, как Египет, Чили и Перу выросли на 700, 200 и 134% соответственно. Компания Apple опубликовала результаты третьего квартала 2016 финансового года, завершившегося для неё 25 июня. Не радужные прогнозы аналитиков и ещё более мрачные версии злопыхателей остались в прошлом и теперь можно взглянуть, действительно ли продажи смартфонов, а ведь это интересует большинство сильнее, чем остальное, рухнули так, как многим казалось. Но для начала финансовые показатели. Выручка Apple за квартал составила 42,4 млрд долларов. Это всё ещё недостижимые для большинства показатели, но в годовом выражении они соответствуют снижению на 15%. Сильнее всего выручка пострадала в Китае — там зафиксировано падение на 33%. Операционная прибыль упала на 28% до 10,105 млрд долларов. Чистая прибыль снизилась на 27% и составила 7,796 млрд долларов. ![]() Что же касается смартфонов, они всё ещё приносят львиную долю дохода. За четверть Apple реализовала 40,399 млн аппаратов на сумму 24 млрд долларов. Это соответствует падению на 15% в количественном выражении и на 23% в денежном. Средняя цена смартфона снизилась до уровня 595 долларов. Планшетов iPad было продано 9,95 млн, что на 9% меньше, чем годом ранее. Но вот выручка от продаж этих устройств, что интересно, выросла на 7%. Компьютеров Mac купертинский гигант реализовал 4,252 млн и это на 11% меньше, чем в прошлом году. Сервисы принесли компании 5,976 млрд долларов, что соответствует росту на 19%. Всё остальное, выведенное Apple в пункт Others Products, принесло 2,219 млрд долларов выручки и это снова соответствует падению на 16%. Ассортимент MSI пополнился видеокартами Radeon RX 480 Gaming. Всего компания приготовила четыре адаптера: RX 480 Gaming 4G, RX 480 Gaming 8G, RX 480 Gaming X 4G и RX 480 Gaming X 8G. ![]() Если рассматривать все устройства, то они используют идентичные печатные платы с восьмифазными (есть данные о шести фазах) подсистемами питания и охладители Twin Frozr VI, способные останавливать вентиляторы при невысокой температуре GPU. Если же говорить об отличиях, то они заключаются в частотах и объёме памяти. ![]() Модели RX 480 Gaming 4G и RX 480 Gaming 8G не могут похвастаться разгоном памяти, а вот GPU в режиме OC Mode трудятся на частоте 1292 МГц. У адаптеров RX 480 Gaming X 4G и RX 480 Gaming X 8G графические процессоры разогнаны до 1316 МГц, а память до 8100 МГц. Все новинки характеризуются длиной 276 мм и набором потов, состоящим из DVI, HDMI (x2) и DisplayPort (x2). Операционная система Remix OS, являющаяся адаптированной для настольных ПК версией Android, обновилась. Новая версия основана на актуальной Android 6.0 вместо Android 5.1 ранее. Теперь система называется Remix OS 3.0. ![]() Среди нововведений можно отметить появление кнопки для изменения размера окна под конкретное приложение, возможность изменять размер окна с любого края, работу видео в полноэкранном режиме и так далее. Кроме того, внедрена поддержка большего количества видеокарт AMD и Nvidia. Только мы узнали, что за 4,83 млрд долларов, как грянула ещё одна крупная сделка. На сей раз речь о сумме в 2 млрд долларов, за которые китайский гигант LeEco приобретает американскую компанию Vizio. В рамках сделки последняя продолжит свою деятельность без особых изменений в статусе дочернего предприятия LeEco. Исключение составляет бизнес Vizio, связанный с хранением данных. Он будет выделен в отдельную компанию Inscape. ![]() Учитывая тот факт, что сферы деятельности двух компаний схожи (телевидение), LeEco посредством нового актива сможет проще и быстрее закрепиться на рынке США. Сделку планируют завершить в четвёртом квартале текущего года. Компания Gionee представила смартфоны M6 и M6 Plus. Слухи оказались верны и устройства получили специальное аппаратное решение для шифрования данных. Gionee заявляет, что она первой реализовала подобное в сегменте смартфонов. К сожалению, подробностей о разработке компании пока нет. ![]() Что же касается иных параметров новинок, они достаточно схожи между собой. Оба аппарата оснащаются экранами AMOLED разрешением Full HD, однокристальными системами MediaTek Helio P10, 4 ГБ ОЗУ, камерами разрешением 13 и 8 Мп и ёмкими аккумуляторами. Младшая модель располагает экраном диагональю 5,5 дюйма, флэш-памятью объёмом от 32 до 128 ГБ и аккумулятором ёмкостью 5000 мА•ч. У старшей модели последний параметр составляет 6020 мА•ч, диагональ дисплея равна шести дюймам, а объём флэш-памяти может быть равен 64 либо 128 ГБ. ![]() Габариты M6 составляют 152,3 х 75,3 х 8,2 мм при массе 180 г. M6 Plus весит 215 г, а размеры равны 160,5 х 80,6 х 8,2 мм. Обе новинки заключены в металлические корпуса, располагают сканерами отпечатков пальцев и работают под управлением Android 6.0. Стоимость меньшего устройства стартует с отметки $400, а за планшетофон просят минимум $450. |
|
Поиск по сайту |
|
Filebox.ru каталог архив программного обеспечения для Windows, работает с 2003 года. |