Лента технологий за 23/01/2016, Суббота - Filebox.ru  Программы | Новости | ТОП-100 программ | Статьи

Лента технологий за 23/01/2016, Суббота - Filebox.ru

Лента технологий | Подборка за 23 января 2016 г. 00:00:00

/23 янв, 17:54/ автор: Accent (iXBT.com) сайт: www.ixbt.com

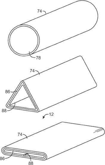
Компания Apple подала в США заявку на патент, в которой описано электронное устройство с дисплеем, обернутым вокруг корпуса. Изогнутый дисплей в заявке напоминает дисплеи смартфонов Samsung Galaxy S Edge, но заходит не только на боковые грани устройства, а опоясывает корпус целиком. Сам корпус, по замыслу изобретателей, может иметь не только форму, характерную для современных смартфонов.

Разъемы и органы управления предполагается размещать на торцах корпуса

Поскольку вся продольная поверхность будет занята дисплеем, разъемы и органы управления предполагается размещать на торцах корпуса.

Разъемы и органы управления предполагается размещать на торцах корпуса

На современном этапе развития технологии такая конструкция возможна только с использованием дисплеев OLED на гибкой подложке. Напомним, возможным поставщиком панелей OLED для смартфонов Apple названа компания Japan Display, которая начнет выпускать их в 2018 году.

Источник: USPTO

/23 янв, 17:11/ автор: Accent (iXBT.com) сайт: www.ixbt.com

Компания Microsoft обновила пакет программ Office для операционной системы iOS. В обновлении добавлена поддержка новых средств ввода, появившихся некоторое время назад в устройствах Apple. Это чувствительные к силе нажатия сенсорные экраны 3D Touch и перо Apple Pencil.

Программы Word, Excel и PowerPoint можно загрузить в App Store бесплатно

В обновленной версии Office жесты 3D Touch обеспечивают быстрый доступ к определенным функциям, например, позволяют в приложениях Word, Excel и PowerPoint быстро открывать недавний документ при запуске.

Новая вкладка Draw в этих приложениях дает возможность писать и рисовать, используя перо или кончик пальца. В случае пера Apple Pencil и планшета iPad Pro рукописный ввод оказывается весьма точным. Кроме того, офисные приложения Microsoft теперь теснее интегрированы с поисковым механизмом iOS 9.

Программы Word, Excel и PowerPoint можно загрузить в App Store бесплатно, но часть функций доступна только при наличии подписки на Office 365.

Источник: Microsoft

/23 янв, 16:45/ автор: Accent (iXBT.com) сайт: www.ixbt.com

На сайте KickStarer идет сбор средств на серийный выпуск светодиодного фонарика Bullet, который его создатели называют самым маленьким в мире.

Один фонарик Bullet обходится желающим поддержать проект в $8

Фонарик длиной 30 мм, диаметром 10,5 мм и массой 6 г по форме напоминает патрон 9х19 мм Парабеллум.

Изделие будет доступно в двух вариантах — матовом черном и цвета оружейного металла.

Один фонарик Bullet обходится желающим поддержать проект в $8

В основании «патрона» закреплена треугольная скоба, за которую фонарик можно прицепить, например, на связку ключей.

Один фонарик Bullet обходится желающим поддержать проект в $8

Алюминиевый корпус является водонепроницаемым.

Один фонарик Bullet обходится желающим поддержать проект в $8

Фонарик работает на трех миниатюрных гальванических элементах LR41. Чтобы включить или выключить свет, необходимо повернуть корпус Bullet относительно основания вдоль продольной оси. Как утверждается, светодиод создает световой поток 15 лм.

Один фонарик Bullet обходится желающим поддержать проект в $8

Примечательно, что на выпуск копеечной безделушки первоначально планировалось собрать $10 000, но собранная сумма уже перевалила за $190 000. Один фонарик обходится желающим поддержать проект в $8. Цена за штуку в лотах из нескольких штук ниже. Кампания продлится еще 27 дней.

Источник: KickStarer

/23 янв, 16:30/ автор: Accent (iXBT.com) сайт: www.ixbt.com

Компания EK Water Blocks объявила о начале продаж шлангов EK-Tube ZMT, предназначенных для систем жидкостного охлаждения. К их достоинствам производитель относит полную гибкость, непроницаемость для охлаждающих жидкостей, а также устойчивость способность сохранять свои качества даже при длительном воздействии ультрафиолетового излучения и тепла.

Шланг EK Water Blocks EK-Tube ZMT можно купить любой длины

Шланги черного цвета доступны трех диаметров: 15,9 мм, 16,1 и 19,4 мм. Внутренний диаметр составляет 9,5, 11,1 и 12,5 мм соответственно.

Розничная упаковка содержит трехметровый отрезок шланга. Кроме того, можно купить кусок произвольной длины. Шланг минимального диаметра стоит 4,5 евро за метр (около 13 евро за розничную упаковку). Шланг среднего диаметра стоит 5 евро за метр (около 14 евро за розничную упаковку). Шланг наибольшего диаметра стоит 8 евро за метр (около 22 евро за розничную упаковку).

Источник: EK Water Blocks

/23 янв, 15:01/ автор: Accent (iXBT.com) сайт: www.ixbt.com

Компания EK Water Blocks объявила об отзыве систем жидкостного охлаждения EK-XLC Predator 240 и EK-XLC Predator 360, выпущенных осенью прошлого года. Причиной отзыва назван высокий риск утечки охлаждающей жидкости. По словам EK Water Blocks, соответствующий дефект обнаружен примерно в каждом десятом экземпляре указанных СВО. Производитель уточняет, что отзыву подлежат системы версии R1.0. Номер версии приведен на этикетке.

Причина отзыва — высокий риск утечки охлаждающей жидкости


Причина отзыва — высокий риск утечки охлаждающей жидкости

В системах охлаждения EK-XLC Predator версии R 1.1, которые начали поступать в продажу 4 января, дефект устранен.

Отзыву подлежат все проданные и непроданные СВО указанных моделей версии R1.0. Покупатели могут получить новую систему взамен отозванной, причем расходы по пересылке оплачивает производитель. В качестве альтернативы предложено денежное возмещение, но этим вариантом можно воспользоваться только до 29 февраля. Производитель также гарантирует возмещение стоимости всех компонентов компьютера, поврежденных в результате утечки охлаждающей жидкости, если таковая имела место.

Источник: EK Water Blocks

/23 янв, 14:15/ автор: Accent (iXBT.com) сайт: www.ixbt.com

Скандал с отчетностью имеет для Toshiba весьма серьезные последствия. Хотя штраф за нарушение невелик — около 57 млн долларов, оказалось, что производитель находится в сложном финансовом положении (напомним, операционная прибыль за шесть лет была завышена на 1,2 млрд долларов). Теперь Toshiba приписывают намерение сократить 7000 рабочих мест и отказаться от разработки телевизоров, а источник сообщает, что японский производитель планирует продать часть производства микросхем.

Интерес к покупке проявил принадлежащий государству банк развития Японии

По словам анонимных информаторов, интерес к покупке проявил принадлежащий государству банк развития Японии. Ранее он уже инвестировал в полупроводниковое производство — речь идет о компании Seiko Holdings.

Продажа не коснется производства микросхем флэш-памяти типа NAND, поскольку это направление деятельности является ключевым для Toshiba. Новый владелец может получить производство микросхем и дискретных приборов, используемых в автомобильной электронике, бытовой технике и промышленном оборудовании. В 2015 финансовом году эти направления деятельности принесли Toshiba доход в размере 2,78 млрд, но оказались убыточными.

Источник: Reuters

/23 янв, 13:34/ автор: Accent (iXBT.com) сайт: www.ixbt.com

Малоподвижный образ жизни вкупе с неправильной осанкой может привести к неприятным последствиям, включая боли в спине, шее и голове, нарушение кровообращения и гормонального баланса. Одним из факторов риска является привычка вытягивать шею вперед, которая может возникнуть у тех, кто много работает за компьютером. Предотвратить ее появление призвано носимое электронное устройство Alex, которое помогает следить за правильным положением шеи. Alex предупреждает пользователя вибрацией, если он держит шею вытянутой вперед дольше, чем это допустимо.

Alex работает в паре со смартфоном

Устройство работает в паре со смартфоном. Установленное на смартфоне приложение позволяет настраивать Alex и накапливать статистику наблюдений за положением шеи.

По словам разработчиков Alex, конструкция устройства позволяет легко приспособить его к анатомическим особенностям пользователя. Устройство совместимо с очками и одеждой с воротником. Встроенный аккумулятор обеспечивает работу Alex в течение недели без подзарядки.

Создатели Alex сейчас собирают на сайте KickStarer средства на выпуск своего детища. При заявленной цели $50 000 им удалось собрать $33 000. В начале кампании минимальный лот, который давал право на получение устройства, был равен $49, а сейчас он составляет $59. До окончания сбора средств остается 25 дней.

Источник: KickStarter

/23 янв, 13:00/ автор: Accent (iXBT.com) сайт: www.ixbt.com

Интересы, побуждающие туристов, разнообразны: кто-то хочет увидеть дикую природу, кто-то — архитектурные сооружения и памятники, кто-то — посетить музей или отведать незнакомую кухню. На поклонников технологического туризма рассчитан проект, который планирует реализовать компания Foxconn Interconnect Technology (FIT), входящая в Foxconn Group. Этот производитель электроники намерен открыть для туристов одну из своих китайских фабрик.

Посетители фабрики Foxconn смогут заказать для себя электронные изделия

В первой, выставочной части посетители смогут увидеть в работе новейшие образцы продукции, выпускаемой Foxconn: от телевизоров и интерактивных досок до смартфонов и планшетов. Кроме того, к услугам туристов будет кинотеатр, детская комната и игровая площадка.

Во второй части посетители смогут заказать для себя приглянувшиеся изделия и наблюдать за тем, как изготавливаются телевизоры или интерактивные доски.

Источник: DigiTimes

/23 янв, 10:20/ автор: Jin (iXBT.com) сайт: www.ixbt.com

Напомним, в конфигурацию однокристальной системы Mediatek Helio X20 входят два ядра ARM Cortex-A72 с частотой 2,5 ГГц, а также два кластера по четыре ядра ARM Cortex-A53, которые работают на частоте 1,4 ГГц и 2,0 ГГц. Также SoC включает GPU Mali-T800.

Первыми смартфонами на базе Mediatek Helio X20 могут стать Doogee F7 и Zopo Speed 8, эту же SoC приписывают Meizu MX6.

В базе данных тестового пакета AnTuTu появилась интересная запись о смартфоне HTC на базе Mediatek Helio X20, который набрал 85632 очка. Источник сообщает, что смартфон оснащен дисплеем с разрешением 2K, 3 ГБ оперативной и 32 ГБ флэш-памяти, а также камерами с разрешением 21 и 13 Мп.

Смартфон HTC на базе SoC Mediatek Helio X20 протестирован в AnTuTu

Сегодня мы также сообщали о том, что версии нового флагманского смартфона HTC для разных рынков могут получить SoC Qualcomm Snapdragon 820 и неизвестную однокристальную систему MediaTek. Возможно, теперь она стала известной.

/23 янв, 10:03/ автор: Jin (iXBT.com) сайт: www.ixbt.com

Xiaomi продолжает подогревать интерес общественности к своему новому флагманскому смартфону. Пару недель назад, напомним, вице-президент компании Ливан Цзян (Liwan Jiang) заявил, что смартфон выйдет в феврале.

В конце этой недели он же сообщил, что весенняя конференция компании Xiaomi запланирована на 24 февраля, в этот день в продажу и поступит Xiaomi Mi5. Новые подробности должны быть опубликованы 26 января. Что касается характеристик, то на данный момент подтверждено лишь, что в Xiaomi Mi5 используется однокристальная система Snapdragon 820.

Xiaomi подтвердила, что смартфон Xiaomi Mi5 поступит в продажу 24 февраля

Кроме того, китайские источники сообщили о том, что конференция будет идти целых два часа, поэтому в Сети высказываются вполне закономерные предположения о том, что на ней будут говорить не только о новом смартфоне.

Напомним, в первой половине этого года ожидается появление на рынке первого ноутбука Xiaomi, в котором будет использоваться процессор Core i7 четвертого поколения (Haswell).

/23 янв, 09:31/ автор: Jin (iXBT.com) сайт: www.ixbt.com

Напомним, в сентябре прошлого года был представлен смартфон Acer Jade Primo, который работает под управлением операционной системы Windows 10 Mobile. Это одно из первых устройств, поддерживающих технологию Continuum, продвигаемую компанией Microsoft.

Acer Jade Primo должен поступить в продажу в феврале этого года по цене около 570 евро, а новые слухи указывают на то, что производитель параллельно также готовит еще одну версию смартфона, которая будет работать под управлением операционной системы Android. Не так давно в базе данных тестового пакета Geekbench засветился смартфон Acer S58A с Android 6.0 Marshmallow, который, по всей видимости, и является еще одной версией Acer Jade Primo. Последний ранее был замечен в базе данных Geekbench под названием Acer S58.

Ожидается, что смартфон Acer Jade Primo будет доступен в версиях с Windows 10 Mobile и Android 6.0

Geekbench подтверждает наличие однокристальной системы Snapdragon 808 и 3 ГБ оперативной памяти, что соответствует заявленным характеристикам Acer Jade Primo. Напомним, смартфон также оснащен дисплеем AMOLED диагональю 5,5 дюйма разрешением 1920 х 1080 пикселей, 32 ГБ флэш-памяти, камерами 21 и 8 Мп, а также портом USB Type-C.

/23 янв, 09:15/ автор: Jin (iXBT.com) сайт: www.ixbt.com

Пару дней назад мы HTC приписывают намерение впервые выпустить две версии нового флагманского смартфона с SoC производства Qualcomm и MediaTekсообщали о том, что смартфон HTC One M10 может быть представлен на специальном мероприятии, которое должно пройти в марте этого года.

Согласно предыдущей информации, в смартфоне будет использоваться однокристальная система Snapdragon 820. Известный разработчик и инсайдер под ником LlabTooFeR, который в прошлом неоднократно первым публиковал достоверную информацию о продукции HTC, опубликовал очередную порцию данных. По его сведениям, HTC One M10 будет выпущен в двух версиях для разных рынков.

Первая, предназначенная для США и Европы, получит вышеупомянутую SoC производства Qualcomm. Вторая, которая выйдет в Китае и Юго-Восточной Азии, будет оснащена однокристальной системой MediaTek, при этом точная модель не называется. Раньше компания не делала подобных шагов. Напомним, похожей стратегии придерживается и производитель Samsung Galaxy S7.

LlabTooFeR также сообщил о том, что смартфон, который проходит под кодовым названием Perfume, из коробки будет работать под управлением операционной системы Android 6.0.1 Marshmallow с оболочкой HTC Sense 8.0.

По слухам, версии HTC One M10 для разных рынков получат SoC производства Qualcomm и MediaTek

Начало продаж HTC One M10 ожидается в апреле 2016.

/23 янв, 09:00/ автор: MPAK (iXBT.com) сайт: www.ixbt.com

Недавно мы узнали, что в нынешнем году BlackBerry не выпустит ни единого смартфона с собственной операционной системой. Чуть позже глава компании Джон Чен (John Chen) заверил, что канадский производитель продолжит поддерживать BB OS как минимум до конца года, выпуская обновления. Но вот о новых смартфонах или дальнейших перспективах системы не сказал ни слова.

Программа Built for BlackBerry больше не существует

Новая порция данных указывает на то, что компания всё-таки постепенно прощается со своим детищем. Дело в том, что ещё в 2012 году BlackBerry запустила программу Built for BlackBerry. Это была инициатива, нацеленная и на разработчиков, и на пользователей системы. Приложения, сертифицированные в рамках программы, попадали в отдельный раздел, благодаря чему пользователи могли быть уверены в данном ПО.

Теперь же участвующие в программе разработчики получили уведомления о том, что программа закрывается. Собственно, она прекратила своё существование уже 19 января. То есть компания больше не будет принимать заявки разработчиков, и специальный раздел не пополнился новыми приложениями. Старые программы никуда не исчезнут.

/23 янв, 08:30/ автор: MPAK (iXBT.com) сайт: www.ixbt.com

Исследователи Consumer Intelligence Research Partners оценили продажи мобильных устройств Apple по итогам четвёртого квартала 2015 года.

Итак, если рассматривать сугубо смартфоны, то львиная доля продаж пришлась на модель iPhone 6s, что и неудивительно. Если быть точным, эту модель покупал почти каждый второй (48% продаж). На модель iPhone 6s Plus пришлось 19%. То есть суммарно на новые аппараты Apple пришлось 67% всех проданных за последний квартал прошлого года смартфонов компании. Что показательно, годом ранее тогда ещё новейшие модели iPhone 6 и 6 Plus смогли занять 75% данного рынка. То есть интерес пользователей к новым аппаратам Apple в 2015 году был слабее, чем в 2014.

Consumer Intelligence Research Partners оценила рынок Apple

Если говорить о рынке планшетов Apple, то тут лидер не столь выражен. Модели mini продавались лучше полноформатных собратьев: 47% против 40%, тогда как годом ранее доля малышей была лишь 32%.

Consumer Intelligence Research Partners оценила рынок Apple

Рассматривая ситуацию подробнее, можно отметить, что самый продаваемый планшет — iPad Air 2. На втором месте с небольшим отрывом разместился iPad mini 2. Также достаточно показателен результат новейшего iPad Pro — 12%. Конечно, новинки всегда лучше всего продаются в период после анонса, но всё равно для столь специфического и недешёвого устройства результат очень неплох.

/23 янв, 08:30/ автор: MPAK (iXBT.com) сайт: www.ixbt.com

Исследователи Consumer Intelligence Research Partners оценили продажи мобильных устройств Apple в США по итогам четвёртого квартала 2015 года.

Итак, если рассматривать сугубо смартфоны, то львиная доля продаж пришлась на модель iPhone 6s, что и неудивительно. Если быть точным, эту модель покупал почти каждый второй (48% продаж). На модель iPhone 6s Plus пришлось 19%. То есть суммарно на новые аппараты Apple пришлось 67% всех проданных за последний квартал прошлого года смартфонов компании. Что показательно, годом ранее тогда ещё новейшие модели iPhone 6 и 6 Plus смогли занять 75% данного рынка. То есть интерес пользователей к новым аппаратам Apple в 2015 году был слабее, чем в 2014.

Consumer Intelligence Research Partners оценила рынок Apple

Если говорить о рынке планшетов Apple, то тут лидер не столь выражен. Модели mini продавались лучше полноформатных собратьев: 47% против 40%, тогда как годом ранее доля малышей была лишь 32%.

Consumer Intelligence Research Partners оценила рынок Apple

Рассматривая ситуацию подробнее, можно отметить, что самый продаваемый планшет — iPad Air 2. На втором месте с небольшим отрывом разместился iPad mini 2. Также достаточно показателен результат новейшего iPad Pro — 12%. Конечно, новинки всегда лучше всего продаются в период после анонса, но всё равно для столь специфического и недешёвого устройства результат очень неплох.

/23 янв, 08:00/ автор: MPAK (iXBT.com) сайт: www.ixbt.com

Весной прошлого года компания Pipo выпустила необычное устройство X8, сочетающее в себе черты мини-ПК и настольного планшета. Хотя решение можно назвать попросту миниатюрным моноблоком. Осенью вышла модель второго поколения — X9, получившая более крупный экран с большим разрешением.

ПК Pipo X9S стоит $200

Теперь же стала доступна модель Pipo X9S. Если при переходе от первой модели ко второй основные изменения затронули именно дисплей, то в данном случае компания решила обновить платформу. В итоге на место CPU Intel Atom Z3736F пришёл более новый процессор Atom x5-Z8300 поколения Cherry Trail.

Вдвое увеличили объём ОЗУ и накопителя — до 4 и 64 ГБ соответственно. А вот параметры дисплея не изменились. Это всё та же панель диагональю 8,9 дюйма разрешением 1920 х 1200 пикселей. Набор портов включает в себя USB 3.0, USB 2.0 (x3), Ethernet, HDMI и кардридер. В качестве ОС используется Windows 10. Стоимость модели X9S предсказуемо увеличилась и составляет $200.

/23 янв, 07:30/ автор: MPAK (iXBT.com) сайт: www.ixbt.com

В базе данных GFXBench появилась информации о ещё одном новом смартфоне Asus, который может войти в линейку ZenFone 3. Напомним, аппарат с каталожным номером Z012D мы уже упоминали.

Новинка скрывается за номером Z010DD. Можно предположить, что она станет на ступень ниже упомянутой модели. На это указывает и экран разрешением 1280 х 720 пикселей, и платформа Snapdragon 615. Диагональ экрана указана равной 5,9 дюйма, но это может быть ошибка.

Asus Z010DD получит SoC Snapdragon 615

Несмотря на то, что аппарат явно не будет относиться к топовым, в его оснащении 3 ГБ оперативной памяти и 32 ГБ флэш-памяти. Из остального известно о камерах разрешением 13 и 5 Мп, а также ОС Android 6.0. Возможно, Asus представит новинки на грядущей MWC 2016.

/23 янв, 07:00/ автор: MPAK (iXBT.com) сайт: www.ixbt.com

Компания Microsoft уже второй раз обратилась к общественности с предложением придумать интересные проекты для шлема HoloLens. Первая подобная программа была запущена летом прошлого года. Сегодня подошла к концу и вторая.

Всего было подано более 5000 заявок. После нескольких этапов в финал добрались три проекта: Airquarium, Grab the Idol и Galaxy Explorer.

Финальные проекты для шлема HoloLens представляют собой игру, аквариум и справочник космоса

Первый, как можно догадаться, превращает окружающее пространство в аквариум. Точнее, как бы погружает пользователя в резервуар с водой и рыбками. По задумке авторов проекта, подводные обитатели должны реагировать на «присутствие» человека в их мире. Его движения могут распугать рыб. Кроме этого, подразумевается возможность кормить питомцев, чтобы привлечь их внимание.

Финальные проекты для шлема HoloLens представляют собой игру, аквариум и справочник космоса

Проект Grab the Idol представляет собой игру. Система превращает комнату в заполненное лавой пространство, через которое необходимо пробраться к стоящему где-то в центре идолу. Цель — украсть идол и вернуться в исходное положение. Небольшое путешествие дополнительно осложняется различными ловушками и опасностями. Так как игровое поле генерируется случайным образом с учётом окружающих предметов, игру можно проходить бесконечное число раз.

Финальные проекты для шлема HoloLens представляют собой игру, аквариум и справочник космоса

Суть проекта Galaxy Explorer тоже понятна из названия. Он позволяет пользователю изучить космическое пространство со всеми его объектами (планеты, звёзды, туманности и так далее) в рамках нашей галактики. Более того, проект позволит обучаться, так как ПО содержит информацию о самых различных объектах.

Как видим, первые два проекта ориентированы сугубо на развлекательный сегмент, тогда как последний может быть использован и в учебных целях.

Поиск по сайту
Обратная связь
Разработчикам
Реклама на сайте

Политика конфиденциальности
Пользовательское соглашение

 

Filebox.ru каталог архив программного обеспечения для Windows, работает с 2003 года.
Copyright © 2003-2026 Filebox.ru All Rights Reserved.

Яндекс.Метрика