Apple пытается запатентовать цветную 3D-печать : Лента технологий : Filebox.ru новостные ленты, мобильные технологии и интернет  Программы | Новости | ТОП-100 программ | Статьи

Apple пытается запатентовать цветную 3D-печать : Лента технологий : Filebox.ru новостные ленты, мобильные технологии и интернет
05 дек 2015, 00:09г. автор Accent (iXBT.com) сайт www.ixbt.com

Apple пытается запатентовать цветную 3D-печать

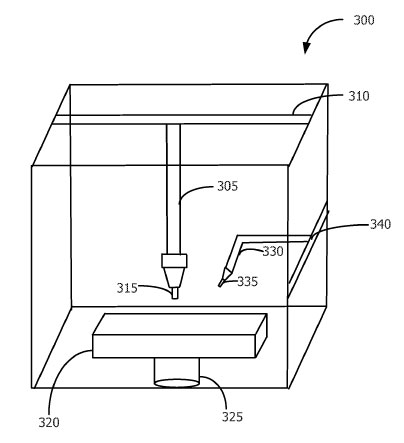
В базе данных американского патентного ведомства обнаружилась заявка на патент, поданная Apple в мае 2014 года. В ней описан «метод и устройство для трехмерной печати окрашенных объектов».

По словам изобретателей, трехмерные объекты можно печатать и раскрашивать одним и тем же устройством с использованием одной и то же цифровой трехмерной модели. Модель также может быть доработана, чтобы включить нее процесс окраски 3D-принтером. В одном из вариантов объект может быть окрашен после изготовления, в другом — непосредственно в процессе изготовления.

Заявка была подана в мае 2014 года

Интересно, что одним из примеров применения изобретения названа печать игрушек в домашних условиях.

Пока неизвестно, планирует ли Apple использовать описанную в заявке технологию в собственной продукции, то есть заняться выпуском 3D-принтеров.

Источник: USPTO

Смотри так же другие новости из Лента технологий




Поиск по сайту
Обратная связь
Разработчикам
Реклама на сайте

Политика конфиденциальности
Пользовательское соглашение

 

Filebox.ru каталог архив программного обеспечения для Windows, работает с 2003 года.
Copyright © 2003-2026 Filebox.ru All Rights Reserved.

Яндекс.Метрика