Лента технологий за 27/11/2015, Пятница - Filebox.ru  Программы | Новости | ТОП-100 программ | Статьи

Лента технологий за 27/11/2015, Пятница - Filebox.ru

Лента технологий | Подборка за 27 ноября 2015 г. 00:00:00

/27 ноя, 19:05/ автор: Dexter (iXBT.com) сайт: www.ixbt.com

Компания Elephone готовит свой ответ Umi и ее смартфону Rome: новинка под названием Elephone M3 окажется ненамного дороже, но при этом сможет продемонстрировать большую производительность.

Elephone M3

Аппаратным базисом Elephone M3 выступит однокристальная система MediaTek Helio P10. Казалось бы, по части CPU между ней и MT6753, используемой в Rome, разницы особой нет, ведь в обоих случаях предлагается по восемь ядер ARM Cortex-A53. Однако частота CPU Helio P10 может доходить до 2 ГГц, а применяемый в MT6753 GPU Mali-T720 явно уступает по производительности GPU Mali-T860 MP2, входящему в состав Helio P10.

Elephone M3 также получит цельнометаллический корпус, ОС Android 6.0 и разъем USB Type-C. Диагональ экрана устройства, скорее всего, составит стандартные по нынешним временам 5 дюймов.

Elephone M3

Elephone M3 окажется на $10 дороже Umi Rome, но разница в оснащении играет не в пользу последнего. Правда, пока остается открытым вопрос появления M3 в продаже, ведь с Elephone уже часто случалось так, что даты анонса и начала реальных продаж разделял не один месяц.

Источник: Gizchina

/27 ноя, 18:35/ автор: Dexter (iXBT.com) сайт: www.ixbt.com

Ассортимент планшетных компьютеров Samsung бюджетной серии Galaxy Tab E пополнился новым представителем — моделью Samsung Galaxy Tab E 8.0 (SM-T377). На североамериканском рынке изделие распространяется при помощи операторов Verizon и Sprint по цене $210 (или $130 при условии заключения двухлетнего контракта).

По техническим характеристикам Galaxy Tab E 8.0 едва ли не копирует собрата Galaxy Tab A 8.0: планшет построен на однокристальной платформе Qualcomm Snapdragon 410 MSM8916, оснащен 1,5 ГБ оперативной и 16 ГБ встроенной флэш-памяти. Зато при аналогичной диагонали разрешение экрана выше — 1280 х 800 точек.

Samsung Galaxy Tab E 8.0

В основной камере используется датчик изображения разрешением 5 Мп, объектив с максимальной диафрагмой F/2,2 и система автоматической фокусировки, во фронтальной камере также применяется светосильный объектив с максимальной диафрагмой F/2,2 и датчик изображения разрешением 2,0 Мп.

Среди остальных характеристик планшета — адаптеры Wi-Fi 802.11n и Bluetooth 4.1, GPS/ГЛОНАСС, слот для карт памяти microSD, модем LTE. Работает изделие под управлением ОС Android 5.1.1.

Samsung Galaxy Tab E 8.0

Габариты и масса Samsung Galaxy Tab E 8.0 — 212 x 126 x 8,9 мм и 355 граммов. Емкость аккумуляторной батареи составляет 5000 мА·ч, автономность — до 13 часов воспроизведения видео и до 14 часов просмотра интернет-страниц посредством Wi-Fi.

Источник: Samsung

/27 ноя, 16:55/ автор: Dexter (iXBT.com) сайт: www.ixbt.com

Линейка смартфонов Oukitel K6000 пополнится третьей моделью — K6000 Premium. О сроках ее выпуска пока ничего не говорится, но характеристики компания уже рассекретила, а равно и продемонстрировала изображения устройство.

Oukitel K6000 и K6000 Premium


Oukitel K6000 и K6000 Premium


Oukitel K6000 и K6000 Premium


Oukitel K6000 и K6000 Premium

Оформление фронтальной панели Oukitel K6000 Premium полностью соответствует оформлению фронтальной панели обычного Oukitel K6000, а вот тыльные панели различаются: потенциальную новинку легко опознать по дактилоскопическому датчику.

Oukitel K6000 Premium станет самой интересной моделью серии и, очевидно, самой дорогой. В ее основу ляжет десятиядерная SoC Mediatek MT6797, известная также под обозначением Helio X20. Обещанный объем оперативной памяти — 4 ГБ, встроенной флэш-памяти — 32 ГБ.

В оснащение смартфона войдет дисплей AMOLED диагональю 5,5 дюйма разрешением 2K, модем LTE, камеры с датчиками изображения Sony (IMX230 разрешением 21 Мп в основной и IMX 219 разрешением 8 Мп во фронтальной), слот для карт памяти microSD. В соответствии с другими моделями серии емкость аккумуляторной батареи составит 6000 мА·ч. По данным разработчиков, время автономной работы смартфона будет достигать трех дней.

Стоимость Oukitel K6000 пока не называется.

Источник: XDA Developers

/27 ноя, 12:25/ автор: Dexter (iXBT.com) сайт: www.ixbt.com

Компания MSI представила три новые материнские платы, вошедшие в «зеленую» линейку Eco. По замыслу создателей, MSI H170M Eco, B150M Eco и H110M Eco служат цели максимального энергосбережения за счет «удаления» всего ненужного и, конечно же, настройки при помощи ряда специальных утилит. Так, например, приложение ECO Center Pro позволяет отключать подсветку корпусных вентиляторов и светодиодов, слоты PCI, адаптер проводной сети, снижать скорость вращения вентиляторов. Она же предлагает три разных варианта экономии энергии: Eco, Lounge и Server. По данным производителя, энергопотребление этих системных плат составляет всего 16 Вт, что на 1 Вт меньше моделей Eco первого поколения и почти вдвое ниже энергопотребления обычных моделей.

MSI H110M Eco


MSI B150M Eco


MSI H170M Eco

Все три новинки характеризуются типоразмером microATX, все три наделены только двумя слотами для установки оперативной памяти DDR4. Также ни одна из плат не предлагает разъемы SATA Express или M.2, хотя USB 3.1 присутствует в количестве двух (H110M Eco) или четырех (MSI H170M Eco, B150M Eco) разъемов на тыльной панели.

Каждая модель из тройки наделена одним слотом PCI Express 3.0 x16 и двумя PCI Express 3.0 x1. В младшей модели предусмотрено четыре разъема SATA 6 Гбит/с, в старших таких разъемов по шесть.

Единообразно выглядит набор видеовыходов: по одному DVI, D-Sub и HDMI.

Пока данных о стоимости новых системных плат MSI нет.

Источник: MSI, MSI, MSI

/27 ноя, 12:13/ автор: MPAK (iXBT.com) сайт: www.ixbt.com

Ассортимент компании Cooltek пополнил корпус Skall стоимостью 85 евро. Новинка выполнена в формате Midi-Tower и позволяет установить системные платы типоразмеров ATX, Micro ATX и Mini-ITX.

Корпус Cooltek Skall готов принять 11 вентиляторов

Габариты корпуса равны 530 х 207 х 503 мм при массе 10,5 кг. В отличие от многих современных корпусов, этот позволяет установить сразу три оптических привода. Также на основе новинки можно построить «хранилище данных», так как корпус располагает двумя корзинами, в каждую из которых можно установить четыре накопителя формата 2,5 либо 3,5 дюйма.

Корпус Cooltek Skall готов принять 11 вентиляторов

Кроме этого, есть возможность установки восьми плат расширения и до 11 120-миллиметровых вентиляторов. Максимальная длина видеокарты может достигать 430 мм (при условии отсутствия одной из корзин с накопителями), а процессорный охладитель не должен быть выше 165 мм.

Также стоит отметить наличие блока управления вентиляторами, к которому можно подключить шесть устройств. На панели ввода-вывода расположились два порта USB 2.0 и два USB 3.0.

/27 ноя, 11:54/ автор: MPAK (iXBT.com) сайт: www.ixbt.com

Специфика таксомоторного бизнеса такова, что ему постоянно нужно подстраиваться под изменяющиеся реалии самых разнообразных сфер. По крайней мере, это касается развитых стран и крупных городов.

Как сообщается на сайте организации Transport for London (TfL), уже с октября 2016 года в столице Великобритании все такси не только начнут принимать банковские карты, но и обзаведутся оборудованием для бесконтактных платежей.

Такси Лондона обзаведутся терминалами NFC

В соответствии с планами, наценки непосредственно за безналичную оплату вводиться не будет. Зато поднимутся тарифы, но не очень существенно (примерно на 8%). Если новые нормы будут приняты TfL в феврале следующего года, то тарифы поднимут уже в апреле, но с условием, что абсолютно все такси обзаведутся необходимым оборудованием до октября. Это позволит владельцам машин частично или полностью компенсировать затраты на терминалы.

/27 ноя, 10:04/ автор: Jin (iXBT.com) сайт: www.ixbt.com

Японская компания Yamada Denki представила устройство, которое производитель называет самым тонким из представленных на рынке смартфонов, работающих под управлением операционной системы Windows 10 Mobile.

В Every Phone используется четырехъядерный процессор Snapdragon 410 с тактовой частотой 1,2 ГГц, 2 ГБ оперативной и 32 ГБ флэш-памяти, которую можно расширить за счет поддержки карт памяти формата microSD.

Смартфон оснащен дисплеем диагональю 5,5" с разрешением 1280 х 720 точек, разрешением основной камеры составляет 13 Мп, фронтальной — 5 Мп. Устройство также имеет модули Bluetooth 4.0 и LTE.

Если вернуться к заголовку новости, то Every Phone действительно является довольно изящным смартфоном, его габариты составляют 154,8 х 78,6 х 6,9 мм при массе 138,6 г. Емкость аккумуляторной батареи составляет 2600 мА·ч.

Every Phone — самый тонкий смартфон с Windows 10 Mobile, который оценен в $325

Продажи смартфона стартуют уже завтра по цене 39 800 иен или около $325. Первые 3000 покупателей также получат в подарок миниатюрную Bluetooth-клавиатуру для смартфона.

/27 ноя, 09:30/ автор: MPAK (iXBT.com) сайт: www.ixbt.com

Компания Adata представила аксессуар, предназначенный для мобильных устройств Apple. Он называется Lightning Card Reader. Из названия ясно, что это кардридер с интерфейсом Lightning.

Он рассчитан на карты памяти формата microSD и SD. Новинка сертифицирована в рамках программы MFi, так что переживать о совместимости не стоит. К слову, компания утверждает, что это вообще первое в своём роде устройство, так как речь идёт о полноценной работе с возможностью и чтения, и записи.

Adata представила Lightning Card Reader

Габариты аксессуара составляют 132 х 39 х 8 мм с учётом длины кабеля. Поддерживаются карты объёмом до 256 ГБ, а также любые устройства с iOS 7 и выше. О стоимости, к сожалению, данных нет. Но можно не сомневаться, что она будет достаточно высока.

/27 ноя, 09:26/ автор: Jin (iXBT.com) сайт: www.ixbt.com

Не так давно китайские источники распространили информацию о том, что компания Lenovo намеревается отказаться от дальнейшего использования бренда Vibe.

Lenovo занимает четвертое место в рейтинге самых крупных поставщиков смартфонов, при этом источники заявляют, что сокращение числа смартфонных брендов должно позволить компании укрепить свои позиции в сегменте. На смену Vibe якобы должны прийти смартфоны под брендами Motorola и Lemon. Причем бренд Motorola должен использоваться в среднем и высоком ценовых диапазонах (от $235 до $780), а линейка Lemon останется для бюджетного сегмента.

Lenovo не собирается отказываться от бренда Vibe

Однако глава отдела маркетинга Lenovo Mobile Business Group Шридхар Рамасвами (Sridhar Ramaswamy) уже опроверг эту информацию: «Мы создали Vibe, как бренд смартфонов, и мы намерены и дальше развивать его. У нас нет никаких планов по отказу от данного бренда. Vibe будет и дальше использовать нами на рынке».

/27 ноя, 09:26/ автор: Jin (iXBT.com) сайт: www.ixbt.com

Не так давно китайские источники распространили информацию о том, что компания Lenovo намеревается отказаться от дальнейшего использования бренда Vibe.

Lenovo занимает четвертое место в рейтинге самых крупных поставщиков смартфонов, при этом источники заявляют, что сокращение числа смартфонных брендов должно позволить компании укрепить свои позиции в сегменте. На смену Vibe якобы должны прийти смартфоны под брендами Motorola и Lemon. Причем бренд Motorola должен использоваться в среднем и высоком ценовых диапазонах (от $235 до $780), а линейка Lemon останется для бюджетного сегмента.

Lenovo не собирается отказываться от бренда Vibe

Однако глава отдела маркетинга Lenovo Mobile Business Group Шридхар Рамасвами (Sridhar Ramaswamy) уже опроверг эту информацию: «Мы создали Vibe, как бренд смартфонов, и мы намерены и дальше развивать его. У нас нет никаких планов по отказу от данного бренда. Vibe будет и дальше использовать нами на рынке».

/27 ноя, 09:10/ автор: Jin (iXBT.com) сайт: www.ixbt.com

Не так давно сотрудник Google Бенсон Люн (Benson Leung) протестировал различные аксессуары с поддержкой USB Type-C, выяснив, что не все они соответствуют официальным спецификациям.

Так, например, стандартный кабель USB Type-C из комплекта поставки OnePlus 2 отлично работает с этим смартфон и со многими другими устройствами, но не со всеми. Представители OnePlus признали сей факт, а также опубликовали комментарий по этому поводу:

«Наши кабель и адаптер используют резисторы сопротивлением 10 кОм, тогда как, в соответствии с официальными спецификациями, продукты USB Type-C должны использовать резисторы сопротивлением 56 кОм. Кабель и адаптер могут выдерживать ток силой не более 2 А, однако резистор не мешает устройствам, поддерживающим технологию быстрой зарядки, попробовать заряжаться быстрее, чем может позволить источник питания. В результате источник питания (зарядное устройство, USB-порт и так далее), который не может самостоятельно регулировать силу тока, может быть поврежден. Таких проблем нет на устройствах, которые имеют логотипы CE, UL или CCC».

OnePlus не собирается менять кабель USB Type-C из комплекта поставки OnePlus 2, который может нанести вред другой электронике

OnePlus заявила, что компания не будет менять кабель USB Type-C из комплекта поставки OnePlus 2, потому как он отлично работает с самим смартфоном. Те же, кто купил кабель отдельно, могут до 31 декабря 2015 заполнить соответствующую форму на официальном сайте и вернуть его, получив полную компенсацию.

/27 ноя, 09:00/ автор: MPAK (iXBT.com) сайт: www.ixbt.com

Недавно мы сообщали о том, что Facebook совместно с Eutelsat начнут обеспечивать доступом в Сеть жителей Африки уже во второй половине следующего года. Но некоторые другие проекты инициативы Internet.org работают уже прямо сейчас.

Как сообщается, Facebook вместе с индийским оператором Reliance Communication, который насчитывает около 110 млн абонентов, решили предоставить всем желающим бесплатный доступ в Интернет в рамках проекта Free Basics.

Проект Facebook Free Basics запущен в Индии

Конечно, не обошлось и без ограничений. Во-первых, для работы необходим смартфон с ОС Android. Во-вторых, абсолютно бесплатно доступно не так много ресурсов. В частности, Facebook, Facebook Messenger, AccuWeather, Wikipedia, BBC News, Bing Search, Dictionary.com и местные новостные и информационные сервисы. Но даже это немало, учитывая тот факт, что в Индии доступ к Сети имеет лишь около 10% населения.

К слову, проект Free Basics работает также ещё в 30 странах Африки, Азии и Латинской Америки.

/27 ноя, 08:46/ автор: Jin (iXBT.com) сайт: www.ixbt.com

Как сообщает DigiTimes со ссылкой на проинформированные источники, в этом году снижение поставок моноблочных компьютеров снизится примерно на 10%, по сравнению с 2014 годом.

Тот же источник утверждает, что из-за невысокого спроса в 2016 году поставки моноблоков останутся примерно такими же, как и в этом году. На долю крупнейшего поставщика таких решений, которым является компания Lenovo, в следующем году будет приходится 30% рынка. Результат Lenovo по сравнению с этим годом не изменится.

Ожидается, что поставки моноблоков в этом году снизятся на 10%

А вот поставки моноблоков Apple, которая занимает второе место, должны вырасти примерно на 5%, как в этом году, так и в следующем. Главный производитель iMac тайваньская компания Quanta Computer недавно увеличила количество сотрудников, чтобы иметь возможность обрабатывать больше заказов в следующем году. В третьем квартале этого года Apple продала 5,7 млн iMac и MacBook, на 4% больше, чем за аналогичный период годом ранее.

Третье место занимает компания HP, результат которой в этом году не изменится. Источник отмечает улучшившиеся продажи моноблоков компании в Индии, где на долю HP приходится теперь около 30% рынка.

/27 ноя, 08:30/ автор: MPAK (iXBT.com) сайт: www.ixbt.com

Разнообразные трекеры активности становятся всё популярнее. Они дешевле умных часов, их можно носить только во время занятий спортом, да и удовольствия и пользы от их использования порой значительно больше.

Именно это и притягивает на молодой рынок новых игроков. А иногда заставляет инвесторов вкладывать деньги в уже существующие компании. К примеру, производитель с замысловатым именем GOQii, который якобы является лидером рынка носимой электроники Индии, получил 13,4 млн долларов инвестиций.

GOQii начнёт продвигать свои трекеры активности в США и Китае

Вложить в перспективного производителя решили New Enterprise Associates (NEA), Cheetah Mobile, Great Wall Club и другие. Инвестиции, как говорится, будут направлены на распространение GOQii на новые рынки, включая США и Китай.

Стоит отметить, что у GOQii есть преимущество перед многими другими игроками этого рынка. Компания активно продвигает свою облачную платформу для трекеров активности, которая совместима с продукцией многих самых известных компаний, включая Fitbit, Jawbone и Misfit.

/27 ноя, 08:17/ автор: Jin (iXBT.com) сайт: www.ixbt.com

Компания Airbus постоянно думает над тем, как произвести революцию в авиационной отрасли, увеличить пассажиропоток и сократить то время, которое тратят люди, чтобы добраться из одной точки мира в другую.

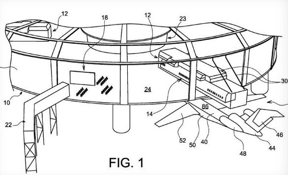
В октябре стало известно о том, что компания запатентовала возможность размещения пассажирских кресел в своих лайнерах в два яруса. На этой неделе Ведомство по патентам и товарным знакам США (United States Patent and Trademark Office, USPTO) опубликовало новую патентную заявку Airbus. В ней описывается модульный блок, в котором пассажиров можно будет разместить еще до того, как самолет будет готов к вылету.

Airbus запатентовала отсоединяемый пассажирский блок для самолетов

Этот блок, например, можно установить на грузовик или железнодорожную платформу, которые доставят пассажиров в аэропорт. Затем данная капсула устанавливается в уже готовый к тому времени самолет, тем самым сокращается время на подготовку, пересадку, дополнительную проверку документов и багажа, а также период простоя самолетов.

В патенте говорится о том, что верхняя часть блока является частью фюзеляжа самолета, также инженеры утверждают, что модуль можно модифицировать для перевозки пассажиров, багажа, различных грузов и их комбинаций.

Airbus запатентовала отсоединяемый пассажирский блок для самолетов

Обращаем ваше внимание на то, что далеко не все патенты реализуются в реальных коммерческих решениях.

/27 ноя, 07:57/ автор: Jin (iXBT.com) сайт: www.ixbt.com

Первая информация о новом смартфоне Nokia C1 всплыла в Сети почти год назад, в начале 2015 появились первые изображения аппарата, этой осенью — новые иллюстрации.

Ресурс NokiaPowerUser на этой неделе представил очередное изображение Nokia C1, сгенерированное средствами компьютерной графики. Мы видим, что смартфон будет поставлять на рынок в нескольких цветах, кроме того, новое изображение указывает на то, что камера сменила свое положение, причем уже второй раз, переместившись в самый угол.

Также анонимные источники вновь подтверждают информацию о том, что Nokia C1 будет работать под управлением Android и Windows 10 Mobile. Вопрос только в том, будут ли обе ОС предустановлены на смартфон или же пользователи должны будут определиться с выбором перед походом в магазин.

Новое изображение смартфона Nokia C1 демонстрирует сменившую положение камеру, а также поддержку Android и Windows 10 Mobile

Напомним, ранее Nokia подтвердила свои планы вернуться на рынок смартфонов в следующем году.

/27 ноя, 07:50/ автор: MPAK (iXBT.com) сайт: www.ixbt.com

Компания Raspberry Pi Foundation продолжает плодить микрокомпьютеры Raspberry Pi. Очередная новинка называется Zero, что указывает то ли на миниатюрные размеры устройства, то ли на его стоимость.

Представлен микро-ПК Raspberry Pi Zero

Последняя составляет всего $5. Размеры же равны 65 х 30 х 5 мм. Сердцем служит привычная по практическим всем предыдущим ПК компании однокристальная система Broadcom BCM2835. В данном случае она работает на частоте 1 ГГц, что позволяет компании утверждать о 40-процентном преимуществе перед устройством первого поколения.

Оперативной памяти предусмотрено 512 МБ. Присутствует слот для карт microSD, порт mini-HDMI, Micro-USB (x2), а также 40 линий GPIO.

/27 ноя, 07:25/ автор: MPAK (iXBT.com) сайт: www.ixbt.com

Ассортимент компании ZeroLemon пополнился парой чехлов с аккумуляторами, которые предназначены для смартфонов Galaxy S6 edge+ и Galaxy Note5.

ZeroLemon пополнила ассортимент парой новинок

Новинки отличаются только размерами. В обоих случаях ёмкость встроенных АКБ составляет 3500 мА•ч. Напомним, у указанных смартфонов собственные аккумуляторы характеризуются ёмкостью 3000 мА•ч, так что можно смело рассчитывать на удвоение времени автономной работы.

На тыльной стороне чехла можно найти кнопку включения устройства, а также четыре светодиода, указывающие остаток заряда.

/27 ноя, 07:00/ автор: MPAK (iXBT.com) сайт: www.ixbt.com

Компания Panasonic объявила стоимость гигантского планшета Toughpad 4K нового поколения, о котором мы писали пару недель назад. Устройство, напомним, уникально не только габаритами.

Panasonic оценила новый планшет Toughpad 4K в $4230

К примеру, сердцем служит процессор Intel Core i7-5600U, а для обработки графики установлена профессиональная видеокарта AMD FirePro M5100. То есть это своеобразная мобильная рабочая станция в формате планшета, если устройство с 20-дюймовым дисплеем 4K корректно называть планшетом.

Итак, аппарат обойдётся любому желающему в $4230. В качестве ОС выступает Windows 10 Pro, однако, что любопытно, в январе появится модификация с Windows 7. Производитель обеспечивает устройство трёхлетней гарантией.

Поиск по сайту
Обратная связь
Разработчикам
Реклама на сайте

Политика конфиденциальности
Пользовательское соглашение

 

Filebox.ru каталог архив программного обеспечения для Windows, работает с 2003 года.
Copyright © 2003-2026 Filebox.ru All Rights Reserved.

Яндекс.Метрика