Лента технологий за 23/11/2015, Понедельник - Filebox.ru  Программы | Новости | ТОП-100 программ | Статьи

Лента технологий за 23/11/2015, Понедельник - Filebox.ru

Лента технологий | Подборка за 23 ноября 2015 г. 00:00:00

/23 ноя, 21:44/ автор: Accent (iXBT.com) сайт: www.ixbt.com

Многие системные платы для мини-ПК Intel NUC рассчитаны только на подключение твердотельного накопителя в слот mSATA. Это позволяет уменьшить мини-ПК, но в некоторых случаях возможность использования накопителя типоразмера 2,5 дюйма предпочтительнее. В таких случаях может пригодиться корпус PTS01, выпускаемый компанией SilverStone.

В корпусе PTS01 помещается жесткий диск или твердотельный накопитель толщиной 9 мм

В корпусе PTS01 помещается жесткий диск или твердотельный накопитель толщиной 9 мм с интерфейсом SATA 6 Гбит/с. Для подключения к мини-ПК используется интерфейс USB 3.0.

В корпусе PTS01 помещается жесткий диск или твердотельный накопитель толщиной 9 мм

При габаритах 122 x 108 x 15 мм корпус весит 125 г. Он изготовлен из стали и алюминиевого сплава.

В корпусе PTS01 помещается жесткий диск или твердотельный накопитель толщиной 9 мм

Рекомендованная производителем розничная цена PTS01 — $29,2.

Источник: SilverStone

/23 ноя, 21:15/ автор: Accent (iXBT.com) сайт: www.ixbt.com

Промышленные роботы уже давно стали привычными, а потребительским роботам только предстоит занять свое место рядом с человеком. По мнению аналитиков Tractica, внедрение роботов в потребительском сегменте ускоряется, так что в течение ближайших пяти лет будет продано примерно 100 млн потребительских роботов.

Самыми распространенными будут роботы для работы по дому

Фактически, именно в эти годы роботы, которые уже давно закрепились в культурном пространстве благодаря книгами и фильмам, станут частью повседневной жизни для достаточно большого числа людей. Хотя представления о роботах, как человекоподобных компаньонах и слугах, едва ли воплотятся в действительности в обозримом будущем, растущий интерес к роботам и развитие технологий позволят переложить на их плечи решение новых задач, выходящих за рамки обязанностей пылесоса, умеющего объезжать препятствия.

Самыми распространенными будут роботы для работы по дому

Одним из факторов роста популярности потребительских роботов станут успехи в области искусственного интеллекта, в частности, способность обучаться.

Источник: Tractica

/23 ноя, 19:55/ автор: Accent (iXBT.com) сайт: www.ixbt.com

Компания Sony объявила о выпуске датчика изображения IMX323LQN. Он предназначен для промышленного применения и характеризуется повышенной чувствительностью в ближнем инфракрасном диапазоне. По техническим характеристикам новый датчик напоминает модель Sony IMX222LQJ, но существенно меньше ее по размеру. Это обусловлено использованием упаковки WLCSP (Wafer Level Chip Size Package) и хорошо видно на иллюстрации, где датчик IMX222LQJ находится слева, IMX323LQN — справа. Фактически, датчик удалось уменьшить в восемь раз (по объему). Его габариты равны 7,55 х 5,75 х 0,77 мм.

Датчик изображения Sony IMX323LQN имеет разрешение 2,19 Мп

Оптический формат нового датчика — 1/2,9 дюйма (6,23 мм по диагонали), разрешение — 2,19 Мп. Напомним, датчик IMX222LQJ характеризуется оптическим форматом 1/2,8 дюйма и разрешением 2,43 Мп. Размер пикселя не изменился и равен 2,8 мкм.

Датчик оснащен встроенным АЦП, поддерживающим 10- и 12-разрядный режимы. Максимальная кадровая частота равна 30 к/с (у прежней модели она выше — 40 к/с). Датчик предназначен для систем видеонаблюдения, работающих круглосуточно.

Источник: Sony

/23 ноя, 19:41/ автор: Accent (iXBT.com) сайт: www.ixbt.com

Источник обобщил сообщения о том, что владельцы смартфонов Google Nexus 6P столкнулись с новой проблемой. Напомним, некоторое время назад появилась информация о растрескивании стекол Nexus 6P, а еще чуть раньше «энтузиасту» удалось согнуть шестидюймовое устройство голыми руками. На этот раз жалобы касаются работы микрофона.

Google Nexus 6P

Как утверждается, некоторые пользователи Nexus 6P успели оказаться в ситуации, когда собеседник плохо слышал их голос во время телефонного звонка. Это касается как обычных звонков по сотовой сети, так и связи с помощью приложений VoIP. В некоторых случаях проблема проявлялась только в режиме громкой связи.

Как утверждается, компания Google осведомлена о проблеме и изучает ее.

Источник: GSM Arena

/23 ноя, 19:18/ автор: Accent (iXBT.com) сайт: www.ixbt.com

Компания Ambiq Micro представила два набора для разработчиков, желающих использовать в свих проектах микроконтроллеры Apollo.

Ключевая особенность ознакомительного набора Apollo EVB — интеграция встроенного аппаратного отладчика и SDK. В комплект входит FreeRTOS, все необходимые драйверы и примеры исходных текстов программ, что позволяет ознакомиться с возможностями аппаратного и программного обеспечения, быстро приступить к разработке и отладке.

Набор Apollo EVK включает плату EVB и две дочерние платы

Для питания достаточно подключить разъем microUSB на плате EVB кабелем к порту USB ПК или сетевому адаптеру, входящему в комплект. Возможно также питание от внешнего аккумулятора или блока питания. Перемычкой можно выбрать напряжение питания 2,0 или 3,3 В. Наличие раздельных шин питания микроконтроллера и периферийных устройств дает возможность использовать два раздельных источника.

На плате EVB есть кнопка сброса, три пользовательские кнопки, четыре пользовательских светодиода и отладочный светодиод. К четырем разъемам 2x14 контактов можно подключать дочерние платы или другие устройства.

Набор Apollo EVK включает плату EVB и две дочерние платы: одна добавляет поддержку Bluetooth Low Energy (BLE), другая — датчики.

На плате BLE находится контроллер Dialog Semiconductor DA14581 и антенна. На плате Sensor Expansion Card находятся акселерометры, гироскопы, магнетометр и 128 МБ флэш-памяти с последовательным интерфейсом для хранения данных.

По мнению производителя, наборы будут востребованы при разработке прототипов устройств носимой электроники и интернета вещей. Наборы Apollo EVB и Apollo EVK уже доступны для заказа по цене $249 и $299 соответственно.

Источник: Ambiq Micro

/23 ноя, 17:09/ автор: MPAK (iXBT.com) сайт: www.ixbt.com

Ассортимент компании HIS пополнили сразу два ускорителя Radeon R9 380X. Новинки называются R9 380X IceQ X² OC и R9 380X IceQ X² Turbo.

HIS представила 3D-карты R9 380X IceQ X2 OC и R9 380X IceQ X2 Turbo

Как ясно из названий, оба решения охлаждаются кулером IceQ X² с четырьмя тепловыми трубками и парой вентиляторов диаметром 86 мм. По предыдущим обзорам продукции HIS мы знаем, что со своей задачей данная СО справляется отлично.

Несмотря на хорошее охлаждение, никакого рекордного заводского разгона нет. Память объёмом 4 ГБ вовсе обходится стандартной частотой 5700 МГц. А вот GPU несколько разогнали: до 990 МГц в первом случае и до 1020 МГц во втором. Набор портов стандартный: два DVI, HDMI и DisplayPort. В конфигурацию Radeon R9 380X, напомним, входят 2048 потоковых процессора и 256-разрядная шина памяти.

/23 ноя, 16:12/ автор: MPAK (iXBT.com) сайт: www.ixbt.com

Компания BlackBerry, судя по всему, рассматривает возможность использования платформы Exynos 7420 в своём следующем смартфоне. Напомним, им может стать модель Vienna.

Если верить ПО GFXBench, некий аппарат компании с каталожным номером STV100-1 получит указанную SoC, дисплей QHD, а также 3 ГБ оперативной памяти, то есть однозначно будет позиционироваться в роли флагмана.

Смартфон BlackBerry STV100-1 получи SoC Exynos 7420

Диагональ экрана указана равной 5,1 дюйма, но ПО часто ошибается, так что этот параметр можно пока считать неизвестным. Из остального тест даёт возможность узнать о 32 ГБ флэш-памяти и камерах разрешением 16 и 5 Мп. В качестве ОС указана Android 5.1.1.

/23 ноя, 16:02/ автор: MPAK (iXBT.com) сайт: www.ixbt.com

Согласно сообщениям источников, компания HP объединила силы с Titan для создания линейки умных часов. Основными особенностями устройств будут используемые материалы и дизайн, хотя подробностей касательно этих моментов пока нет.

Якобы первые модели появятся в Индии ещё до конца текущего года, а чуть позже станут доступны и на других рынках. Судя по описанию, это будут механические часы с некоторыми функциями умных. Аналогичные, к примеру, производит Withings.

HP и Titan работают над умными часами

Индия выбрана основным рынком попросту потому, что Titan является совместным предприятием Tata Group и Tamil Nadu Industrial Development Corporation (TIDCO). Для HP же данный рынок вполне может стать отправной точкой в новый для себя сегмент. С другой стороны, вполне возможно, что большинство покупателей и не будут знать об участии американского бренда в разработке часов, как это было с MB Chronowing.

/23 ноя, 16:02/ автор: MPAK (iXBT.com) сайт: www.ixbt.com

Согласно сообщениям источников, компания HP объединила силы с Titan для создания линейки умных часов. Основными особенностями устройств будут используемые материалы и дизайн, хотя подробностей касательно этих моментов пока нет.

Якобы первые модели появятся в Индии ещё до конца текущего года, а чуть позже станут доступны и на других рынках. Судя по описанию, это будут механические часы с некоторыми функциями умных. Аналогичные, к примеру, производит Withings.

HP и Titan работают над умными часами

Индия выбрана основным рынком попросту потому, что Titan является совместным предприятием Tata Group и Tamil Nadu Industrial Development Corporation (TIDCO). Для HP же данный рынок вполне может стать отправной точкой в новый для себя сегмент. С другой стороны, вполне возможно, что большинство покупателей и не будут знать об участии американского бренда в разработке часов, как это было с MB Chronowing.

/23 ноя, 15:47/ автор: Accent (iXBT.com) сайт: www.ixbt.com

Специализирующаяся на встраиваемых системах компания Kontron представила новую модель семейства процессорных плат CompactPCI. Новинка, по сути, представляющая собой компьютер типоразмера 3U blade, называется CP3004-SA. На плате Kontron CompactPCI CP3004-SA может быть установлен четырехъядерный процессор Intel Core i7-5700EQ или двухъядерный процессор Intel Core i5-4410E или Intel Core i3-4112E. Четырехъядерный процессор подойдет для систем, где востребована повышенная производительность, а двухъядерные — где приоритет отдан меньшему энергопотреблению и тепловыделению.

Модульные компьютеры типоразмера CompactPCI используются преимущественно в промышленной автоматике и бортовых системах

Помимо процессора на плате находится чипсет QM87 и два слота для модулей памяти SODIMM DDR3L-1600 суммарным объемом до 16 ГБ. В оснащении CP3004-SA можно выделить три порта Gigabit Ethernet, порты USB 3.0, SATA 6 Гбит/с и RS-232. Возможно подключение твердотельного накопителя, жесткого диска, карты памяти CFast, карты расширения с интерфейсом PCI Express. Для подключения мониторов есть два выхода DisplayPort и один VGA.

Модульные компьютеры типоразмера CompactPCI используются преимущественно в промышленной автоматике и бортовых системах.

Источник: Kontron

/23 ноя, 15:47/ автор: MPAK (iXBT.com) сайт: www.ixbt.com

Сразу несколько источников опубликовали различную информацию о новом смартфоне Samsung. Он скрывается за каталожным номером SM-J105F и, предположительно, будет называться Galaxy J1 mini.

Это уже достаточно любопытно, так как и оригинальная модель по сегодняшним меркам относится к очень компактным решениям, располагая экраном диагональю 4,3 дюйма. Между тем, новая модификация получит четырёхдюймовый дисплей. Это можно узнать из данных сайта Zauba, тогда как ПО GFXBench указывает на диагональ 4,3 дюйма, но оно часто ошибается, в отличие от первого источника.

Samsung Galaxy J1 mini получит маленький экран

Samsung Galaxy J1 mini получит маленький экран
Samsung Galaxy J1 mini получит маленький экран

А вот остальные параметры, скорее всего, указаны верно. Разрешение дисплея — 800 х 480 пикселей. Сердцем служит четырёхъядерная SoC Spreadtrum SC8830, дополненная 1 ГБ оперативной и 8 ГБ флэш-памяти. Также смартфон получит камеры разрешением 5 и 0,3 Мп. О стоимости данных пока нет.

/23 ноя, 15:31/ автор: Accent (iXBT.com) сайт: www.ixbt.com

Минувший квартал был сравнительно успешным для компании E Ink Holdings (EIH), выпускающей электрофоретические экраны. После убыточного второго квартала был зафиксирован рост продаж на 23,8%, до 136,33 млн долларов. Однако, по словам производителя, следствием неблагоприятной обстановки в отрасли будет снижение дохода в текущем квартале.

Спрос на электрофоретические экраны падает

Одновременно с пессимистическим прогнозом на четвертый квартал производитель сообщил об уменьшении капиталовложений. Между тем, уже в третьем квартале капиталовложения были сокращены по сравнению со вторым на 15%.

В этой обстановке производитель ищет пути расширения сбыта электрофоретических экранов. В частности, продвигается идея использования электрофоретических экранов в бирках для багажа и других подобных изделиях. Ожидается, что спрос на «электронную бумагу» будет расти по мере расширения рынка носимой электроники и интернета вещей. Пока 60-70% всех выпускаемых экранов E Ink закупают производители электронных книг.

Источники: DigiTimes, EIH

/23 ноя, 15:29/ автор: MPAK (iXBT.com) сайт: www.ixbt.com

Череда сделок на рынке IT продолжается. Компания Cisco объявила о намерении приобрести лондонскую компанию Acano Limited, занимающуюся устройствами и ПО для видеоконференцсвязи.

По данным Cisco, менее 10% залов для совещаний оборудованы системами видеосвязи. Компания видит здесь огромный рынок. В частности, решения для данного сегмента в прошедшем квартале принесли компании на 17% больше дохода, нежели годом ранее.

Acano Limited переходит под крыло Cisco

По словам Cisco, клиенты компании ожидают внедрения новых технологий в существующие инфраструктуры. Технологии Acano должны выступить в данной ситуации своеобразным мостом и поспособствовать повышению возможностей Cisco по предоставлению услуг, касающихся облачных технологий и видеосвязи. Стоит отметить, что за последние пару лет это уже далеко не первое приобретение компании в данном сегменте.

Сделку, стоимость которой составляет 700 млн долларов, намерены закрыть в третьем квартале следующего года.

/23 ноя, 14:44/ автор: Accent (iXBT.com) сайт: www.ixbt.com

Компании Samsung Display и Apple ведут переговоры о долгосрочных поставках панелей OLED для смартфонов iPhone. Такими данными располагает источник, подкрепляющий их ссылкой на одного из руководителей верхнего звена, к сожалению, неназванного.

«Компания Samsung Display недавно возобновила переговоры с Apple о поставках дисплеев OLED небольшого размера для смартфонов iPhone, которые будут выпущены в ближайшие годы, по моему убеждению, около 2018 года», — приводит источник его слова.

Дисплеи OLED имеют многочисленные преимущества над жидкокристаллическими дисплеями, но и стоят они больше. Поэтому компания Apple, стремящаяся к максимальной прибыли, пока не использует OLED. Сейчас в смартфонах Apple используются жидкокристаллические дисплеи, однако в умных часах Watch компания Apple уже использует экраны OLED небольшого размера, закупая их у компании LG Display.

Samsung Galaxy S6 edge+

Дисплеи OLED производства Samsung Display используются во всех флагманских смартфонах Samsung Galaxy.

Источник: The Korea Times

/23 ноя, 14:40/ автор: MPAK (iXBT.com) сайт: www.ixbt.com

Не успели ещё потребители обсудить дизайн смартфона HTC One A9, как в Сети появились фотографии части корпуса нового аппарата Oppo.

Oppo копирует дизайн Apple iPhone для нового смартфона

Oppo копирует дизайн Apple iPhone для нового смартфона

Как можно видеть, в данном случае речь уже действительно о копировании. Причём ранее Oppo в таком замечена не была, да и производитель этот известен не только на китайском рынке. С другой стороны, мы уже видели нечто подобное в исполнении Lenovo, хотя новинка Oppo, если на снимках действительно она, будет похожа на детище Apple ещё больше.

Никаких технических данных о смартфоне нет. Можно отметить лишь тонкий корпус и достаточно большие габариты.

/23 ноя, 14:30/ автор: MPAK (iXBT.com) сайт: www.ixbt.com

Кроме новых моделей ноутбуков линейки N, компания Asus анонсировала тройку новинок линейки X: X456 X556, X756. Как всегда, по первой цифре легко догадаться о диагонали дисплея. Она составляет, соответственно, 14, 15,6 и 17,3 дюйма.

Asus представила ноутбуки X456 X556, X756

Параметры устройств очень схожи. Они все основаны на новых процессорах Intel Skylake. Список доступных CPU таков: Core i3-6100U, Core i5-6200U и Core i7-6500U. Максимальный объём оперативной памяти достигает 12 ГБ (16 ГБ у самой большой версии). Для хранения данных могут быть использованы как HDD, так и SSD.

Asus представила ноутбуки X456 X556, X756

Разрешение дисплея у младшей модели составляет 1366 х 768 пикселей. Модель X556 может быть оснащена экранами разрешением 1366 х 768 либо 1920 х 1080 пикселей, а самый крупный ноутбук — 1600 х 900 либо 1920 х 1080 пикселей. В зависимости от модификации, покупатель получит ноутбук либо с видеокартой GeForce GTX 940M, либо только с интегрированным решением Intel. Из остального можно отметить оптический привод, адаптеры беспроводных интерфейсов, камеру разрешением 0,3 Мп, а также порты USB 2.0, USB 3.0 (два у модели X756), USB C, Ethernet, VGA (нет у X756) и HDMI. Габариты ноутбуков от меньшего к большему составляют 348 х 243 х 25,3 мм при массе 2,1 кг, 382 х 258 х 25,5 мм при массе 2,3 кг и 415 х 273 х 30 мм при массе 2,7 кг.

/23 ноя, 14:28/ автор: Accent (iXBT.com) сайт: www.ixbt.com

На сайте KickStarter идет сбор средств на выпуск крошечного модуля RedBear Duo, который, по замыслу его создателей, упростит разработку устройств интернета вещей. Сбор продвигается вполне успешно: при цели в $20 000 на момент подготовки новости собранная сумма перевалила за $46 000. Кстати, при условии достижения отметки $50 000 разработчики обещают добавить поддержку Python, а если сумма превысит $100 000, будет добавлена возможность обновления встроенного ПО по беспроводному подключению.

В Duo используется чипсет Broadcom BCM43438

Модуль, совместимый с Arduino, поддерживает Wi-Fi и Bluetooth Low Energy (BLE), и доступен через облако. По словам разработчиков, RedBear Duo хорошо подходит как для создания прототипов, так и для интеграции в окончательный вариант изделия. Помимо модуля, доступна плата RBLink для подключения дополнительных датчиков и модулей.

В Duo используется чипсет Broadcom BCM43438, соответствующий требованиям спецификаций Wi-Fi 802.11b/g/n и Bluetooth 4.1. Оба интерфейса могут работать одновременно, используя общую антенну. Помимо этого, на плате размерами 20,5 x 39 мм расположена однокристальная система STMicroelectronics STM32F205 (ARM Cortex-M3, 120 МГц, 128 КБ SRAM и 1 МБ флэш-памяти), 16 Мбит флэш-памяти с интерфейсом SPI. Оснащение модуля включает разъем для внешней антенны, 18 линий ввода-вывода, многоцветный светодиодный индикатор.

Для программирования RedBear Duo можно использовать платформы IDE Arduino, Particle Web IDE, Dev и CLI. Кроме того, будет доступен интерпретатор JavaScript. Есои необходим низкоуровневый доступ, его можно получить с помощью Broadcom WICED SDK. Благодаря сотрудничеству с Particle, каждый экземпляр Duo обеспечивается неограниченным по времени бесплатным доступом к облачному сервису Cloud в случае некоммерческого использования.

Источник: KickStarter

/23 ноя, 14:26/ автор: Accent (iXBT.com) сайт: www.ixbt.com

Не секрет, что на подходящих для него задачах специализированный аппаратный ускоритель оказывается эффективнее универсального процессора. Этим пользуются разработчики сетевого оборудования, профессиональных средств для работы с видео и других решений, где востребована высокая производительность при узкой специализации. В свою очередь, специализированные ускорители зачастую реализуются силами программируемых вентильных матриц (FPGA). Открыть доступ к этой технологии широкому кругу энтузиастов электроники решили специалисты компании Alorium Technology, разработавшие плату XLR8.

Плата XLR8 является полной заменой Arduino Uno

Плата XLR8 является полной заменой Arduino Uno, но в ней используется не микроконтроллер Atmel ATmega328, а его копия, реализованная в FPGA Altera MAX10. Использование FPGA позволяет добавлять собственные блоки для ускорения тех или иных функций, для которых возможностей обычного микроконтроллера ATmega328 недостаточно (на клон ATmega328 расходуется примерно половина ресурсов указанной FPGA). Важно, что при этом не только сохранятся габариты платы и расположение выводов, но и можно использовать привычный набор программных инструментов для Arduino Uno. Библиотека блоков подготовлена Alorium, но разработчики с достаточной квалификацией смогут реализовывать и собственные блоки.

Сейчас на сайте KickStarter идет сбор средств на выпуск платы. Из заявленной цели в $50 000 собрано почти $10 000, причем первые участники могли получить плату всего за $50. Сбор средств завершится через неделю, так что маловероятно, что желаемую сумму удастся собрать.

Источники: Alorium Technology, KickStarter

/23 ноя, 13:01/ автор: Accent (iXBT.com) сайт: www.ixbt.com

Ассортимент Epson пополнился двумя моделями цветных печатающих устройств формата А4, к отличительным особенностям которых производитель относит поддержку технологии NFC для автоматического подключения мобильных устройств и функцию конфиденциальной печати, при которой для выполнения задания необходимо ввести на панели управления устройства четырехзначный код. Речь идет о принтере Epson WorkForce Pro WF-6090DW и МФУ Epson WorkForce Pro WF-6590DWF.

Цветной принтер Epson WorkForce Pro WF-6090DW и МФУ Epson WorkForce Pro WF-6590DWF рассчитаны на печать до 65 000 страниц в месяц

В устройствах серии Epson WorkForce Pro используется технология струйной печати, для которой характерна низкая себестоимость — по словам производителя, меньшая, чем у аналогичных цветных лазерных аппаратов. Кроме того, струйные принтеры потребляют меньше электроэнергии, чем лазерные.

Печатающая головка Epson PrecisionCore, используемая в устройствах серии Epson WorkForce Pro, рассчитана на высокие нагрузки, позволяя печать до 65 000 страниц в месяц. Скорость цветной печати достигает 34 страниц в минуту, а время выхода первой страницы составляет всего 7 секунд. Раздельных картриджей повышенной емкости хватает на 10 000 черно-белых страниц и 7 000 цветных. Пигментные чернила Epson DURABrite Ultra, специально разработанные для печати на обычной офисной бумаге, обеспечивают четкий текст и яркие насыщенные цвета. К достоинствам пигментных чернил относится водостойкость. Кроме того, отпечатки не выцветают под действием солнечного света. Разрешение печати составляет 4800 х 1200 точек на дюйм.

Принтер Epson WorkForce Pro WF-6090DW и МФУ Epson WorkForce Pro WF-6590DWF поддерживают автоматическую двустороннюю печать. Их оснащение включает порт USB и модуль Wi-Fi с поддержкой функции Wi-Fi Direct для прямой печати с мобильных устройств и ноутбуков.

Источник: Epson

/23 ноя, 12:36/ автор: Accent (iXBT.com) сайт: www.ixbt.com

По данным представителей отрасли, на которых ссылается источник, компания Huawei Device в 2016 году сменит основного поставщика дисплеев для мобильных устройств. Предполагается, что это позволит китайскому производителю уменьшить затраты на выпуск смартфонов среднего и верхнего ценового диапазона.

Представлен смартфон Huawei P8

Отраслевые источники утверждают, что снижение цен стало ключевой стратегией Huawei, которая помогла компании нарастить поставки на рынках за пределами Китая.

До настоящего времени компания Huawei полагалась на панели производства Japan Display (JDI), но ожидается, что в 2016 году большая часть заказов будет передана Samsung Display. Помимо желания сэкономить, одной из причин была названа растущая зависимость JDI от заказов Apple.

Источник: DigiTimes

/23 ноя, 12:21/ автор: Accent (iXBT.com) сайт: www.ixbt.com

Компания Google недавно начала распространение обновления Android 6.0.1 Marshmallow. Пока обновление доступно только для устройств, выпущенных по программе Android One.

Обновление исправляет ошибки и повышает стабильность работы ОС

Учитывая, что от базовой версии обновление отличается единичкой в младшем разряде номера, ждать каких-либо нововведений не стоит. В основном обновление исправляет ошибки и повышает стабильность работы ОС.

Источники: GSM Arena, LlabTooFeR

/23 ноя, 11:47/ автор: Accent (iXBT.com) сайт: www.ixbt.com

Компания Active-Semi расширила ассортимент микросхем для подсистем питания, добавив в него семейство контроллеров преобразователей постоянного тока ACT452x. К общим чертам этих микросхем относится поддержка USB Type-C, USB-PD и Qualcomm Quick Charge 2.0/3.0. Используя одну микросхему ACT4525/26/27/28 или ACT4529, можно построить цепь, рассчитанную на мощность до 36 Вт. По оценке производителя, высокая степень интеграции позволяет уменьшить размеры печатной платы на 40% и снизить стоимость решений за счет наличия встроенных функций автоматического определения возможностей USB и декодирования сигнала QC 2.0. Микросхемы семейства ACT452x также могут работать вместе с дополнительными коммутаторами нагрузки.

Микросхемы семейства ACT452x также могут работать вместе с дополнительными коммутаторами нагрузки

Областями применения новых микросхем названы автомобильные зарядные устройства, подсистемы питания мобильных устройств и ноутбуков, а также подключаемые к ним периферийные устройства.

Источник: Active-Semi

/23 ноя, 11:36/ автор: Accent (iXBT.com) сайт: www.ixbt.com

Компания Ambiq Micro объявила о начале серийных поставок микроконтроллеров Apollo. Эти микроконтроллеры интересны очень низким энергопотреблением. По результатам теста EEMBC ULPBench, воспроизводящего сценарии работы микроконтроллеров в реальной жизни, Apollo потребляет вдвое меньше электроэнергии по сравнению с конкурирующими решениями. Ток в активном режиме составляет 34 мкА/МГц, ток в спящем режиме — менее 150 нА.

Основой микроконтроллера Apollo служит ядро ARM Cortex-M4 с блоком вычислений с плавающей запятой

Основой микроконтроллера служит ядро ARM Cortex-M4 с блоком вычислений с плавающей запятой. Доступны разновидности, имеющие от 64 до 512 КБ встроенной флэш-памяти. Оснащение также включает 10-разрядный АЦП и последовательные интерфейсы. Доступны варианты упаковки BGA и WLCSP. Цена Apollo — от $1,5 за штуку в партиях от 10 000 штук.

Источник: Ambiq Micro

/23 ноя, 11:33/ автор: MPAK (iXBT.com) сайт: www.ixbt.com

В отличие от всех остальных партнёров AMD, компания XFX решила не размениваться по мелочам и представила сразу семь модификаций видеокарты Radeon R9 380X. Правда, совершенно неясно, чем большинство из них друг от друга отличается.

XFX представила карты Radeon R9 380X

Если оставить в стороне каталожные номера, получится только две модификации новинки: Radeon R9 380X DD Black Edition OC и Radeon R9 380X DD XXX OC. Они выглядят идентично и располагают одинаковыми СО. Частоты первой карты составляют 1030 МГц для GPU и 5800 МГц для памяти, тогда как вторая работает на частотах 990 МГц и 5700 МГц соответственно.

Набор портов представлен парой DVI, HDMI и DisplayPort. Ознакомиться с особенностями первой из указанных модификаций можно из нашего свежего обзора.

/23 ноя, 11:16/ автор: Accent (iXBT.com) сайт: www.ixbt.com

Аналитики компании TrendForce подвели предварительные итоги текущего года на рынке смартфонов. По их подсчетам, всего за 2015 год будет отгружено 1,286 млрд смартфонов. Этот показатель соответствует росту рынка по сравнению с прошлым годом на 9,7%.

При этом суммарный объем поставок, обеспечиваемый китайскими производителями, за год вырос на 14,5%. В результате их доля на мировом рынке достигла 41%.

Всего за 2015 год будет отгружено 1,286 млрд смартфонов, полагают аналитики TrendForce

По прогнозу специалистов TrendForce, рост рынка продолжит замедляться. Раньше он выражался двухзначными числами. В этом году рост впервые стал меньше 10%, а в 2016 году он уменьшится до 7,3%. Всего за год будет отгружено примерно 1,4 млрд смартфонов. При этом основными тенденциями останутся рост доли китайских производителей и усиление борьбы на быстрорастущих рынках, таких как индийский.

Лидерство на рынке в 2016 году сохранит Samsung, но доля этой компании уменьшится под натиском китайских конкурентов до 22%. Компания Apple сможет сократить отставание от Samsung. Во втором квартале Apple выпустит четырехдюймовую модель серии iPhone C, а во втором полугодии — следующее поколение смартфонов (iPhone 7). Основными новшествами модели с экраном размером 5,5 дюйма будет наличие 3 ГБ оперативной памяти и водонепроницаемое исполнение. Доля Apple на рынке смартфонов в 2016 году составит 18,5%.

Источник: TrendForce

/23 ноя, 10:58/ автор: Accent (iXBT.com) сайт: www.ixbt.com

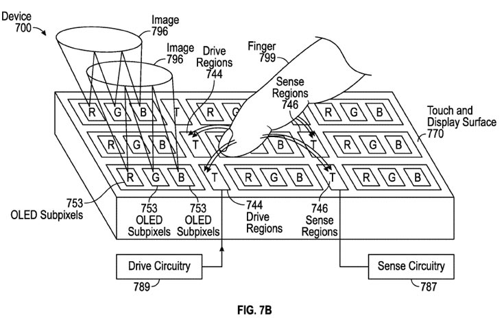
В базе данных американского патентного ведомства появилась интересная заявка на патент. Заявка №20150331508, поданная в мае прошлого года, называется «Дисплей кремний-OLED со встроенным сенсорным экраном».

Сенсорный экран, встроенный в панель OLED, можно использовать как дактилоскоп

В заявке описан дисплей, основой которого служит кремниевая подложка. На ней сформирован массив транзисторов, один или несколько слоев металлизации, одно или несколько межслойных соединений, слои OLED, цветные фильтры, сенсорные датчики и дополнительные компоненты и цепи. В числе прочих дополнительных компонентов и цепей упомянуты средства защиты от электростатического разряда, коммутаторы, фотодиоды и детектор, работающий в ближней инфракрасной области. По замыслу изобретателей, эти и другие компоненты позволят использовать дисплей кремний-OLED со встроенным сенсорным экраном для формирования изображения объектов в ближнем поле, сенсорного ввода с оптическим наведением и дактилоскопического ввода. В некоторых случаях несколько сенсорных датчиков и пикселей экрана можно объединять в группы, которые коммутируются коммутатором для динамического изменения разрешения сенсорного экрана и/или дисплея.

Источник: USPTO

/23 ноя, 10:45/ автор: Jin (iXBT.com) сайт: www.ixbt.com

Как сообщает «Коммерсантъ», ссылаясь на хорошо проинформированный источник, совет Евразийской экономической комиссии рассмотрит вариант значительного повышения налогов при покупке товаров в иностранных онлайновых магазинах.

Источник утверждает, что комиссия будет решать, стоит ли вводить новый налог с размере €15 на все посылки из-за рубежа массой от 1 до 10 кг, которые оценены от €22 до €150. Иностранные товары массой более 10 кг и/или ценой более €150 могут обложить налогом в размере €15 + 30% от таможенной стоимости, но не менее €4 за 1 кг.

Предложена и другая схема, которая также подлежит рассмотрению, отличается от первого варианта она незначительно. Для товаров массой не более 10 кг и ценой не выше €150 предлагается ввести налог €10. Посылки, которые будут выходить за обозначенные рамки, будут облагаться налогом €10 + 30% от таможенной стоимости, но не менее €4 за 1 кг.

«Коммерсантъ» пишет, что, по задумке инициаторов введения налога, это поможет российским онлайновым магазинам более успешно конкурировать с AliExpress и eBay. Напомним, 60% продаж AliExpress приходится на Россию, Казахстан, Украину и Белоруссию. В прошлом году, по данным East-West Digital News, около 15 млн россиян покупали что-то в онлайне из-за рубежа, половина из них совершали покупки в Китае.

На сегодняшний момент жители России могут покупать товары в иностранных онлайновых магазинов массой до 31 кг и ценой до €1000 в месяц, не оплачивая налоги. Если новый закон вступит в силу, то границы беспошлинных покупок сузятся до 1 кг и €22.

Посылки из зарубежных онлайновых магазинов вновь предлагают обложить большими налогами

В прошлом году чиновники уже предлагали снизить порог до €150, однако против этого проголосовали в онлайне более 100 тыс. россиян, после чего обсуждение прекратилось.

/23 ноя, 10:40/ автор: Accent (iXBT.com) сайт: www.ixbt.com

Система доступа к учетной записи в онлайновом магазине Amazon, ранее построенная на проверке имени пользователя и пароля, стала более защищенной — в настройках появилась возможность включить двухфакторную аутентификацию.

Повышение степени защиты Amazon выглядит желанным усовершенствованием

Учитывая, что пользователь может сохранить в Amazon данные платежной карты, повышение степени защиты выглядит желанным усовершенствованием.

После включения соответствующей опции вход становится двухступенчатым: после ввода пароля система направляет код подтверждения, который необходимо ввести на втором этапе, в SMS на телефонный номер или сообщении для специального приложения.

Источник: Amazon

/23 ноя, 10:31/ автор: Accent (iXBT.com) сайт: www.ixbt.com

Компания Freescale Semiconductor продемонстрировала уровень квалификации своих специалистов и технические возможности полупроводникового производства, изготовив необычное изделие. Из полупроводниковой пластины диаметром 300 мм с помощью технологий полупроводникового производства был изготовлен аналог виниловой пластинки с аналоговой звукозаписью.

Специалисты Freescale Semiconductor изготовили аналог виниловой пластинки

Группа инженеров Freescale, работавших над проектом в Freescale Discovery Lab, разработала программу, преобразовавшую файл звукозаписи в маску для литографии, необходимую для формирования рельефа на поверхности пластины. Маска была передана на фабрику Freescale Oak Hill Technology Fab, где и была изготовлена пластинка, рассчитанная на воспроизведение со скоростью 45 об/мин.

Подразделение Freescale Discovery Lab появилось в компании в 2013 году. Его задача — способствовать инновациям. Сотрудники компании могут направлять туда свои идеи, и если идея принимается, в Discovery Lab ее воплощают на практике для проверки работоспособности. За первый год работы в Discovery Lab поступило более 200 идей.

Производитель уточняет, что не планирует выводить необычную технологию изготовления пластинок на рынок. Проект служит лишь демонстрацией возможностей компании.

Источник: Freescale Semiconductor

/23 ноя, 10:14/ автор: Jin (iXBT.com) сайт: www.ixbt.com

Как сообщает The Wall Street Journal, известный китайский производитель компания ZTE занимается разработкой защищенного от прослушивания и взлома смартфона для правительственных агентств.

Устройство будет оснащено процессором китайского производства, а также проприетарной операционной системой. Источник добавляет, что смартфон будет уметь выполнять только базовые функции, необходимые для работы. В нем не будет камеры, а также модулей GPS, Wi-Fi и Bluetooth, что, по мнению создателей, должно свести к минимуму риск взлома подобного устройства. А это должно сделать устройство идеальным для всех, кто работает в аппарате управления страны. Правда, при подобной функциональности называть его смартфоном как-то странно.

Слух: ZTE делает защищенный от прослушивания смартфон по заказу китайского правительства

В данный момент тема цифровой безопасности является очень актуальной, пишет источник, поэтому правительство Китая всячески старается использовать только технологии и разработки местных компаний, планируя отказываться от иностранных решений.

/23 ноя, 09:46/ автор: Jin (iXBT.com) сайт: www.ixbt.com

Еще в 2012 году компания Origin PC представила ноутбук EON17-X3D, который оснащался парой видеокарт GeForce GTX 580M. Затем производитель несколько раз обновлял модель, сначала оснастив его парой парой ускорителей GeForce GTX 680M, а затем — двумя GeForce GTX 780M.

Обновленный ноутбук Origin EON17-SLX получил настольную видеокарту GeForce GTX 980

В очередной раз обновленная модель EON17-SLX может предложить пользователям в максимальной комплектации настольную видеокарту GeForce GTX 980 с 8 ГБ памяти или пару мобильных ускорителей GeForce GTX 980M в режиме SLI с суммарным объемом памяти 16 ГБ. На выбор доступны четыре модели процессоров, старшая — Intel Core i7 6700K с частотой 4 ГГц (до 4,2 ГГц в режиме TurboBoost).

Максимальный объем оперативной памяти составляет 32 ГБ, но уже в ближайшее время будет доступен вариант с 64 ГБ оперативной памяти. Дисплей IPS диагональю 17,3" имеет разрешение 1080р, он поддерживает технологию Nvidia G-Sync. Пользователь может оснастить ноутбук двумя накопителями типоразмера 2,5" суммарной емкостью 4 ТБ. Ноутбук оснащен портом USB 3.1 Type-C, сканером отпечатков пальцев, а также модулями Killer Wireless AC 1535 Dual Band + BT и Intel PRO Wireless AC 7265 + BT Wireless LAN Combo.

Обновленный ноутбук Origin EON17-SLX получил настольную видеокарту GeForce GTX 980

Габариты ноутбука составляют 42,6 х 30,5 х 4,6 см, масса — 4,8 кг. Цена Origin EON17-SLX стартует с отметки $1999, однако в максимальной комплектации его цена увеличится более чем втрое, в продажу ноутбук поступит в декабре.

/23 ноя, 09:30/ автор: MPAK (iXBT.com) сайт: www.ixbt.com

Компания Asus представила два новых ноутбука линейки N: N552 и N752. Как и многие предыдущие модели этой линейки, новинки могут похвастаться металлическими корпусами и качественной звуковой системой.

Как несложно догадаться, первая модель располагает экраном диагональю 15,6 дюйма, а вторая 17,3 дюйма. В основе обеих новинок лежат процессоры Intel Core Skylake. У большего ноутбука пока нет отдельной страницы на сайте, а для меньшего в списке присутствуют CPU Core i5-6300HQ и Core i7-6700HQ.

Asus представила ноутбуки N552 и N752

Что касается экранов, для модели N552 доступны панели разрешением 1366 х 768, 1920 х 1080 и 3840 х 2160 пикселей. Среди модификаций будут ноутбуки с матрицами TN и IPS. Оперативной памяти предусмотрено 8 либо 16 ГБ, а в списке накопителей, которые могут быть установлены в аппарате, присутствуют HDD объёмом до 2 ТБ и SSD объёмом до 512 ГБ, причём, как модели с интерфейсом SATA, так и с PCIe. В конфигурацию также входит дискретная видеокарт GeForce GTX 950M либо GTX 960M.

Asus представила ноутбуки N552 и N752

Набор портов представлен тремя USB 3.0 и одним USB C 3.1. Присутствуют Gigabit Ethernet, HDMI и DisplayPort. Из остального можно отметить акустическую систему Bang & Olufsen, привод DVD либо Blu-Ray, а также габариты 383 х 260 х 9,9 мм при массе 2,53 кг.

О модели N752 подробностей нет, но, скорее всего, её параметры практически аналогичны меньшему устройству.

/23 ноя, 09:20/ автор: Jin (iXBT.com) сайт: www.ixbt.com

Компания Microsoft на прошлой неделе выпустила в Google Play приложение AppComparison, которое расскажет, какие из установленных на вашем смартфоне приложений доступны в Windows Phone Store.

В Microsoft уверены, что многие пользователи не хотят переходить на Windows 10 Mobile, считая, что на мобильной операционной системе от Microsoft наблюдается нехватка различных приложений. Если пользователи увидят, что в Windows Phone Store представлены все приложения, которые установлены на их смартфоне, то это может подтолкнуть их к к переходу на Windows 10 Mobile — опять же, так считают маркетологи компании.

В том случае, если в Windows Phone Store отсутствуют какие-то приложения, установленные на вашем смартфоне, AppComparison предложит различные аналоги, которые доступны на Windows 10 Mobile.

Выпущенное Microsoft приложение AppComparison должно убедить пользователей Android перейти на Windows 10 Mobile

Приложение AppComparison было выпущено одновременно с началом американских продаж флагманского смартфона Lumia 950, который работает под управлением Windows 10 Mobile.

/23 ноя, 09:01/ автор: Jin (iXBT.com) сайт: www.ixbt.com

В конце прошлой недели в продажу поступило второе поколение шлема виртуальной реальности Samsung Gear VR. Шлем, который стоит $99,99, совместим с флагманскими смартфонами Samsung: Galaxy Note 5, Galaxy S6 edge+, Galaxy S6 и Galaxy S6 edge.

Однако те, кто не оформил предварительный заказ на Samsung Gear VR, столкнулись со сложностями в приобретении устройства. Шлем моментально раскупили в популярных онлайновых магазинах Amazon и Best Buy, где в статусе товара и сейчас висят сообщения «временно отсутствует на складе» и «продано».

Пресс-атташе Samsung сделал следующее заявления по этому поводу: «Мы очень рады позитивным отзывам в адрес Samsung Gear VR от профильных изданий и первых владельцев устройства. Мы делаем все для того, чтобы как можно быстрее выполнить все заказы».

Напомним, масса Samsung Gear VR составляет 318 г, его габариты равны 201,9 x 116,4 x 92, 6 мм, угол обзора устройства составляет 96°. Также в шлеме использована более чувствительная сенсорная панели, которая, как и раньше, распознает прикосновения и смахивания.

Шлем Samsung Gear VR быстро раскупили на Amazon и Best Buy

В начале декабря в Oculus Store для Samsung Gear VR будут доступны более 25 совершенно новых игр и приложений, включая Eve: Valkyrie, Gunjack и Mortal Blitz VR.

/23 ноя, 09:00/ автор: MPAK (iXBT.com) сайт: www.ixbt.com

Данные ресурса Geekbench подтвердили раннюю информацию о том, что смартфон Samsung Galaxy A9 получит однокристальную систему Snapdragon 620.

Смартфон Samsung Galaxy A9 получит мощную SoC

Благодаря ей аппарат в данном тесте способен набрать 1446 баллов в однопоточном режиме и 4134 в многопоточном. Напомним, в конфигурацию новой SoC Qualcomm войдёт четыре процессорных ядра Cortex-A72 и четыре Cortex-A53, что сделает её очень производительной. Правда, GPU Adreno 510 вряд ли позволит поставить её в один ряд со Snapdragon 810 или Exynos 7420, но она и ориентирована на средний сегмент.

С учётом того, что данные Geekbench совпадают с информацией AnTuTu, Galaxy A9, скорее всего, получит 3 ГБ ОЗУ и дисплей Full HD.

/23 ноя, 08:30/ автор: MPAK (iXBT.com) сайт: www.ixbt.com

Порой создаётся ощущение, что у компании Oppo просто не бывает бюджетных смартфонов с адекватными, по сравнению с ближайшими конкурентами, параметрами и ценой. Очередная новинка, названная A33 — лишнее тому подтверждение.

Смартфон Oppo A33 стоит слишком дорого для своих характеристик

Достаточно сказать, что аппарат оснащается платформой Snapdragon 410 и пятидюймовым экраном разрешением 960 х 540 пикселей, но стоит при этом $235. Каким образом компания умудрилась при такой ценовой политике в прошлом году реализовать более 50 млн смартфонов, остаётся загадкой.

Смартфон Oppo A33 стоит слишком дорого для своих характеристик

Так или иначе, модель A33 также оснащается 2 ГБ оперативной памяти, 16 ГБ флэш-памяти, камерами разрешением 8 и 5 Мп и АКБ ёмкостью 2400 мА•ч. Габариты смартфона равны 142,7 х 71,7 х 7,55 мм. Работает он под управлением Android 5.1 с фирменной оболочкой ColorOS 2.1.

/23 ноя, 08:15/ автор: MPAK (iXBT.com) сайт: www.ixbt.com

Несколько дней назад ресурс DigiTimes сообщил о том, что Sony заинтересована в разработке собственной однокристальной системы для смартфонов, что могло бы помочь производителю повысить конкурентоспособность своей продукции.

Sony отрицает наличие планов по выпуску собственной SoC

Как оказалось, никаких подобных планов у японского производителя нет. По крайней мере, так заявил лично глава Sony Кадзуо Хирай (Kazuo Hirai) в интервью источнику. Конечно, не всегда компании охотно делятся своими секретами и порой их представители откровенно лгут, но оснований уличать в этом Хараи всё равно нет.

К слову, глава Sony также в очередной раз заявил, что компания не собирается избавляться от своего мобильного подразделения.

/23 ноя, 07:50/ автор: MPAK (iXBT.com) сайт: www.ixbt.com

О судебных разбирательствах Jawbone мы писали уже не раз. Как оказалось, они могут быть связаны с проблемами в компании.

Возможно, производитель различной носимой электроники испытывает финансовые трудности. Как сообщается, несколько дней назад компания уволила около 60 сотрудников, что составляет 15% штата. Кроме этого, был закрыт офис в Нью-Йорке, ответственный за маркетинг.

Jawbone сократила штат на 15%

Сама Jawbone заявляет, что просто рационализирует свой бизнес, дабы больше сосредоточиться на НИОКР. К слову, летом производитель уже проводил сокращения, уволив 20 человек.

/23 ноя, 07:30/ автор: MPAK (iXBT.com) сайт: www.ixbt.com

Некоторые крупные компании уже достаточно давно проводят испытания дронов за пределами США, так как на данный момент Федеральное управление гражданской авиации США (FAA) жёстко ограничивает их свободу.

Компания Intel зачастую не ассоциируется с теми, кто активно работает в этом направлении. Однако процессорный гигант также занят разработками технологий, связанных с дронами. Можно вспомнить и недавние инвестиции в Yuneec. И именно Intel, как сообщает источник, заявила о намерении перенести все свои операции в данном сегменте за пределы США. Причём, в данном случае речь даже не об испытаниях, а о разработках, исследовании и развитии технологий.

Intel жалуется на излишнюю строгость FAA

Intel жалуется на излишне строгий подход правительства ко всем вопросам, которые связаны с коммерческим использованием дронов. Более того, упоминаются даже проблемы с размещением нового оборудования и создании нового ПО. Ранее нам такая информация не встречалась, поэтому не совсем ясно, какое противодействие испытывает Intel.

Так или иначе, данные источника позволяют узнать о том, что даже лидер процессорного рынка активно работает в данном сегменте.

/23 ноя, 07:00/ автор: Accent (iXBT.com) сайт: www.ixbt.com

Показанные на иллюстрациях изделия появились в ассортименте словенской компании EK Water Blocks, специализирующейся на выпуске компонентов СВО. Одна новинка представляет собой резервуар, устанавливаемый в два отсека типоразмера 5,25 дюйма, а другая — такой же резервуар с помпой Laing D5 PWM.

Резервуары EK-DBAY D5 PWM MX – Acetal и EK-DBAY D5 PWM MX – Plexi стоят по 65 евро

Доступны разновидности с корпусом из черного и прозрачного пластика.

Резервуары EK-DBAY D5 PWM MX – Acetal и EK-DBAY D5 PWM MX – Plexi стоят по 65 евро

Отверстие с резьбой G3/8" в верхней части служит для заправки. Три отверстия G1/4" сзади используются как входы и выходы, четвертое, расположенное снизу, предназначено для слива.

Резервуары EK-DBAY D5 PWM MX – Acetal и EK-DBAY D5 PWM MX – Plexi стоят по 65 евро

Резервуары EK-DBAY D5 PWM MX – Acetal и EK-DBAY D5 PWM MX – Plexi стоят по 65 евро.

Резервуары EK-DBAY D5 PWM MX – Acetal и EK-DBAY D5 PWM MX – Plexi стоят по 65 евро

Резервуары с помпами стоят по 130 евро.

Источник: EK Water Blocks

/23 ноя, 07:00/ автор: MPAK (iXBT.com) сайт: www.ixbt.com

Компания Gigabyte также анонсировала свою карту Radeon R9 380X. Ускоритель с каталожным номером GV-R938XG1 GAMING-4GD относится к линейке G1 Gaming.

Gigabyte представила карту Radeon R9 380X

Модель Gigabyte не может похвастаться сколько-нибудь существенным разгоном. Память объёмом 4 ГБ работает на стандартной частоте 5700 МГц, а GPU получил прибавку лишь 100 МГц. Несмотря на это, устройство получило вполне соответствующую своему уровню систему охлаждения WindForce 2X с тремя тепловыми трубками и парой крупных вентиляторов. Тыльную сторону прикрывает металлическая пластина.

Набор портов ничем не отличается от остальных: пара DVI, HDMI и DisplayPort. Длина адаптера составляет 221 мм, так что проблем с установкой не будет. Напомним, в конфигурацию карты входят 2048 потоковых процессоров и 256-разрядная шина памяти.

Поиск по сайту
Обратная связь
Разработчикам
Реклама на сайте

Политика конфиденциальности
Пользовательское соглашение

 

Filebox.ru каталог архив программного обеспечения для Windows, работает с 2003 года.
Copyright © 2003-2026 Filebox.ru All Rights Reserved.

Яндекс.Метрика